Руководство по ремонту кузоваEvanda ГАБАРИТНЫЕ РАЗМЕРЫ КУЗОВАК началу документа
Evanda
На предыдущую страницуНа следующую страницу
Главная страница GMDEЗагрузить нединамическое оглавлениеЗагрузить динамическое оглавлениеПомощь

ГАБАРИТНЫЕ РАЗМЕРЫ КУЗОВА

ЧЕРТЕЖ КУЗОВА

НИЖНЯЯ ЧАСТЬ КУЗОВА


8_1
Показать иллюстрациюПеревод текста в иллюстрациях


ПЕРЕДНЯЯ РАМА

8_2
Показать иллюстрациюПеревод текста в иллюстрациях


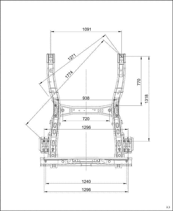
ЗАДНЯЯ РАМА

8_3
Показать иллюстрациюПеревод текста в иллюстрациях


ПЕРЕДНЯЯ ПАНЕЛЬ


8_4
Показать иллюстрациюПеревод текста в иллюстрациях


МОТОРНЫЙ ОТСЕК


8_5
Показать иллюстрациюПеревод текста в иллюстрациях



8_6
Показать иллюстрациюПеревод текста в иллюстрациях



8_7
Показать иллюстрациюПеревод текста в иллюстрациях


НИЖНЯЯ ПАНЕЛЬ ЗАДКА


8_8
Показать иллюстрациюПеревод текста в иллюстрациях


НАРУЖНАЯ СТОРОНА


8_9
Показать иллюстрациюПеревод текста в иллюстрациях


ВЕТРОВОЕ И ЗАДНЕЕ СТЕКЛО


8_13
Показать иллюстрациюПеревод текста в иллюстрациях


КАРТА ЗАЗОРОВ


8_15
Показать иллюстрациюПеревод текста в иллюстрациях


Описание
Решетка радиатора
x Бампер
Капот двигателя
x Решетка радиатора
Капот двигателя
x Бампер
Капот двигателя
x Фара
Фара
x Бампер
Местонахождение
A
B
C
D
E
Зазор
5.0 (+2.0, 0)
-
5.0 (+2.0, 0)
4.5 (+1.0, -0.5)
3.5 ± 1.0
Описание
КРЫЛО
x Фара
КРЫЛО
x Бампер
КРЫЛО
x Капот двигателя
Крышка багажника
x Бампер
Крышка багажника
x Cтоп-сигнал
Местонахождение
F
G
H
R
S
Зазор
3.5 ± 1.0
0
3.0 (+0.1, -0.5)
5.0 (+2.0, 0)
3.8 (+1.0, 0)
Описание
НАРУЖНАЯ СТОРОНА
x Крышка багажника
НАРУЖНАЯ СТОРОНА
x Cтоп-сигнал
Cтоп-сигнал
x Бампер
НАРУЖНАЯ СТОРОНА
x Бампер
Крышка багажника
x Задняя декоративная накладка
Местонахождение
T
U
V
W
X
Зазор
3.0 (+1.0, 0)
2.5 + (+1.0, 0)
2.0 ± 1.0
0
1.5 ± 0.5

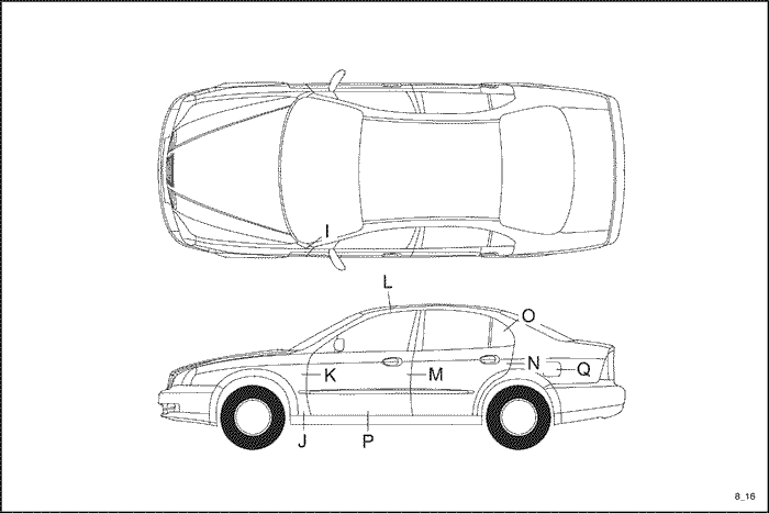
8_16
Показать иллюстрациюПеревод текста в иллюстрациях


Описание
ПЕРЕДНЯЯ СТОЙКА
x Крыло
КРЫЛО
x Панель багажника
Передняя дверь
x Крыло
НАРУЖНАЯ СТОРОНА
x Дверь
Передняя дверь
x Задняя дверь
Местонахождение
I
J
K
L
M
Зазор
3.0 (+1.0, -0.5)
5.0 ± 1.0
3.0 (+1.0, 0.5)
4.6 ± 1.0
4.0 (+1.0, 0)
Описание
НАРУЖНАЯ СТОРОНА
x Задняя дверь
НАРУЖНАЯ СТОРОНА
x Неподвижное стекло
Дверь
x Панель багажника
НАРУЖНАЯ СТОРОНА
x Дверь стойки багажника
.
.
Местонахождение
N
O
P
Q
.
Зазор
3.5 (+1.0, 0)
4.6 ± 1.0
5.0 ± 1.0
4.0 ± 0.3
.
На предыдущую страницуНа следующую страницу


Главная страница сайта