Справочник трудоёмкости работ2006 Kalos СРЕДСТВА ПАССИВНОЙ БЕЗОПАСНОСТИ (РЕМНИ БЕЗОПАСНОСТИ)К началу документа
Evanda
На предыдущую страницуНа следующую страницу
Главная страница GMDEЗагрузить нединамическое оглавлениеЗагрузить динамическое оглавлениеПомощь

РАЗДЕЛ 8A

СРЕДСТВА ПАССИВНОЙ БЕЗОПАСНОСТИ (РЕМНИ БЕЗОПАСНОСТИ)

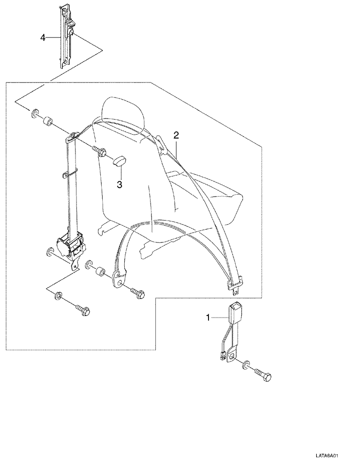
LATA8A01
Показать иллюстрациюПеревод текста в иллюстрациях


РЕМНИ БЕЗОПАСНОСТИ - ПЕРЕДНИЙ РЕМЕНЬ БЕЗОПАСНОСТИ (812)

ОПИСАНИЕ ОПЕРАЦИИ
КОД ОПЕРАЦИИ
МОДЕЛЬ
S
N
L
1
. ЗАМОК, ПЕРЕДНИЙ РЕМЕНЬ БЕЗОПАСНОСТИ - ЗАМЕНА
.
.
.
.
Правый
8120100
0.3
0.3
0.3
Левый
8120200
0.3
0.3
0.3
Оба
8120300
0.5
0.5
0.5
2
. РЕМЕНЬ, БЕЗОПАСНОСТИ ПЕРЕДНИЙ (СТОРОНА НАТЯЖИТЕЛЯ) - ЗАМЕНА
.
.
.
.
Правый
8120500
0.4
0.4
0.4
Левый
8120600
0.4
0.4
0.4
Оба
8120700
0.6
0.7
0.7
3
. НАПРАВЛЯЮЩАЯ И (ИЛИ) КОЖУХ, РЕМЕНЬ БЕЗОПАСНОСТИ - ЗАМЕНА
.
.
.
.
Правый
8120900
0.2
0.2
0.2
Левый
8121100
0.2
0.2
0.2
4
. РЕГУЛЯТОР, ПЕРЕДНИЙ РЕМЕНЬ БЕЗОПАСНОСТИ - ЗАМЕНА
.
.
.
.
Правый
8121300
0.3
0.4
0.4
Левый
8121400
0.3
0.4
0.4
S : AVEO/KALOS/BARINA, N : NUBIRA/LACETTI/FORENZA/OPTRA/VIVA, L : EVANDA/EPICA

G138A01A
Показать иллюстрациюПеревод текста в иллюстрациях


РЕМНИ БЕЗОПАСНОСТИ СИДЕНИЙ - ЗАДНИЙ РЕМЕНЬ БЕЗОПАСНОСТИ (822)

ОПИСАНИЕ ОПЕРАЦИИ
КОД ОПЕРАЦИИ
МОДЕЛЬ
S
N
L
1
. ЗАМОК, СЕРЕДИНА ЗАДНЕГО РЕМНЯ БЕЗОПАСНОСТИ - ЗАМЕНА
8220100
0.2
0.3
0.3
2
. РЕМЕНЬ, БЕЗОПАСНОСТИ ЗАДНИЙ (СТОРОНА НАТЯЖИТЕЛЯ) - ЗАМЕНА
.
.
.
.
Правый
8220400
0.6
0.6
0.6
Левый
8220500
0.6
0.6
0.6
Средний
8220600
0.7
0.8
0.8
3
. ЗАМОК, ЗАДНИЙ РЕМЕНЬ БЕЗОПАСНОСТИ - ЗАМЕНА
8220900
0.3
0.3
0.3
S : AVEO/KALOS/BARINA, N : NUBIRA/LACETTI/FORENZA/OPTRA/VIVA, L : EVANDA/EPICA
На предыдущую страницуНа следующую страницу


Главная страница сайта