ДИАГНОСТИКА
ДИАГНОСТИКА СИСТЕМЫ
Указания по диагностике
Если обнаружена неустойчивая проблема, следовать указаниям, приведенным ниже.
Предварительные проверки
Сначала провести тщательный контрольный осмотр. Этот осмотр часто помогает исправить проблему без дальнейших проверок и сэкономить ценное время. Проверить следующее:
- Заземление контроллера ЭСУД чистое, надлежащим образом затянуто и находится в нужном месте.
- Вакуумные шланги не должны иметь трещин, перекручиваний, быть в исправном состоянии и подключенными согласно табличке системы снижения токсичности отработавших газов. Тщательно проверить шланги на утечки и засорения.
- Утечка воздуха в зоне монтажа корпуса дроссельной заслонки и уплотнительные поверхности впускного коллектора.
- Провода зажигания на трещины, твердость, правильную прокладку и наличие тока утечки.
- Правильность подключения проводки.
- Проводку на зажимы или разрезы.
Таблица диагностических кодов неисправности
Не использовать таблицу диагностических кодов неисправности (DTC) для устранения неустойчивых неисправностей. Неисправность должна иметь место, чтобы определить место ее нахождения.
Неправильное применение таблицы DTC может привести к ненужной замене деталей.
Неисправная электропроводка или подключения
Большинство неустойчивых неисправностей вызваны неисправной электропроводкой или подключениями. Тщательно проверить подозрительные цепи на наличие следующих неисправностей:
- Слабый контакт в разъемах.
- Клеммы неплотно сидят в корпусе разъема.
- Деформированные или поврежденные клеммы. Все клеммы разъемов в неисправных цепях должны быть тщательно проверены, исправлены или заменены для обеспечения надежного контакта.
- Слабое соединение клемм с проводами. Требуется снятие клеммы с корпуса разъема.
Ходовое испытание
Если контрольный осмотр не позволяет установить причину проблемы, можно провести ходовые испытания с вольтметром или сканирующим прибором, подключенным к сомнительной цепи. Ненормальный уровень сигнала или ненормальные показания сканирующего прибора свидетельствуют о проблеме в этой цепи.
Если проблем с электропроводкой или разъёмами не найдено, но диагностический код был сохранен для цепи, имеющей датчик, кроме DTC Р0171 и P0172, заменить датчик.
Система питания двигателя
Некоторые неустойчивые проблемы с управляемостью автомобиля могут быть связаны с плохим качеством топлива. Если автомобиль временами едет с рывками, глохнет или имеет другие проблемы, спросить клиента о том, как он заправляет автомобиль.
- Заправляет ли он автомобиль всегда на той же самой заправке? В этом случае проблемы с топливом можно не принимать в расчет.
- Заправляет ли он автомобиль на заправке, предлагающей самые низкие цены? Если да, проверить топливный бак на отложения, наличие воды или другие загрязнения.
Процедура определения параметров холостого хода
Необходимо выполнить следующую процедуру определения параметров холостого хода при выполнении любых из нижеперечисленных действий, одного или нескольких:
- Замена на новый контроллер ЭСУД - Замена нового корпуса дроссельной заслонки (MTIA, ЕТС) - Замена на новый клапан РХХ - Очистка корпуса дроссельной заслонки от нагара - Отключение от источника питания (провод аккумулятора, предохранитель контроллера ЭСУД и т.д.) (Только Delphi ECM) - Включите зажигание.
- Произвести сброс значений адаптации сканирующим прибором. (Только с приводом рег. хол. хода глав. дросс. заслонки)
- Выключить зажигание на 15 секунд.
- Включить зажигание на 5 секунд.
- Выключить зажигание на 15 секунд.
- Запустить двигатель в положении парковка/нейтраль.
- Если автомобиль оснащен автоматической КПП, включить стояночный тормоз. Выжав педаль тормоза, переключить КПП в положение D (движение) на 1 секунду и вернуть ее обратно в положение Р (стоянка). (Только контроллер ЭСУД Siemes).
- Дайте двигателю поработать, чтобы температура охлаждающей жидкости стала выше 85°C (185°F).
- Включить кондиционер на 10 секунд, если имеется.
- Если автомобиль оснащен автоматической КПП, включить стояночный тормоз. Выжав педаль тормоза, установить КПП в положение D (движение) на 10 секунд.
- Выключить кондиционер на 10 секунд, если имеется.
- Если автомобиль оборудован автоматической КПП, выжав педаль тормоза, переключить КПП в положение стоянка/нейтраль.
- Выключить зажигание. Процедура определения параметров холостого хода завершена.
- Подождать 15 секунд перед перезапуском двигателя (только контроллер ЭСУД Siemens).
Процедура самообучения коррекции сигнала датчика положения коленчатого вала
При перезаписи, инициализации или замене контроллера ЭСУД и замене ведущего диска маховика следовать нижеописанным процедурам самообучения коррекции сигнала датчика положения коленчатого вала:
Внимание! Во избежание несчастных случаев при выполнении процедуры самообучения коррекции сигнала датчика положения коленчатого вала всегда включать стояночный тормоз и блокировать ведущие колеса. Сразу же отпустить дроссельную заслонку при уменьшении скорости вращения двигателя. После завершения процедуры самообучения управление двигателем подгоняется под пользователя и двигатель начинает отвечать на положение дроссельной заслонки.
- Перевести рычаг переключения передач в положение для парковки или нейтраль.
- Установить сканирующий прибор и выбрать меню "TEC (Tooth Error Correction) LEARN".
- Запустить двигатель с выключенным кондиционером.
- Поддерживать температуру жидкости двигателя выше 65°С (149°F).
- Держать педаль газа на оборотах выше 4000 мин-1 до прекращения подачи топлива.
- Подождать 10-15 секунд.
- Повторить эту процедуру, если сканирующий прибор не показывает сообщение "ОК".
- Выключить зажигание.
- Включить зажигание и очистить диагностический код неисправности.
Проверка бортовой системы диагностики (EOBD)
Описание схемы
С проверки бортовой системы диагностики (EOBD) начинаются диагностика любых проблем с управляемостью. Перед выполнением этой процедуры провести контрольный осмотр/проверку контроллера ЭСУД и заземления двигателя на чистоту и затяжку.
Бортовая система диагностики предназначена для определения проблем, связанных с неисправностью электронной системы управления двигателем.
Указания по диагностике
Неустойчивая неисправность может быть вызвана слабым контактом, перетертой изоляции или обрывом проводки под изоляцией. Проверить слабые контакты или поврежденные жгуты проводов. Проверить жгут проводов контроллера ЭСУД и соединения на слабый контакт, неисправность замков, деформированность или повреждения клемм, слабое соединение клемм с проводами и повреждения жгутов.
Описание проверки
Числа, приведенные ниже, относятся к номеру операции в диагностической таблице:
- Контрольная лампа индикации неисправности должна постоянно гореть при включенном зажигании и остановленном двигателе. Если нет, перейти к пункту Диагностическая информация".
- В этой проверке исследуется цепь данных Class 2 и способность контроллера ЭСУД передавать последовательные данные.
- Здесь проверяется способность контроллера ЭСУД управлять контрольной лампой индикации неисправности и отсутствие замыкания на массу цепи контрольной лампы индикации неисправности.
- Если двигатель не запускается, см. пункт Коленчатый вал проворачивается, но двигатель не запускается" в этом разделе.
- Параметр сканирующего прибора вне типичного диапазона помогает определить зону, вызвавшую проблему.
- Этот автомобиль оснащен контроллером ЭСУД, использующим электрически стираемое программируемое постоянное запоминающее устройство (ЭСППЗУ). Заменяемый контроллер ЭСУД должен быть запрограммирован. Перепрограммирование контроллера ЭСУД описано в последней технологической инструкции Techline.
Проверка бортовой системы диагностики (EOBD)
| Шаг | Операция | Значения | Да | Нет |
| 1 | - Поверните ключ зажигания в положение ON.
- Посмотреть на контрольную лампу индикации неисправности.
Контрольная лампа индикации неисправности горит? | - | Перейти к операции 2 | |
| 2 | - Поверните замок зажигание в положение LOCK.
- Подключить сканирующий прибор к колодке диагностики (DLC).
- Поверните ключ зажигания в положение ON.
- Попытайтесь вывести на дисплей сканирующего прибора данные двигателя контроллера ЭСУД.
Сканирующий прибор выводит данные двигателя контроллера ЭСУД? | - | Перейти к операции 3 | Перейти к операции 8 |
| 3 | - Используя выходную тестовую функцию сканирующего прибора, выбрать управление контрольной лампой индикации неисправности и дать команду на ее отключение.
- Посмотреть на контрольную лампу индикации неисправности.
Контрольная лампа индикации неисправности выключена? | - | Перейти к операции 4 | |
| 4 | Попытайтесь запустить двигатель. Двигатель запускается и продолжает работать? | - | Перейти к операции 5 | |
| 5 | Выбрать сканирующим прибором DISPLAY DTC. Какие-либо диагностические коды неисправности сохранены? | - | Перейти к операции 6 | Перейти к операции 7 |
| 6 | Проверить наличие на табло диагностических кодов неисправности Р0107, Р0108, Р0113, Р0118, Р0122, Р0123, Р1392. Сохранены ли два или больше следующих диагностических кодов неисправности? | - | | Перейти к соответствующей таблице диагностических кодов неисправности |
| 7 | Сравнить значения данных контроллера ЭСУД на дисплее сканирующего прибора с типичными данными двигателя. Отображенные значения нормальны или близки к нормальным? | - | | Перейти к указанной проверке компонента |
| 8 | - Поверните замок зажигание в положение LOCK.
- Отсоединить разъём контроллера ЭСУД.
- Поверните ключ зажигания в положение ON.
- Проверить цепь последовательных данных на обрыв цепи, замыкание на массу или на источник питания. Также проверить цепь тока зажигания DLC на замыкание на массу и проверить цепь массы DLC на обрыв.
Проблема найдена? | - | Перейти к операции 9 | Перейти к операции 10 |
| 9 | Исправить обрыв цепи, замыкание на массу или на источник питания в цепи последовательных данных или в цепи тока зажигания DLC. Закончен ли ремонт? | - | Система в норме | - |
| 10 | - Попытайтесь перепрограммировать контроллер ЭСУД.
- Попытайтесь вывести на дисплей сканирующего прибора данные контроллера ЭСУД.
Сканирующий прибор выводит данные двигателя контроллера ЭСУД? | - | Перейти к операции 2 | Перейти к операции 11 |
| 11 | Заменить контроллер ЭСУД. Замена закончена? | - | Система в норме | - |
Выходная диагностика контроллера ЭСУД
Описание схемы
Контроллер электронной системы управления двигателем (ЭСУД) контролирует работу большинства компонентов с электронными переключателями, из которых состоит заземленная цепь, при включении. Эти переключатели распределены на группы по 4 и 7 штук и называются либо четырехканальным управляющим модулем, крепящимся на поверхности, который контролирует работу до 4-х выходов, либо выходным управляющим модулем (ODM), который самостоятельно контролирует работу до 7 выходов. Не все выходы используются постоянно.
Управляющие модули защищены от коротких замыканий. При коротком замыкании реле или соленоида, из-за очень низкого или нулевого сопротивления, либо если пробивается управляющая часть цепи, в контроллер ЭСУД может подаваться слишком большой электрический ток. Управляющий модуль на это реагирует и выходной сигнал либо отключается либо его внутреннее сопротивление повышается, ограничивая электрический ток и защищая контроллер ЭСУД и управляющий модуль. В результате этого устанавливается высокое выходное напряжение на клеммах вместо необходимого низкого. При обрыве в цепи от + аккумулятора до этого компонента или в самом компоненте либо при коротком замыкании на массу управляющей части цепи напряжение на клеммах понижается. Любое из таких условий считается сбоем в управляющем модуле.
В управляющих модулях также имеется контур, указывающий на спад напряжения в центральном процессоре контроллера ЭСУД. Сканирующий инструмент отображает состояние контуров сбоя в управляющих модулях так: 0=норма и 1=сбой.
Указания по диагностике
Сканирующий инструмент способен управлять включением и отключением некоторых компонентов и функций. Если у какого-либо компонента или функции это не поддерживается, задайте автомобилю рабочий режим в условиях нормальной работы, чтобы выявить обрыв или короткое замыкание.
Индикация обрыва или короткого замыкания на массу появляется в разомкнутых положениях на сканирующем инструменте только тогда, когда им не управляет контроллер ЭСУД или сканирующий инструмент, а замыкание на цепь под напряжением обнаруживается в замкнутых положениях на сканирующем инструменте только тогда, когда компонент управляется контроллером ЭСУД или сканирующим инструментом.
Выходная диагностика контроллера ЭСУД
| Шаг | Операция | Значения | Да | Нет |
| 1 | Провести проверку бортовой системы диагностики Евро (EOBD). Проверка завершена? | - | Перейти к операции 2 | |
| 2 | Подключите диагностический прибор. Присутствует ли цифра колодки диагностики (DLC) 1 (=неисправность) под любой из нумерованных позиций в ВЫХОДНЫХ УПРАВЛЯЮЩИХ МОДУЛЯХ? | - | Перейти к операции 3 | Перейти к операции 4 |
| 3 | Проверить на наличие обрыва или короткого замыкания в любом из соответствующих положений (цепи), в которых появилась цифра 1 и необходим ремонт. Закончен ли ремонт? | - | Перейти к операции 9 | Перейти к операции 7 |
| 4 | Контролировать проверяемый выходной сигнал сканирующим инструментом, наблюдая за соответствующим положением каждой цепи. Какое-либо из положений изменилось на 1? | - | Перейти к операции 6 | Перейти к операции 5 |
| 5 | Контролировать проверяемый выходной сигнал сканирующим инструментом, наблюдая за соответствующим положением каждой цепи. При таком контроле компонент или функция действует? | - | Перейти к операции 9 | Для ремонта перейти к соответствующей таблице компонента |
| 6 | Исправить замыкание на цепь под напряжением в соответствующей цепи для положения (цепи), отмеченного цифрой 1. Закончен ли ремонт? | - | Перейти к операции 9 | - |
| 7 | Отсоединить электрический разъем от компонента, подключенного к неисправной цепи. 1 все еще отображается в соответствующем положении ВЫХОДНОГО УПРАВЛЯЮЩЕГО МОДУЛЯ? | - | Перейти к операции 8 | Для ремонта перейти к соответствующей таблице компонента |
| 8 | Заменить контроллер ЭСУД. Замена закончена? | - | Перейти к операции 9 | - |
| 9 | Задать автомобилю рабочий режим в условиях, в которых это первоначально было отмечено. Теперь система функционирует нормально? | - | Система в норме | Перейти к операции 2 |
Занесено несколько кодов неисправностей датчиков контроллера ЭСУД
Описание схемы
Контроллер электронной системы управления двигателем (ЭСУД) контролирует различные датчики для определения условий работы двигателя. Контроллер ЭСУД контролирует подачу топлива, опережение зажигания, работу КПП и работу системы снижения токсичности отработавших газов на основе входных сигналов от датчиков.
Контроллер ЭСУД предоставляет массу для всех датчиков. Контроллер ЭСУД подает 5 В через нагрузочный резистор и контролирует напряжение между датчиком и резистором для определения состояния датчика температуры охлаждающей жидкости (ЕСТ) и датчика температуры впускного воздуха (IAT). Контроллер ЭСУД подает контрольный сигнал 5 В и сигнал массы датчика на датчик положения иглы клапана рециркуляции отработавших газов (EGR), датчик положения дроссельной заслонки (TP), датчик абсолютного давления в коллекторе (МАР) и датчик давления топливного бака. Контроллер ЭСУД контролирует отдельные обратные сигналы от этих датчиков для определения их рабочего состояния.
Указания по диагностике
Обязательно проверить чистоту и надежность крепления контроллера ЭСУД и соединения на массу двигателя.
Замыкание на цепь под напряжением в одной из цепей датчика может вызвать установку одного или нескольких из следующих диагностических кодов неисправности: Р0108, Р0113, Р0118, Р0123, Р1106, Р1111, Р1115, Р1121, Р0132, Р0463, Р0533.
Если входная цепь датчика замкнута на источник питания, убедитесь, что датчик не поврежден. Неисправный датчик будет показывать высокий или низкий уровень сигнала после устранения неисправности соответствующей цепи. Если датчик был поврежден, заменить его.
Обрыв в цепи массы датчика между контроллером ЭСУД и местом соединения приводит к установке одного или более следующих диагностических кодов неисправности: P0107, P0108, P0113, P0118, P0122, P0123, P1106, P1111, P1115, P1121, Р0131, Р0137, P0462, P0532.
Короткое замыкание в цепи контрольного сигнала напряжением 5 В или обрыв цепи контрольного сигнала напряжением 5 В между контроллером ЭСУД и местом соединения приводит к установке одного или более следующих диагностических кодов неисправности: P0107, P0112, P0117, P0122, Р1107, Р1112, P1114, P1122, P0131, P0137, P0462, P0532.
Проверить следующее:
- Проверить контроллер ЭСУД на слабость соединений. Проверить разъемы жгутов проводов на соединения клемм, слабый контакт, неисправность замков, деформированность или повреждения клемм и слабое соединение клемм с проводами.
- Осмотреть жгут проводов на наличие повреждений. Если жгут проводов кажется исправным, обратить внимание на отображаемое значение соответствующего датчика на сканирующем приборе при включенном зажигании и выключенном двигателе, двигая разъемы и жгуты проводов, относящиеся к соответствующим датчикам. Изменения в отображаемых значениях соответствующего датчика покажут место нахождения неисправности.
Описание проверки
Приведенными ниже числами указываются номера операций в таблице диагностики.
- Бортовая система диагностики (EOBD) предлагает мастеру выполнить основные проверки и сохранить состояние и данные неисправностей в сканирующем приборе. Это создает электронную копию данных, записанную при возникновении неисправности. Информация сохраняется в сканирующем приборе для дальнейшей обработки.
- Неисправный клапан EGR может вызвать небольшую утечку тока из цепи зажигания на цепь контрольного сигнала 5 В. Если при снятом клапане EGR проблема исчезает, заменить клапан EGR.
- Если входная цепь датчика замкнута на источник питания, убедитесь, что датчик не был поврежден. Неисправные датчики IAT или ЕСТ будут показывать высокий уровень сигнала или низкую температуру после устранения неисправности соответствующей цепи. Неисправные датчики, АСТ, ТР, МАР, датчик давления топливного бака или датчик положения иглы клапана EGR будут показывать высокий или низкий уровень сигнала или остановятся на неизменном значении после устранения неисправности соответствующей цепи. Если датчик был поврежден, заменить его.
- Заменяемый контроллер ЭСУД должен быть запрограммирован. Перепрограммирование контроллера ЭСУД описано в последней технологической инструкции Techline.
Занесено несколько кодов неисправностей датчиков контроллера ЭСУД
| Шаг | Операция | Значения | Да | Нет |
| 1 | Провести проверку бортовой системы диагностики (EOBD). Проверка завершена? | - | Перейти к операции 2 | |
| 2 | - Поверните замок зажигание в положение LOCK.
- Отсоединить разъём контроллера электронной системы управления двигателем (ЭСУД).
- Поверните ключ зажигания в положение ON.
- Проверить цепь контрольного сигнала 5 В на следующее:
- Слабый контакт контроллера ЭСУД.
- Обрыв цепи между разъёмом соответствующего датчика контроллера ЭСУД, имеющим короткое замыкание на массу или источник питания.
- Если проблема найдена, определить ее местонахождение и устранить обрыв цепи или короткое замыкание, если необходимо.
Проблема найдена? | - | Перейти к операции 19 | Перейти к операции 3 |
| 3 | - Проверить цепь массы датчика на следующее:
- Слабый контакт контроллера ЭСУД или соответствующего датчика.
- Обрыв цепи между разъёмом контроллера ЭСУД и соответствующим датчиком.
- Если проблема найдена, устранить ее, если необходимо.
Проблема найдена? | - | Перейти к операции 19 | Перейти к операции 4 |
| 4 | Измерить напряжение сигнальной цепи датчика положения иглы клапана рециркуляции отработавших газов (EGR) между разъемом жгута проводов контроллера ЭСУД и массой. Напряжение близко к установленному значению? | 0 В | Перейти к операции 5 | Перейти к операции 9 |
| 5 | Измерить напряжение сигнальной цепи датчика абсолютного давление в коллекторе (МАР) между разъемом жгута проводов контроллера ЭСУД и массой. Напряжение близко к установленному значению? | 0 В | Перейти к операции 6 | Перейти к операции 12 |
| 6 | Измерить напряжение сигнальной цепи датчика положения дроссельной заслонки (ТР) между разъемом жгута проводов контроллера ЭСУД и массой. Напряжение близко к установленному значению? | 0 В | Перейти к операции 7 | Перейти к операции 12 |
| 7 | Измерить напряжение сигнальной цепи датчика температуры впускного воздуха (IAT) между разъемом жгута проводов контроллера ЭСУД и массой. Напряжение близко к установленному значению? | 0 В | Перейти к операции 8 | Перейти к операции 13 |
| 8 | Измерить напряжение сигнальной цепи датчика температуры охлаждающей жидкости (ЕСТ) между разъемом жгута проводов контроллера ЭСУД и массой. Напряжение близко к установленному значению? | 0 В | Перейти к операции 16 | Перейти к операции 14 |
| 9 | - Отсоединить разъём клапана EGR.
- Измерить напряжение сигнальной цепи датчика положения иглы клапана рециркуляции отработавших газов между разъемом жгута проводов контроллера ЭСУД и массой.
Напряжение близко к установленному значению? | 0 В | Перейти к операции 10 | Перейти к операции 15 |
| 10 | Заменить клапан EGR. Замена закончена? | - | Перейти к операции 19 | - |
| 11 | Определить местонахождение и устранить замыкание на источник питания в сигнальной цепи датчика МАР. Закончен ли ремонт? | - | Перейти к операции 19 | - |
| 12 | Определить местонахождение и устранить замыкание на источник питания в сигнальной цепи датчика ТР. Закончен ли ремонт? | - | Перейти к операции 19 | - |
| 13 | Определить местонахождение и устранить замыкание на источник питания в сигнальной цепи датчика IAT. Закончен ли ремонт? | - | Перейти к операции 19 | - |
| 14 | Определить местонахождение и устранить замыкание на источник питания в сигнальной цепи датчика ECT. Закончен ли ремонт? | - | Перейти к операции 19 | - |
| 15 | Определить местонахождение и устранить замыкание на источник питания в сигнальной цепи датчика положения иглы клапана рециркуляции отработавших газов. Закончен ли ремонт? | - | Перейти к операции 19 | - |
| 16 | Измерить напряжение сигнальной цепи датчика давления топливного бака между разъемом жгута проводов контроллера ЭСУД и массой. Напряжение близко к установленному значению? | 0 В | Перейти к операции 18 | Перейти к операции 17 |
| 17 | Определить местонахождение и устранить замыкание на источник питания в сигнальной цепи датчика давления топливного бака. Замена закончена? | - | Перейти к операции 19 | - |
| 18 | Заменить контроллер ЭСУД. Закончен ли ремонт? | - | Перейти к операции 19 | - |
| 19 | - Используя сканирующий прибор, очистить диагностические коды неисправностей.
- Запустить двигатель и дать ему поработать на холостом ходу при нормальной рабочей температуре.
- Совершить поездку для установки кодов неисправности, как это указано во вспомогательном тексте.
Сканирующий прибор определяет эту диагностику как прошедшую и успешную? | - | Перейти к операции 20 | Перейти к операции 2 |
| 22 | Проверьте, не установлены ли дополнительные диагностические коды неисправности. Отображены ли диагностические коды неисправности, которые не были продиагностированы? | - | Перейти к соответствующей таблице диагностических кодов неисправности | Система в норме |
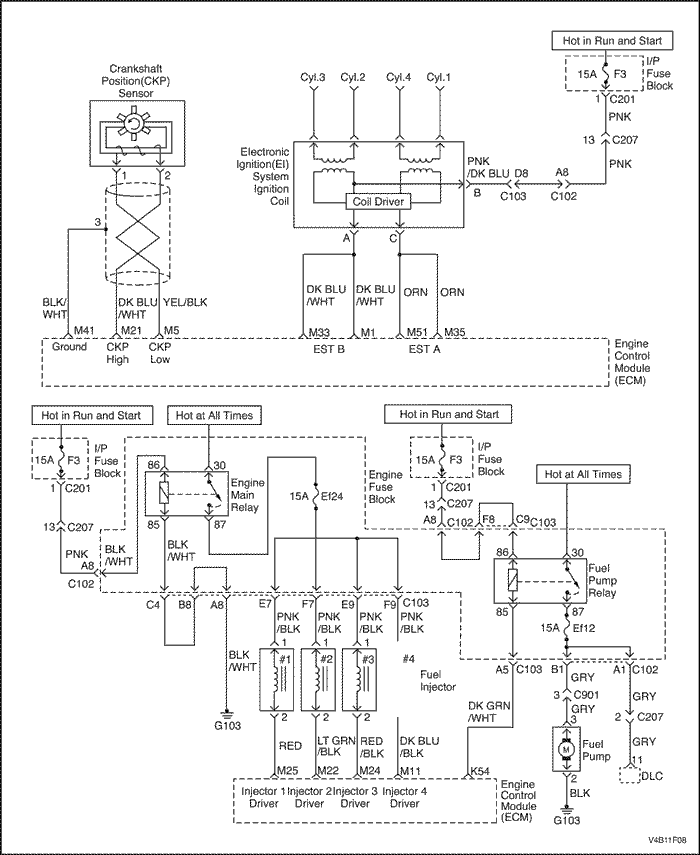
Коленчатый вал проворачивается, но двигатель не запускается
Описание проверки
Последовательность соответствует шагам, указанным в диагностической таблице.
- Бортовая система диагностики (EOBD) предлагает мастеру выполнить основные проверки и сохранить состояние и данные неисправностей в сканирующем приборе. Это создает электронную копию данных, записанную при возникновении неисправности. Информация сохраняется в сканирующем приборе для дальнейшей обработки.
- Бортовая система диагностики (EOBD) предлагает мастеру выполнить основные проверки и сохранить состояние и данные неисправностей в сканирующем приборе. Это создает электронную копию данных, записанную при возникновении неисправности. Информация сохраняется в сканирующем приборе для дальнейшей обработки.
- При проведении проверки компрессии можно определить, имеет ли двигатель механическую способность к работе.
- При проведении проверки компрессии можно определить, имеет ли двигатель механическую способность к работе.
- Важно проверить наличие искры на всех проводах зажигания. Если искра имеется на одной - трех клеммах катушки зажигания, то датчик положения коленчатого вала (СКР) в норме.
- Важно проверить наличие искры на всех проводах зажигания. Если искра имеется на одной - трех клеммах катушки зажигания, то датчик положения коленчатого вала (СКР) в норме.
- При проверке выходных сигналов контроллера ЭСУД на момент зажигания рекомендуется использовать осциллоскоп для наблюдения за изменением сигналов. При измерении этих выходных сигналов с помощью вольтметра, могут случиться неустойчивые неисправности, не регистрируемые вольтметром.
- Эта операция проверяет правильность работы контроллера ЭСУД в цепи топливного насоса.
- Эта операция проверяет сигнал массы, подаваемый контроллером ЭСУД для управления топливными форсунками. Если при проворачивании коленчатого вала нет сигнала массы, а проводка топливной форсунки в норме, то контроллер ЭСУД неисправен.
Коленчатый вал проворачивается, но двигатель не запускается
Внимание! Чтобы не допустить поражения электротоком при работе с проводами зажигания на работающем двигателе, использовать изолированные плоскогубцы.
Внимание! Не зажимать и не перегибать нейлоновые топливопроводы. Дефекты топливопроводов могут привести к утечке топлива, а вместе с ней к пожару и травмам.
| Шаг | Операция | Значения | Да | Нет |
| 1 | Провести проверку бортовой системы диагностики (EOBD). Проверка проведена? | - | Перейти к операции 2 | |
| 2 | Проверка установки диагностического кода неисправности Р0601. Диагностический код неисправности установлен? | - | Перейти к соответствующей таблице диагностических кодов неисправности | Перейти к операции 4 |
| 3 | Провернуть коленчатый вал двигателя. Двигатель запускается и продолжает работать? | - | Система в норме | Перейти к операции 5 |
| 4 | Провести проверку компрессии цилиндров. Компрессия во всех цилиндрах равна или превышает установленные значения? | 689 кПа (100 фунтов/кв. дюйм) | Перейти к операции 8 | Перейти к операции 5 |
| 5 | Проверить регулировку приводного ремня газораспределительного механизма. Приводной ремень газораспределительного механизма отрегулирован? | - | Перейти к операции 7 | Перейти к операции 6 |
| 6 | Отрегулировать или заменить приводной ремень газораспределительного механизма, если необходимо. Закончен ли ремонт? | - | Перейти к операции 3 | - |
| 7 | Устранить внутренние дефекты двигателя, если необходимо. Закончен ли ремонт? | - | Перейти к операции 3 | - |
| 8 | Проверить предохранитель топливного насоса. Неисправность обнаружена? | - | Перейти к операции 9 | Перейти к операции 10 |
| 9 | Замените предохранитель. Закончен ли ремонт? | - | Перейти к операции 3 | - |
| 10 | - Установите диагностический прибор.
- Включить зажигание, остановить двигатель и закрыть дроссельную заслонку.
Показания датчика положения дроссельной заслонки (TP) ниже указанного значения? | 1,0 В | Перейти к операции 11 | |
| 11 | Сравнить температуру охлаждающей жидкости двигателя (ЕСТ) с температурой впускного воздуха (IAT). ЕСТ относительно близка к IAT? | - | Перейти к операции 12 | |
| 12 | - Проверьте, не находятся ли показания датчика абсолютного давления в коллекторе (MAP) выше установленного значения.
- Провернуть двигатель стартером, наблюдая за показаниями датчика MAP.
Показания датчика MAP выше установленного значения и меняются при проворачивании коленчатого вала? | 4 В | Перейти к операции 13 | Перейти к операции 14 |
| 13 | Провернуть коленчатый вал двигателя. Увеличивается ли значение активного счетчика положения коленчатого вала при проворачивании коленчатого вала? | - | Перейти к операции 16 | Перейти к операции 18 |
| 14 | Проверить сканируемые данные на наличие последовательных данных. Последовательные данные потеряны при проворачивании коленчатого вала? | - | Перейти к операции 15 | Перейти к пункту "Проверка выходных данных датчика МАР" |
| 15 | Устранить потерю напряжения к контроллеру (ЭСУД) от выключателя зажигания. Закончен ли ремонт? | - | Система в норме | - |
| 16 | Проверить наличие искры на всех проводах зажигания при проворачивании двигателя стартером. Искра имеется на всех проводах зажигания? | - | Перейти к операции 41 | Перейти к операции 17 |
| 17 | - Измерить сопротивление проводов зажигания.
- Заменить все провода зажигания с сопротивлением выше установленного.
- Проверить наличие искры на всех проводах зажигания.
Искра имеется на всех проводах зажигания? | 30,000 Вт | Перейти к операции 3 | Перейти к операции 18 |
| 18 | - Выключите зажигание.
- Отсоединить разъём датчика положения коленчатого вала (СКР).
- Измерить уровень сигнала между клеммами 1 и 3 разъема датчика положения коленчатого вала.
- Устраните неисправность цепи.
Измеренный уровень сигнала близок к установленному значению? | 1,4 В (2,5 В)* | Перейти к операции 19 | Перейти к операции 20 |
| 19 | Измерить уровень сигнала между клеммами 2 и 3 разъема датчика положения коленчатого вала. Измеренный сигнал близок к установленному значению? | 1,4 В (2,5 В)* | Перейти к операции 26 | Перейти к операции 21 |
| 20 | Измерить уровень сигнала между клеммой 1 разъема датчика положения коленчатого вала и массой. Измеренный уровень сигнала близок к установленному значению? | 1,4 В (2,5 В)* | Перейти к операции 22 | Перейти к операции 23 |
| 21 | Измерить уровень сигнала между клеммой 2 разъема датчика положения коленчатого вала и массой. Измеренный уровень сигнала близок к установленному значению? | 1,4 В (2,5 В)* | Перейти к операции 22 | Перейти к операции 24 |
| 22 | Проверить на обрыв цепи провод между клеммой 3 разъема датчика положения коленчатого вала и массой. Неисправность обнаружена? | - | Перейти к операции 25 | Перейти к операции 40 |
| 23 | Проверить на обрыв цепи или короткое замыкание провод между клеммой 1 разъема датчика положения коленчатого вала и клеммой М21 разъёма контроллера ЭСУД. Неисправность обнаружена? | - | Перейти к операции 25 | Перейти к операции 40 |
| 24 | Проверить на обрыв цепи или короткое замыкание провод между клеммой 2 разъема датчика положения коленчатого вала и клеммой М5 разъёма контроллера ЭСУД. Неисправность обнаружена? | - | Перейти к операции 25 | |
| 25 | Устраните неисправность цепи. Закончен ли ремонт? | - | Перейти к операции 3 | - |
| 26 | - Отсоединить разъём катушки электронной системы зажигания, чтобы не допустить запуска двигателя.
- Измерить уровень сигнала на клемме М21 разъема контроллера ЭСУД, подключив разъем контроллера ЭСУД.
Значения сигнала близки к установленным значениям? | 1,4 В (2,5 В)* при включенном зажигании, 1,6 В (2,6 В)* при проворачивании коленчатого вала | Перейти к операции 27 | Перейти к операции 28 |
| 27 | Измерить уровень сигнала на клемме М5 разъема контроллера ЭСУД, подключив разъем контроллера ЭСУД. Значения сигнала близки к установленным значениям? | 1,4 В (2,5 В)* при включенном зажигании, 1,6 В (2,6 В)* при проворачивании коленчатого вала | Перейдите к операции 29 | Перейти к операции 28 |
| 28 | Заменить датчик положения коленчатого вала. Закончен ли ремонт? | - | Перейти к операции 3 | - |
| 29 | - Выключите зажигание.
- Отсоединить разъем с катушки электронной системы зажигания.
- Присоединить контрольную лампу между клеммой В разъема катушки электронной системы зажигания и массой.
- Включите зажигание.
Горит ли контрольная лампа? | - | Перейти к операции 30 | Перейдите к операции 31 |
| 30 | Присоединить контрольную лампу к разъему катушки электронной системы зажигания и положительному проводу аккумуляторной батареи. Горит ли контрольная лампа? | - | Перейти к операции 34 | Перейти к операции 32 |
| 31 | Проверить на обрыв цепи провод между выключателем зажигания и клеммой А разъема катушки электронной системы зажигания. Неисправность обнаружена? | - | Перейти к операции 33 | - |
| 32 | Проверить на обрыв цепи провод от катушки электронной системы зажигания к массе. Неисправность обнаружена? | - | Перейти к операции 2 | - |
| 33 | - Устраните неисправность цепи.
- Присоедините разъем катушки электронной системы зажигания.
- Проверить наличие искры на всех проводах зажигания.
Искра имеется на всех проводах зажигания? | - | Перейти к операции 3 | Перейти к операции 34 |
| 34 | - Выключите зажигание.
- Отсоединить разъем с катушки электронной системы зажигания.
- Проворачивая коленчатый вал, измерить уровень сигнала на клемме С разъема катушки электронной системы зажигания.
Напряжение колеблется в пределах установленного значения? | 0,2-2,0 В | Перейти к операции 39 | Перейти к операции 37 |
| 35 | Проворачивая коленчатый вал, измерить уровень сигнала на клемме А разъема катушки электронной системы зажигания. Напряжение колеблется в пределах установленного значения? | 0,2-2,0 В | Перейти к операции 39 | Перейти к операции 37 |
| 36 | Проверить на обрыв цепи провод между клеммой С разъема катушки электронной системы зажигания и клеммой М51 разъема контроллера ЭСУД. Неисправность обнаружена? | - | Перейти к операции 38 | Перейти к операции 40 |
| 37 | Проверить на обрыв цепи провод между клеммой А разъема катушки электронной системы зажигания и клеммой М1 разъема контроллера ЭСУД. Неисправность обнаружена? | - | Перейти к операции 38 | Перейти к операции 40 |
| 38 | - Устраните неисправность цепи.
- Присоедините разъем катушки электронной системы зажигания.
- Проверить наличие искры на всех проводах зажигания.
Искра имеется на всех проводах зажигания? | - | Перейти к операции 3 | Перейти к операции 39 |
| 39 | Заменить катушку электронной системы зажигания. Закончен ли ремонт? | - | Перейти к операции 3 | - |
| 40 | - Выключите зажигание.
- Заменить контроллер ЭСУД.
Закончен ли ремонт? | - | Перейти к операции 3 | - |
| 41 | - Выключите зажигание.
- Присоединить топливный манометр.
- Провернуть коленчатый вал двигателя.
Есть ли давление топлива? | - | Перейти к операции 44 | Перейти к операции 42 |
| 42 | - Выключите зажигание.
- Отсоединить электрический разъем с топливного насоса.
- Присоединить контрольную лампу между клеммами 2 и 3 разъема топливного насоса.
- Включите зажигание.
- При включенном зажигании контрольная лампа должна гореть в течение установленного времени.
Горит ли контрольная лампа? | 2 сек. | Перейти к операции 43 | Перейти к операции 53 |
| 43 | Заменить топливный насос. Закончен ли ремонт? | - | Перейти к операции 3 | - |
| 44 | Давление топлива в пределах установленного значения? | 283-324 кПа (41-47 psi) | Перейти к операции 48 | Перейти к операции 45 |
| 45 | - Проверьте, не забит ли топливный фильтр.
- Проверить топливопроводы на перегибы и засорения.
Неисправность обнаружена? | - | Перейти к операции 46 | Перейти к операции 47 |
| 46 | - Отсоединить вакуумный трубопровод от регулятора давления топлива.
- Проверить вакуумный трубопровод на наличие топлива.
- Проверить вакуумное соединение регулятора давления топлива на наличие топлива.
Есть ли топливо? | 283-324 кПа (41-47 psi) | Перейти к операции 3 | Перейти к операции 47 |
| 47 | - Отсоединить вакуумный трубопровод от регулятора давления топлива.
- Проверить вакуумный трубопровод на наличие топлива.
- Проверить вакуумное соединение регулятора давления топлива на наличие топлива.
Есть ли топливо? | - | Перейти к операции 50 | Перейти к операции 51 |
| 48 | Проверить топливо на загрязнения. Топливо загрязнено? | - | Перейти к операции 49 | Перейти к операции 65 |
| 49 | - Удалить загрязненное топливо из топливного бака.
- Очистить топливный бак, если необходимо.
Закончен ли ремонт? | - | Перейти к операции 3 | - |
| 50 | Заменить регулятор давления топлива. Закончен ли ремонт? | - | Перейти к операции 3 | - |
| 51 | - Снять узел топливного насоса с топливного бака.
- Проверить датчик топливного насоса и соединительные топливные шланги на засорение.
- Проверить фильтр топливного бака на засорение.
Неисправность обнаружена? | - | Перейти к операции 52 | Перейти к операции 43 |
| 52 | Заменить датчик топливного насоса, фильтр топливного бака и/или соединительные топливные шланги на засорение. Закончен ли ремонт? | - | Перейти к операции 3 | - |
| 53 | - Выключите зажигание.
- Отсоединить электрический разъем с топливного насоса.
- Присоединить контрольную лампу между клеммой 3 разъема топливного насоса и надежной массой.
- Включите зажигание.
- При включенном зажигании контрольная лампа должна гореть в течение установленного времени.
Горит ли контрольная лампа? | 2 сек. | Перейти к операции 54 | Перейти к операции 55 |
| 54 | Устранить обрыв цепи между клеммой 2 разъема топливного насоса и массой. Закончен ли ремонт? | - | Перейти к операции 3 | - |
| 55 | - Выключите зажигание.
- Отсоединить реле топливного насоса.
- Присоединить контрольную лампу между клеммой 86 разъема реле топливного насоса и массой.
- Включите зажигание.
Горит ли контрольная лампа? | 2 сек. | Перейти к операции 56 | Перейти к операции 62 |
| 56 | - Выключите зажигание.
- Присоединить контрольную лампу между клеммой 85 разъема реле топливного насоса и положительным проводом аккумуляторной батареи.
- Включите зажигание.
- При включенном зажигании контрольная лампа должна гореть в течение установленного времени.
Горит ли контрольная лампа? | - | Перейти к операции 57 | Перейти к операции 61 |
| 57 | - Выключите зажигание.
- Присоединить контрольную лампу между клеммой 30 разъема реле топливного насоса и массой.
Горит ли контрольная лампа? | - | Перейти к операции 58 | Перейти к операции 64 |
| 58 | - Выключите зажигание.
- Проверить провод между клеммой 87 разъема реле топливного насоса и клеммой 3 разъема топливного насоса на обрыв цепи или замыкание на массу.
Закончен ли ремонт? | - | Перейти к операции 2 | - |
| 59 | Заменить выключатель отсечки топлива. Неисправность обнаружена? | - | Перейти к операции 3 | - |
| 60 | Заменить реле топливного насоса. Закончен ли ремонт? | - | Перейти к операции 3 | - |
| 61 | - Проверить на обрыв цепи провод между клеммой 85 разъема реле топливного насоса и массой.
Неисправность обнаружена? | - | Перейти к операции 72 | - |
| 62 | Проверить на обрыв цепи провод между клеммой 86 разъема реле топливного насоса и клеммой К54 разъема контроллера ЭСУД. Неисправность обнаружена? | - | Перейти к операции 63 | Перейти к операции 40 |
| 63 | Отремонтировать провод между клеммой 86 разъема реле топливного насоса и клеммой К54 разъема контроллера ЭСУД. Закончен ли ремонт? | - | Перейти к операции 3 | - |
| 64 | Восстановить провод на участке между клеммой 30 разъема реле топливного насоса и положительной клеммой аккумуляторной батареи. Закончен ли ремонт? | - | Перейти к операции 3 | - |
| 65 | - Выключите зажигание.
- Отсоединить разъемы жгутов проводов от всех топливных форсунок.
- Включите зажигание.
- Присоединить контрольную лампу между разъемом 1 жгута проводов топливной форсунки и массой.
- Повторить операцию 4 для каждой оставшейся топливной форсунки.
Контрольная лампа горит на всех топливных форсунках? | - | Перейти к операции 66 | Перейти к операции 69 |
| 66 | - Выключите зажигание.
- Присоединить контрольную лампу между клеммой 2 разъема жгута проводов топливной форсунки и положительным проводом аккумуляторной батареи.
- Провернуть коленчатый вал двигателя.
- Повторить операции два и три для каждой оставшейся топливной форсунки.
Контрольная лампа загорается на всех топливных форсунках? | - | Перейти к операции 67 | Перейти к операции 70 |
| 67 | Измерить сопротивление на каждой топливной форсунке. Сопротивление в пределах установленного значения (сопротивление будет немного возрастать при более высокой температуре)? | 11,6-12,4Ом | Система в норме | Перейти к операции 68 |
| 68 | Заменить все топливные форсунки с сопротивлением вне установленного диапазона. Закончен ли ремонт? | - | Перейти к операции 3 | - |
| 69 | Устранить обрыв(ы) цепи между клеммой 1 разъема(ов) жгутов проводов топливной форсунки и клеммой 2 жгута проводов С205 двигателя. Закончен ли ремонт? | - | Перейти к операции 3 | - |
| 70 | - Проверить на обрыв цепи провод между клеммой 2 жгута проводов топливной форсунки №1 и клеммой М25 разъема контроллера ЭСУД
- Проверить на обрыв цепи провод между клеммой 2 жгута проводов топливной форсунки №2 и клеммой М22 разъема контроллера ЭСУД.
- Проверить на обрыв цепи провод между клеммой 2 жгута проводов топливной форсунки №3 и клеммой М24 разъема контроллера ЭСУД.
- Проверить на обрыв цепи провод между клеммой 2 жгута проводов топливной форсунки №4 и клеммой М11 разъема контроллера ЭСУД.
Неисправность обнаружена? | - | Перейти к операции 71 | Перейти к операции 73 |
| 71 | Устранить обрыв в цепи жгутов проводов топливной форсунки. Закончен ли ремонт? | - | Перейти к операции 3 | - |
| 72 | Заменить предохранитель или отремонтировать проводку, если необходимо. Закончен ли ремонт? | - | Перейти к операции 3 | - |
| 73 | - Проверить входной предохранитель F3.
- Проверить на обрыв цепи от клеммы 1 к каждой из четырех топливных форсунок и выключателю зажигания.
Неисправность обнаружена? | - | Перейти к операции 72 | - |
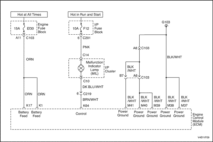
Контрольная лампа индикации неисправности не загорается
Описание схемы
Контрольная лампа индикации неисправности загорается при включенном зажигании и продолжает гореть при работающем двигателе, если диагностические коды неисправностей не сохранены. Питание подается на контрольную лампу индикации неисправности непосредственно через выключатель зажигания. Контроллер электронной системы управления двигателем (ЭСУД) управляет контрольной лампой индикации неисправности, подключая к ней массу через контрольную цепь.
Указания по диагностике
Перегоревший предохранитель зажигания F12 приводит к неработоспособности всего блока.
Проверить аккумуляторную батарею и цепи зажигания на слабый контакт, если контрольная лампа индикации неисправности показывает неустойчивую неисправность.
Любая цепь, подозреваемая на создание неустойчивой неисправности, должна быть тщательно проверена на соединения клемм, слабый контакт, неисправность замков, деформированность или повреждения клемм, слабое соединение клемм с проводами и физическое повреждение жгутов проводов.
Контрольная лампа индикации неисправности не загорается
| Шаг | Операция | Значения | Да | Нет |
| 1 | Попытайтесь запустить двигатель. Двигатель запускается? | - | Перейти к операции 2 | |
| 2 | - Поверните замок зажигание в положение LOCK.
- Отсоединить разъём контроллера электронной системы управления двигателем (ЭСУД).
- Поверните ключ зажигания в положение ON.
- Присоединить контрольную лампу между клеммой 64 разъема контроллера ЭСУД и массой.
Контрольная лампа горит? | - | Перейти к операции 3 | Перейти к операции 6 |
| 3 | Проверить клеммы на повреждения или слабый контакт. Проблема найдена? | - | Перейти к операции 5 | Перейти к операции 4 |
| 4 | Заменить контроллер ЭСУД. Замена закончена? | - | | - |
| 5 | Устранить повреждения клемм или слабый контакт. Закончен ли ремонт? | - | | - |
| 6 | Проверить предохранитель F12. Предохранитель перегорел? | - | Перейти к операции 7 | Перейти к операции 8 |
| 7 | - Проверить на замыкание на массу и устранить неисправность, если необходимо.
- Заменить предохранитель F12.
Ремонт или замена закончены? | - | | - |
| 8 | - Проверить обрыв цепи между предохранителем F12 и клеммой К64 разъема контроллера ЭСУД и устранить неисправность, если необходимо.
- Проверить контрольную лампу индикации неисправности и заменить ее, если необходимо.
Ремонт или замена закончены? | - | | - |
Контрольная лампа индикации неисправности горит постоянно
Описание схемы
Контрольная лампа индикации неисправности загорается при включении выключателя зажигания и продолжает гореть при работающем двигателе, если диагностические коды неисправностей не сохранены. Питание подается на контрольную лампу индикации неисправности непосредственно через выключатель зажигания. Контроллер электронной системы управления двигателем (ЭСУД) управляет контрольной лампой индикации неисправности, подключая к ней массу через контрольную цепь.
Описание проверки
Приведенными ниже числами указываются номера операций в таблице диагностики.
- Бортовая система диагностики (EOBD) предлагает мастеру выполнить основные проверки и сохранить состояние и данные неисправностей в сканирующем приборе. Это создает электронную копию данных, записанную при возникновении неисправности. Информация сохраняется в сканирующем приборе для дальнейшей обработки.
- Контрольная лампа индикации неисправности загорается при включенном зажигании и продолжает гореть при работающем двигателе или если сохранен диагностический код выброса вредных веществ. Эта операция проверят способность контроллера ЭСУД управлять контрольной лампой индикации неисправности. Сканирующий прибор может подавать команды на включение и выключение контрольной лампы индикации неисправности.
- Замкнутая цепь контрольной лампы индикации неисправности может быть диагностирована сканирующим прибором.
- Заменяемый контроллер ЭСУД должен быть запрограммирован. Перепрограммирование контроллера ЭСУД описано в последней технологической инструкции Techline.
Контрольная лампа индикации неисправности горит постоянно
| Шаг | Операция | Значения | Да | Нет |
| 1 | Провести проверку бортовой системы диагностики (EOBD). Проверка завершена? | - | Перейти к операции 2 | |
| 2 | - Поверните замок зажигание в положение LOCK.
- Подключить сканирующий прибор к колодке диагностики (DLC).
- Подать команду контрольной лампе индикации неисправности на включение и выключение.
Контрольная лампа индикации неисправности включается и выключается при подаче команды? | - | Перейти к операции 7 | Перейти к операции 3 |
| 3 | - Поверните замок зажигание в положение LOCK.
- Отсоединить разъём контроллера электронной системы управления двигателем (ЭСУД).
- Поверните ключ зажигания в положение ON.
Контрольная лампа индикации неисправности выключена? | - | Перейти к операции 6 | Перейти к операции 4 |
| 4 | Проверить контрольную лампу индикации неисправности на замыкание на массу и устранить неисправность, если необходимо. Закончен ли ремонт? | - | Перейти к операции 7 | Перейти к операции 5 |
| 5 | Закончен ли ремонт? | - | Перейти к операции 7 | - |
| 6 | Заменить контроллер ЭСУД. Закончен ли ремонт? | - | Перейти к операции 7 | - |
| 7 | - Используя сканирующий прибор, очистить диагностические коды неисправностей.
- Попытайтесь запустить двигатель.
Двигатель запускается и продолжает работать? | - | Перейти к операции 8 | Перейти к операции 1 |
| 8 | - Дать двигателю поработать на холостом ходу до достижения нормальной рабочей температуры.
- Проверьте, не установлены ли какие-либо диагностические коды неисправности.
Отображены ли диагностические коды неисправности, которые не были продиагностированы? | - | Перейти к разделу "Таблица применимых диагностических кодов неисправности" | Система в норме |
Диагностика топливной системы
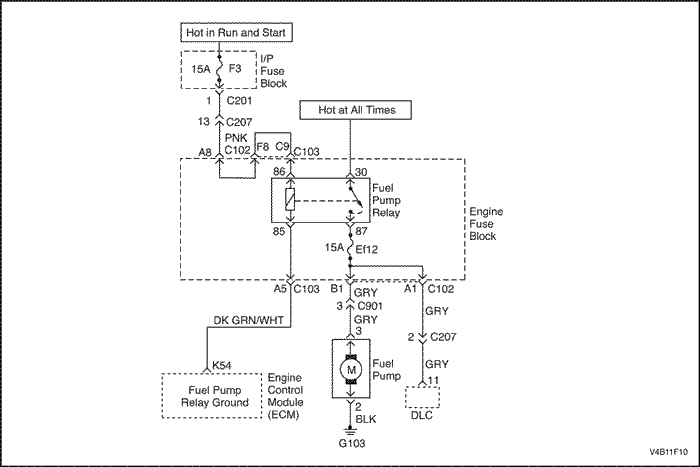
Описание схемы
Топливный насос находится в топливном баке и установлен на узле датчика топлива. Топливный насос остается включенным, пока двигатель запускается стартером или работает или контроллер ЭСУД получает контрольные импульсы от датчика положения коленчатого вала. Если контрольных импульсов нет, контроллер ЭСУД отключит топливный насос через две секунды после включения зажигания или через две секунды после остановки двигателя. Топливный насос подает топливо на топливную рампу и топливные форсунки, где давление в системе подачи топлива поддерживается регулятором давления в диапазоне между 284 и 325 кПa (41 - 47 psi). Избыточное топливо возвращается в топливный бак.
Описание проверки
Последовательность соответствует шагам, указанным в диагностической таблице.
- Когда двигатель работает на холостом ходу, разрежение во впускном коллекторе высоко. Разряжение воздействует на диафрагму регулятора давления топлива, компенсируя давление пружины в регуляторе давления топлива и понижая давление топлива.
- Если топливо возвращается через возвратное отверстие, то неисправен регулятор давления топлива.
- Затрудненный запуск является другим симптомом, часто проявляющимся при неплотных топливных форсунках. Неплотные топливные форсунки могут залить двигатель.
- Утечка топлива из входа в топливный насос связана с дефектом обратного клапана одностороннего действия в топливном насосе.
Внимание! Топливная система находится под давлением. Перед отсоединением топливопроводов во избежание пролива топлива и ожогов следует сбросить давление в системе подачи топлива.
Внимание! Не зажимать и не перегибать нейлоновые топливопроводы во избежание утечки топлива и связанных с ней пожаров и травм.
Сбрасывание давления в системе подачи топлива
- Снять топливную крышку.
- Снять предохранитель топливного насоса EF10 с блока предохранителей топливного насоса.
- Запустить двигатель и заглушить его.
- Провернуть коленчатый вал двигателя еще в течение 10 секунд.
Диагностика топливной системы
| Шаг | Операция | Значения | Да | Нет |
| 1 | - Сбросить давление в системе подачи топлива.
- Установить топливный манометр.
- Включите зажигание.
Давление топлива в пределах установленного значения и держится стабильно? | 284~325 кПа (41-47 psi) | Перейти к операции 2 | Перейти к операции 5 |
| 2 | - Отсоединить вакуумные шланги регулятора давления топлива.
- Запустите двигатель.
- Дать двигателю поработать на холостом ходу.
- Присоединить вакуумные шланги регулятора давления топлива.
Давление топлива понижается? | - | Система в норме | Перейти к операции 3 |
| 3 | - Дать двигателю поработать на холостом ходу.
- Отсоединить вакуумный шланг от регулятора давления топлива.
- Присоединить вакуумный насос с манометром к вакуумному соединению регулятора давления топлива.
- Подать пониженное давление 41~47 кПа (12~14 in. Hg) на регулятор давления топлива.
Давление топлива понижается? | - | Перейти к операции 4 | Перейти к операции 16 |
| 4 | - Найти и исправить причину недостатка пониженного давления в регуляторе давления топлива.
- Проверить работоспособность регулятора давления топлива.
Закончен ли ремонт? | - | Система в норме | - |
| 5 | - Сбросить давление в системе подачи топлива.
- Установить топливный манометр.
- Включите зажигание.
Давление топлива в пределах установленного значения, но не держится стабильно? | 284~325 кПа (41~47 фунтов/кв. дюйм) | Перейти к операции 6 | Перейти к операции 17 |
| 6 | Проверить топливопроводы на утечку. Неисправность обнаружена? | - | Перейти к операции 7 | Перейти к операции 8 |
| 7 | - Заменить топливопровод(ы), если необходимо.
- Установить топливный манометр.
- Включите зажигание.
Давление топлива в пределах установленного значения, но не держится стабильно? | 284~325 кПа (41~47 фунтов/кв. дюйм) | Система в норме | - |
| 8 | - Снять узел топливного насоса.
- Проверить соединительные шланги топливного насоса на утечку под давлением.
Неисправность обнаружена? | - | Перейти к операции 9 | Перейти к операции 10 |
| 9 | - Затянуть или заменить соединительные шланги топливного насоса, если необходимо.
- Установить топливный манометр.
- Включите зажигание.
Давление топлива в пределах установленного значения, но не держится стабильно? | 41–47 psi (284–325 кПa) | Система в норме | - |
| 10 | Проверить возвратное топливное отверстие на утечку под давлением в топливной системе. Неисправность обнаружена? | - | Перейти к операции 11 | Перейти к операции 12 |
| 11 | - Заменить регулятор давления топлива.
- Установить топливный манометр.
- Включите зажигание.
Давление топлива в пределах установленного значения, но не держится стабильно? | 284~325 кПа (41~47 фунтов/кв. дюйм) | Система в норме | - |
| 12 | Проверить входное топливное отверстие на утечку под давлением в топливной системе. Неисправность обнаружена? | - | Перейти к операции 13 | Перейти к операции 14 |
| 13 | - Заменить узел топливного насоса.
- Установить топливный манометр.
- Включите зажигание.
Давление топлива в пределах установленного значения, но не держится стабильно? | 284~325 кПа (41~47 фунтов/кв. дюйм) | Система в норме | - |
| 14 | - Снять топливную рампу и топливные форсунки в сборе.
- Проверить все топливные форсунки на утечку под давлением в топливной системе.
Неисправность обнаружена? | - | Перейти к операции 15 | - |
| 15 | - Заменить протекающие топливные форсунки.
- Установить топливный манометр.
- Включите зажигание.
Давление топлива в пределах установленного значения, но не держится стабильно? | 284~325 кПа (41~47 фунтов/кв. дюйм) | Система в норме | - |
| 16 | - Заменить регулятор давления топлива.
- Отсоединить вакуумные шланги регулятора давления топлива.
- Запустите двигатель.
- Дать двигателю поработать на холостом ходу.
- Присоединить вакуумные шланги регулятора давления топлива.
Давление топлива понижается? | - | Система в норме | - |
| 17 | - Сбросить давление в системе подачи топлива.
- Установить топливный манометр.
- Включите зажигание.
Давление топлива ниже установленного значения и держится стабильно? | 284~325 кПа (41~47 фунтов/кв. дюйм) | Перейти к операции 13 | Перейти к операции 18 |
| 18 | - Сбросить давление в системе подачи топлива.
- Установить топливный манометр.
- Включите зажигание.
Давление топлива ниже установленного значения и держится стабильно? | 284~325 кПа (41~47 фунтов/кв. дюйм) | Перейти к операции 18 | - |
| 19 | Проверить топливопроводы на утечку. Неисправность обнаружена? | - | Перейти к операции 7 | Перейти к операции 20 |
| 20 | - Снять узел топливного насоса.
- Проверить соединительные шланги топливного насоса на утечку под давлением.
Неисправность обнаружена? | - | Перейти к операции 9 | Перейти к операции 21 |
| 21 | - Снять узел топливного насоса.
- Проверить возвратное топливное отверстие на утечку под давлением в топливной системе.
Неисправность обнаружена? | - | Перейти к операции 11 | Перейти к операции 22 |
| 22 | - Снять узел топливного насоса.
- Проверить входное топливное отверстие на утечку под давлением в топливной системе.
Неисправность обнаружена? | - | Перейти к операции 13 | Перейти к операции 23 |
| 23 | - Снять топливную рампу и топливные форсунки в сборе.
- Проверить все топливные форсунки на утечку под давлением в топливной системе.
Неисправность обнаружена? | - | Перейти к операции 15 | Перейти к операции 13 |
Проверка цепи реле топливного насоса
Описание схемы
При включенном зажигании, контроллер ЭСУД подает сигнал на аккумуляторную батарею для активирования реле топливного насоса и работы топливного насоса в топливном баке. Топливный насос работает, пока двигатель запускается стартером или работает, и контроллер ЭСУД получает контрольные импульсы зажигания.
Если контрольных импульсов нет, контроллер ЭСУД отключит топливный насос в течение 2 секунд после включения зажигания.
Указания по диагностике
Неустойчивая проблема может быть вызвана слабым контактом, перетертой изоляции или обрывом проводки под изоляцией.
Описание проверки
Последовательность соответствует шагам, указанным в диагностической таблице.
- Эта операция проверяет сигнал массы, подаваемый контроллером ЭСУД для управления реле топливного насоса.
- Проверяя исправность проводки операциями 2 - 6, можно обнаружить неисправность реле топливного насоса.
- После определения отсутствия сигнала массы, подаваемого контроллером ЭСУД на реле топливного насоса, можно предположить, что неисправность находится в контроллере ЭСУД или в проводке между контроллером ЭСУД и реле топливного насоса.
Проверка цепи реле топливного насоса
| Шаг | Операция | Значения | Да | Нет |
| 1 | - Выключить зажигание на 10 секунд.
- Включите зажигание.
- Прислушайтесь к работе топливного насоса в топливном баке.
Топливный насос работает в течение установленного времени? | 2 сек. | Система в норме | Перейти к операции 2 |
| 2 | - Выключите зажигание.
- Отсоединить реле топливного насоса.
- Присоединить контрольную лампу между клеммой 30 разъема реле топливного насоса и массой.
Включить зажигание. Контрольная лампа загорается? | - | Перейти к операции 3 | Перейти к операции 8 |
| 3 | - Выключите зажигание.
- Присоединить контрольную лампу между клеммой 86 разъема реле топливного насоса и положительным проводом аккумуляторной батареи.
- Включите зажигание.
- При включенном зажигании контрольная лампа должна гореть в течение установленного времени.
Горит ли контрольная лампа? | 2 сек. | Перейти к операции 4 | Перейти к операции 9 |
| 4 | - Выключите зажигание.
- Присоединить контрольную лампу между клеммой 30 разъема реле топливного насоса и массой.
Горит ли контрольная лампа? | - | Перейти к операции 5 | Перейти к операции 11 |
| 5 | Проверить провод между клеммой 87 разъема реле топливного насоса и клеммой 3 разъема топливного насоса на обрыв цепи или замыкание на массу. Неисправность обнаружена? | - | Перейти к операции 6 | Перейти к операции 7 |
| 6 | - Отремонтировать провод между клеммой 87 разъема реле топливного насоса и клеммой 3 разъема топливного насоса.
- Установить реле топливного насоса.
- Выключить зажигание на 10 секунд.
- Включите зажигание.
Топливный насос работает в течение установленного времени? | 2 сек. | Система в норме | - |
| 7 | - Заменить реле топливного насоса.
- Выключить зажигание на 10 секунд.
- Включите зажигание.
Топливный насос работает в течение установленного времени? | 2 сек. | Система в норме | - |
| 8 | Проверить обрыв цепи между клеммой 30 разъема реле топливного насоса и аккумуляторной батареей. Неисправность обнаружена? | - | Перейти к операции 13 | - |
| 9 | Проверить обрыв цепи между клеммой 86 разъема реле топливного насоса и клеммой К54 разъема контроллера ЭСУД. Проблема найдена? | - | Перейти к операции 10 | Перейти к операции 12 |
| 10 | - Отремонтировать провод между клеммой 86 разъема реле топливного насоса и клеммой К54 разъема контроллера ЭСУД.
- Установить реле топливного насоса.
- Выключить зажигание на 10 секунд.
- Включите зажигание.
Топливный насос работает в течение установленного времени? | 2 сек. | Система в норме | - |
| 11 | - Заменить предохранитель F3 или восстановить провод между клеммой 30 разъема реле топливного насоса и аккумуляторной батареей.
- Установить реле топливного насоса.
- Выключить зажигание на 10 секунд.
- Включите зажигание.
Топливный насос работает в течение установленного времени? | 2 сек. | Система в норме | - |
| 12 | - Выключите зажигание.
- Заменить контроллер ЭСУД.
- Включите зажигание.
Топливный насос работает в течение установленного времени? | 2 сек. | Система в норме | - |
| 13 | - Заменить предохранитель F3 или восстановить провод между клеммой 30 разъема реле топливного насоса и системой зажигания.
- Установить реле топливного насоса.
- Выключить зажигание на 10 секунд.
- Включите зажигание.
Топливный насос работает в течение установленного времени? | 2 сек. | Система в норме | - |
 | |  | |