Диагностический код неисправности (DTC) 55
Цепь срабатывания боковой подушки безопасности водителя закорочена на напряжение питания
Описание схемы
При установке ключа зажигания в положение ON модуль датчиков и диагностики (SDM) выполняет начальную проверку для выявления существенных неполадок внутри самого SDM.
После этих проверок модуль измеряет напряжения в цепях зажигания и срабатывания подушек безопасности, проверяя, что они находятся в номинальных диапазонах. SDM контролирует напряжения на проводах нижнего уровня подушек водителя и пассажира, выявляя замыкание цепей срабатывания на массу или напряжение питания.
Модуль датчиков и диагностики (SDM) проверяет проводку к модулю боковой подушки безопасности водителя, пропуская ничтожно малый ток через внутреннюю цепь и проверяя ее сопротивление.
Диагностический код неисправности DTC 55 записывается, когда
- Провод верхнего уровня проводки боковой подушки безопасности водителя закорочен на провод аккумулятора.
- Провод нижнего уровня проводки боковой подушки безопасности водителя закорочен на провод аккумулятора.
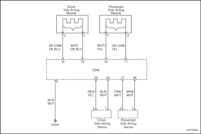
DTC 55 Цепь срабатывания боковой подушки безопасности водителя закорочена на напряжение питания
Внимание! Модуль датчиков и диагностики (SDM) может сохранять достаточное напряжение для приведения в действие подушек безопасности и натяжителей в течение 1 минуты после выключения зажигания и удаления предохранителя. Если подушки безопасности и натяжители не отсоединены, не начинайте обслуживание, пока не пройдет одна минута после отключения питания от SDM. Несоблюдение этого требования может привести к травмам.
Внимание! В процессе обслуживания обращайтесь с модулем датчиков и диагностики (SDM) очень осторожно. Не ударяйте и не встряхивайте SDM. Никогда не подключайте питание к системе надувных подушек безопасности (SIR), если SDM не соединен жестко с автомобилем. Чтобы система надувных подушек безопасности (SIR) работала правильно, все болты крепления модуля датчиков и диагностики SDM должны быть тщательно затянуты, а стрелка на SDM должна быть направлена к передней части автомобиля. При недостаточно жестком креплении модуля SDM к автомобилю включенный модуль может сработать, что приведет к неожиданному выпуску подушек безопасности и может повлечь травму.
| Шаг | Операция | Значения | Да | Нет |
| 1 | - Удостоверьтесь, что ключ зажигания находится в положении OFF.
- Подождите минуту, чтобы разрядить заряд блока питания модуля датчиков и диагностики (SDM).
| - | Перейдите на Шаг 2 | - |
| 2 | Осмотрите проводку подушки безопасности на предмет повреждений. Проводка надувной подушки безопасности повреждена? | - | Замените проводку надувной подушки безопасности. | Перейдите на Шаг 3 |
| 3 | - Удостоверьтесь, что ключ зажигания находится в положении OFF.
- Отключите разъем модуля боковой подушки безопасности водителя.
- Отключите разъем проводки модуля датчиков и диагностики (SDM).
- Проверьте сопротивление между модулем SDM и выводами верхнего и нижнего уровня модуля боковой подушки безопасности водителя и аккумулятором.
Проверить сопротивление между выводами верхнего и нижнего уровня модуля боковой подушки безопасности водителя и аккумулятором. Сопротивление равно ∞? | ∞ | Перейдите на Шаг 4 | Замените проводку надувной подушки безопасности. |
| 4 | - Замените модуль датчиков и диагностики.
- Удостоверьтесь, что ключ зажигания находится в положении ON.
- Сотрите диагностический код неисправности с помощью диагностического прибора.
- Выполните проверку диагностической системы системы надувных подушек безопасности (SIR).
Диагностический код неисправности удален? | - | Система в норме. | Замените модуль боковой подушки безопасности водителя. |
Диагностический код неисправности (DTC) 56
Высокое сопротивление цепи срабатывания боковой подушки безопасности пассажира
Описание схемы
При установке ключа зажигания в положение ON модуль датчиков и диагностики (SDM) выполняет начальную проверку для выявления существенных неполадок внутри самого SDM.
После этих проверок модуль измеряет напряжения в цепях зажигания и срабатывания подушек безопасности, проверяя, что они находятся в номинальных диапазонах. SDM контролирует напряжения на проводах нижнего уровня подушек водителя и пассажира, выявляя замыкание цепей срабатывания на массу или напряжение питания. Модуль датчиков и диагностики (SDM) проверяет проводку к модулю боковой подушки безопасности пассажира, пропуская ничтожно малый ток через внутреннюю цепь и проверяя ее сопротивление.
Диагностический код неисправности DTC 56 записывается, когда
- Сопротивление цепи срабатывания боковой подушки безопасности пассажира превышает 2,8 Ом.
DTC 56 Высокое сопротивление цепи срабатывания боковой подушки безопасности пассажира
Внимание! Модуль датчиков и диагностики (SDM) может сохранять достаточное напряжение для приведения в действие подушек безопасности и натяжителей в течение 1 минуты после выключения зажигания и удаления предохранителя. Если подушки безопасности и натяжители не отсоединены, не начинайте обслуживание, пока не пройдет одна минута после отключения питания от SDM. Несоблюдение этого требования может привести к травмам.
Внимание! В процессе обслуживания обращайтесь с модулем датчиков и диагностики (SDM) очень осторожно. Не ударяйте и не встряхивайте SDM. Никогда не подключайте питание к системе надувных подушек безопасности (SIR), если SDM не соединен жестко с автомобилем. Чтобы система надувных подушек безопасности (SIR) работала правильно, все болты крепления модуля датчиков и диагностики SDM должны быть тщательно затянуты, а стрелка на SDM должна быть направлена к передней части автомобиля. При недостаточно жестком креплении модуля SDM к автомобилю включенный модуль может сработать, что приведет к неожиданному выпуску подушек безопасности и может повлечь травму.
| Шаг | Операция | Значения | Да | Нет |
| 1 | - Удостоверьтесь, что ключ зажигания находится в положении OFF.
- Подождите минуту, чтобы разрядить заряд блока питания модуля датчиков и диагностики.
| - | Перейдите на Шаг 2 | - |
| 2 | Осмотрите проводку и разъем боковой подушки безопасности пассажира на предмет повреждений. Разъем отключен? | - | Подключите разъем и Перейдите на Шаг 1 | Перейдите на Шаг 3 |
| 3 | - Удостоверьтесь, что ключ зажигания находится в положении OFF.
- Отключите разъем модуля боковой подушки безопасности пассажира.
- Отключите разъем проводки модуля датчиков и диагностики (SDM).
- Проверить сопротивление между выводами 1,2 модуля боковой подушки безопасности пассажира и выводами 16,17 модуля датчиков и диагностики (SDM).
Сопротивление равно 0 (нулю)? | ≈ 0 Ом | Перейдите на Шаг 4 | Замените проводку надувной подушки безопасности. |
| 4 | - Замените модуль датчиков и диагностики.
- Удостоверьтесь, что ключ зажигания находится в положении ON.
- Стереть диагностический код неисправности с помощью диагностического прибора
- Выполните проверку диагностической системы системы надувных подушек безопасности (SIR).
Диагностический код неисправности удален? | - | Система в норме. | Замените модуль боковой подушки безопасности пассажира. |
Диагностический код неисправности (DTC) 57
Низкое сопротивление цепи срабатывания боковой подушки безопасности пассажира
Описание схемы
При установке ключа зажигания в положение ON модуль датчиков и диагностики (SDM) выполняет начальную проверку для выявления существенных неполадок внутри самого SDM.
После этих проверок модуль измеряет напряжения в цепях зажигания и срабатывания подушек безопасности, проверяя, что они находятся в номинальных диапазонах. SDM контролирует напряжения на проводах нижнего уровня подушек водителя и пассажира, выявляя замыкание цепей срабатывания на массу или напряжение питания.
Модуль датчиков и диагностики (SDM) проверяет проводку к модулю боковой подушки безопасности пассажира, пропуская ничтожно малый ток через внутреннюю цепь и проверяя ее сопротивление.
Диагностический код неисправности DTC 57 записывается, когда
- Сопротивление цепи срабатывания боковой подушки безопасности пассажира ниже 1,4 Ом.
- Повреждена закорачивающая перемычка, модуль датчиков и диагностики (SDM) необходимо заменить.
DTC 57 Низкое сопротивление цепи срабатывания боковой подушки безопасности пассажира
Внимание! Модуль датчиков и диагностики (SDM) может сохранять достаточное напряжение для приведения в действие подушек безопасности и натяжителей в течение 1 минуты после выключения зажигания и удаления предохранителя. Если подушки безопасности и натяжители не отсоединены, не начинайте обслуживание, пока не пройдет одна минута после отключения питания от SDM. Несоблюдение этого требования может привести к травмам.
Внимание! В процессе обслуживания обращайтесь с модулем датчиков и диагностики (SDM) очень осторожно. Не ударяйте и не встряхивайте SDM. Никогда не подключайте питание к системе надувных подушек безопасности (SIR), если SDM не соединен жестко с автомобилем. Чтобы система надувных подушек безопасности (SIR) работала правильно, все болты крепления модуля датчиков и диагностики SDM должны быть тщательно затянуты, а стрелка на SDM должна быть направлена к передней части автомобиля. При недостаточно жестком креплении модуля SDM к автомобилю включенный модуль может сработать, что приведет к неожиданному выпуску подушек безопасности и может повлечь травму.
| Шаг | Операция | Значения | Да | Нет |
| 1 | - Удостоверьтесь, что ключ зажигания находится в положении OFF.
- Подождите минуту, чтобы разрядить заряд блока питания модуля датчиков и диагностики.
| - | Перейдите на Шаг 2 | - |
| 2 | Осмотреть разъем и проводку боковой подушки безопасности пассажира. Проводка повреждена? | - | Замените проводку надувной подушки безопасности. | Перейдите на Шаг 3 |
| 3 | - Удостоверьтесь, что ключ зажигания находится в положении OFF.
- Отключите разъем модуля боковой подушки безопасности пассажира.
- Отсоединить разъем модуля датчиков и диагностики (SDM).
- Проверьте сопротивление между выводами 1 и 2 модуля боковой подушки безопасности пассажира.
Сопротивление равно ∞? | ∞ | Перейдите на Шаг 4 | Замените проводку надувной подушки безопасности. |
| 4 | - Замените модуль датчиков и диагностики.
- Удостоверьтесь, что ключ зажигания находится в положении ON.
- Сотрите диагностический код неисправности с помощью диагностического прибора.
- Выполните проверку диагностической системы системы надувных подушек безопасности (SIR).
Диагностический код неисправности удален? | - | Перейдите на Шаг 4 | Замените модуль боковой подушки безопасности пассажира. |
Диагностический код неисправности (DTC) 58
Цепь срабатывания боковой подушки безопасности пассажира закорочена на массу
Описание схемы
При установке ключа зажигания в положение ON модуль датчиков и диагностики (SDM) выполняет начальную проверку для выявления существенных неполадок внутри самого SDM.
После этих проверок модуль измеряет напряжения в цепях зажигания и срабатывания подушек безопасности, проверяя, что они находятся в номинальных диапазонах. SDM контролирует напряжения на проводах нижнего уровня подушек водителя и пассажира, выявляя замыкание цепей срабатывания на массу или напряжение питания.
Модуль датчиков и диагностики (SDM) проверяет проводку к модулю боковой подушки безопасности пассажира, пропуская ничтожно малый ток через внутреннюю цепь и проверяя ее сопротивление.
Диагностический код неисправности DTC 58 записывается, когда
- Провод верхнего уровня проводки боковой подушки безопасности пассажира закорочен на массу.
- Провод нижнего уровня проводки боковой подушки безопасности пассажира закорочен на массу.
DTC 58 Цепь срабатывания боковой подушки безопасности пассажира закорочена на массу
Внимание! Модуль датчиков и диагностики (SDM) может сохранять достаточное напряжение для приведения в действие подушек безопасности и натяжителей в течение 1 минуты после выключения зажигания и удаления предохранителя. Если подушки безопасности и натяжители не отсоединены, не начинайте обслуживание, пока не пройдет одна минута после отключения питания от SDM. Несоблюдение этого требования может привести к травмам.
Внимание! В процессе обслуживания обращайтесь с модулем датчиков и диагностики (SDM) очень осторожно. Не ударяйте и не встряхивайте SDM. Никогда не подключайте питание к системе надувных подушек безопасности (SIR), если SDM не соединен жестко с автомобилем. Чтобы система надувных подушек безопасности (SIR) работала правильно, все болты крепления модуля датчиков и диагностики SDM должны быть тщательно затянуты, а стрелка на SDM должна быть направлена к передней части автомобиля. При недостаточно жестком креплении модуля SDM к автомобилю включенный модуль может сработать, что приведет к неожиданному выпуску подушек безопасности и может повлечь травму.
| Шаг | Операция | Значения | Да | Нет |
| 1 | - Удостоверьтесь, что ключ зажигания находится в положении OFF.
- Подождите минуту, чтобы разрядить заряд блока питания модуля датчиков и диагностики (SDM).
| - | Перейдите на Шаг 2 | - |
| 2 | Осмотрите проводку подушки безопасности на предмет повреждений. Проводка надувной подушки безопасности повреждена? | - | Замените проводку надувной подушки безопасности. | Перейдите на Шаг 3 |
| 3 | - Удостоверьтесь, что ключ зажигания находится в положении OFF.
- Отключите разъем модуля боковой подушки безопасности пассажира.
- Отсоединить разъем модуля датчиков и диагностики (SDM).
- Проверить сопротивление между выводами верхнего и нижнего уровня модуля боковой подушки безопасности пассажира и массой.
Сопротивление равно ∞? | ∞ | Перейдите на Шаг 4 | Замените проводку надувной подушки безопасности. |
| 4 | - Замените модуль датчиков и диагностики.
- Удостоверьтесь, что ключ зажигания находится в положении ON.
- Сотрите диагностический код неисправности с помощью диагностического прибора.
- Выполните проверку диагностической системы системы надувных подушек безопасности (SIR).
Диагностический код неисправности удален? | - | Система в норме. | Замените модуль боковой подушки безопасности пассажира. |
Диагностический код неисправности (DTC) 59
Цепь срабатывания боковой подушки безопасности пассажира закорочена на напряжение питания
Описание схемы
При установке ключа зажигания в положение ON модуль датчиков и диагностики (SDM) выполняет начальную проверку для выявления существенных неполадок внутри самого SDM.
После этих проверок модуль измеряет напряжения в цепях зажигания и срабатывания подушек безопасности, проверяя, что они находятся в номинальных диапазонах. SDM контролирует напряжения на проводах нижнего уровня подушек водителя и пассажира, выявляя замыкание цепей срабатывания на массу или напряжение питания.
Модуль датчиков и диагностики (SDM) проверяет проводку к модулю боковой подушки безопасности пассажира, пропуская ничтожно малый ток через внутреннюю цепь и проверяя ее сопротивление.
Диагностический код неисправности DTC 59 записывается, когда
- Провод верхнего уровня проводки боковой подушки безопасности пассажира закорочен на провод аккумулятора.
- Провод нижнего уровня проводки боковой подушки безопасности пассажира закорочен на провод аккумулятора.
DTC 59 Цепь срабатывания боковой подушки безопасности пассажира закорочена на напряжение питания
Внимание! Модуль датчиков и диагностики (SDM) может сохранять достаточное напряжение для приведения в действие подушек безопасности и натяжителей в течение 1 минуты после выключения зажигания и удаления предохранителя. Если подушки безопасности и натяжители не отсоединены, не начинайте обслуживание, пока не пройдет одна минута после отключения питания от SDM. Несоблюдение этого требования может привести к травмам.
Внимание! В процессе обслуживания обращайтесь с модулем датчиков и диагностики (SDM) очень осторожно. Не ударяйте и не встряхивайте SDM. Никогда не подключайте питание к системе надувных подушек безопасности (SIR), если SDM не соединен жестко с автомобилем. Чтобы система надувных подушек безопасности (SIR) работала правильно, все болты крепления модуля датчиков и диагностики SDM должны быть тщательно затянуты, а стрелка на SDM должна быть направлена к передней части автомобиля. При недостаточно жестком креплении модуля SDM к автомобилю включенный модуль может сработать, что приведет к неожиданному выпуску подушек безопасности и может повлечь травму.
| Шаг | Операция | Значения | Да | Нет |
| 1 | - Удостоверьтесь, что ключ зажигания находится в положении OFF.
- Подождите минуту, чтобы разрядить заряд блока питания модуля датчиков и диагностики (SDM).
| - | Перейти на Шаг 2 | - |
| 2 | Осмотрите проводку подушки безопасности на предмет повреждений. Проводка надувной подушки безопасности повреждена? | - | Замените проводку надувной подушки безопасности. | Перейдите на Шаг 3 |
| 3 | - Удостоверьтесь, что ключ зажигания находится в положении OFF.
- Отключите разъем модуля боковой подушки безопасности пассажира.
- Отсоединить разъем модуля датчиков и диагностики (SDM).
- Проверить сопротивление между выводами верхнего и нижнего уровня модуля боковой подушки безопасности пассажира и аккумулятором.
Сопротивление равно ∞? | ∞ | Перейдите на Шаг 4 | Замените проводку надувной подушки безопасности. |
| 4 | - Замените модуль датчиков и диагностики.
- Удостоверьтесь, что ключ зажигания находится в положении ON.
- Сотрите диагностический код неисправности с помощью диагностического прибора.
- Выполните проверку диагностической системы системы надувных подушек безопасности (SIR).
Диагностический код неисправности удален? | - | Система в норме. | Замените модуль боковой подушки безопасности пассажира. |
Диагностический код неисправности (DTC) 80
Цепь датчика боковой подушки безопасности водителя закорочена на напряжение питания
Описание схемы
При установке ключа зажигания в положение ON модуль датчиков и диагностики (SDM) выполняет начальную проверку для выявления существенных неполадок внутри самого SDM.
После этих проверок модуль измеряет напряжения в цепях зажигания и срабатывания подушек безопасности, проверяя, что они находятся в номинальных диапазонах. SDM контролирует напряжения на проводах нижнего уровня подушек водителя и пассажира, выявляя замыкание цепей срабатывания на массу или напряжение питания.
Диагностический код неисправности DTC 80 записывается, когда
- Провод верхнего уровня проводки датчика боковой подушки безопасности водителя закорочен на провод аккумулятора.
- Провод нижнего уровня проводки датчика боковой подушки безопасности водителя закорочен на провод аккумулятора.
DTC 80 Цепь датчика боковой подушки безопасности водителя закорочена на напряжение питания
Внимание! Модуль датчиков и диагностики (SDM) может сохранять достаточное напряжение для приведения в действие подушек безопасности и натяжителей в течение 1 минуты после выключения зажигания и удаления предохранителя. Если подушки безопасности и натяжители не отсоединены, не начинайте обслуживание, пока не пройдет одна минута после отключения питания от SDM. Несоблюдение этого требования может привести к травмам.
Внимание! В процессе обслуживания обращайтесь с модулем датчиков и диагностики (SDM) очень осторожно. Не ударяйте и не встряхивайте SDM. Никогда не подключайте питание к системе надувных подушек безопасности (SIR), если SDM не соединен жестко с автомобилем. Чтобы система надувных подушек безопасности (SIR) работала правильно, все болты крепления модуля датчиков и диагностики SDM должны быть тщательно затянуты, а стрелка на SDM должна быть направлена к передней части автомобиля. При недостаточно жестком креплении модуля SDM к автомобилю включенный модуль может сработать, что приведет к неожиданному выпуску подушек безопасности и может повлечь травму.
| Шаг | Операция | Значения | Да | Нет |
| 1 | - Удостоверьтесь, что ключ зажигания находится в положении OFF.
- Подождите минуту, чтобы разрядить заряд блока питания модуля датчиков и диагностики (SDM).
| - | Перейдите на Шаг 2 | - |
| 2 | Осмотрите проводку и разъем датчика боковой подушки безопасности пассажира на предмет повреждений. Проводка повреждена или разъем отключен? | - | Перейдите на Шаг 3 | Перейдите на Шаг 4 |
| 3 | Подключить разъем или заменить проводку. Проверьте систему еще раз. | - | - | - |
| 4 | - Удостоверьтесь, что ключ зажигания находится в положении OFF.
- Отсоединить разъем датчика боковой подушки безопасности водителя.
- Отключите разъем проводки модуля датчиков и диагностики (SDM).
- Проверить сопротивление между выводами 45, 20 модуля SDM и выводами 1, 2 датчика боковой подушки безопасности водителя.
Сопротивление близко к 0 (нулю)? | ≈ 0 Ом | Перейдите на Шаг 5 | Замените проводку надувной подушки безопасности. |
| 5 | Проверить сопротивление между выводами верхнего и нижнего уровня датчика боковой подушки безопасности водителя и аккумулятором. Сопротивление равно ∞? | ∞ | Перейдите на Шаг 6 | Замените проводку надувной подушки безопасности. |
| 6 | - Замените датчик боковой подушки безопасности водителя.
- Удостоверьтесь, что ключ зажигания находится в положении ON.
- Сотрите диагностический код неисправности с помощью диагностического прибора.
- Выполните проверку диагностической системы системы надувных подушек безопасности (SIR).
Диагностический код неисправности удален? | - | Система в норме. | Замените модуль датчиков и диагностики. |
Диагностический код неисправности (DTC) 81
Цепь датчика боковой подушки безопасности водителя закорочена на массу
Описание схемы
При установке ключа зажигания в положение ON модуль датчиков и диагностики (SDM) выполняет начальную проверку для выявления существенных неполадок внутри самого SDM.
После этих проверок модуль измеряет напряжения в цепях зажигания и срабатывания подушек безопасности, проверяя, что они находятся в номинальных диапазонах. SDM контролирует напряжения на проводах нижнего уровня подушек водителя и пассажира, выявляя замыкание цепей срабатывания на массу или напряжение питания.
Диагностический код неисправности DTC 81 записывается, когда
- Провод верхнего уровня проводки датчика боковой подушки безопасности водителя закорочен на массу.
- Провод нижнего уровня проводки датчика боковой подушки безопасности водителя закорочен на массу.
DTC 81 Цепь датчика боковой подушки безопасности водителя закорочена на массу
Внимание! Модуль датчиков и диагностики (SDM) может сохранять достаточное напряжение для приведения в действие подушек безопасности и натяжителей в течение 1 минуты после выключения зажигания и удаления предохранителя. Если подушки безопасности и натяжители не отсоединены, не начинайте обслуживание, пока не пройдет одна минута после отключения питания от SDM. Несоблюдение этого требования может привести к травмам.
Внимание! В процессе обслуживания обращайтесь с модулем датчиков и диагностики (SDM) очень осторожно. Не ударяйте и не встряхивайте SDM. Никогда не подключайте питание к системе надувных подушек безопасности (SIR), если SDM не соединен жестко с автомобилем. Чтобы система надувных подушек безопасности (SIR) работала правильно, все болты крепления модуля датчиков и диагностики SDM должны быть тщательно затянуты, а стрелка на SDM должна быть направлена к передней части автомобиля. При недостаточно жестком креплении модуля SDM к автомобилю включенный модуль может сработать, что приведет к неожиданному выпуску подушек безопасности и может повлечь травму.
| Шаг | Операция | Значения | Да | Нет |
| 1 | - Удостоверьтесь, что ключ зажигания находится в положении OFF.
- Подождите минуту, чтобы разрядить заряд блока питания модуля датчиков и диагностики (SDM).
| - | Перейдите на Шаг 2 | - |
| 2 | Осмотрите проводку и разъем датчика боковой подушки безопасности пассажира на предмет повреждений. Проводка или разъем повреждены? | - | Замените проводку надувной подушки безопасности. | Перейдите на Шаг 3 |
| 3 | - Удостоверьтесь, что ключ зажигания находится в положении OFF.
- Отсоединить разъем датчика боковой подушки безопасности водителя.
- Отключите разъем проводки модуля датчиков и диагностики (SDM).
- Проверить сопротивление между выводами 1, 2 датчика боковой подушки безопасности водителя.
Сопротивление равно ∞? | ∞ | Перейдите на Шаг 4 | Замените проводку надувной подушки безопасности. |
| 4 | Проверить сопротивление между выводами верхнего и нижнего уровня датчика боковой подушки безопасности водителя и массой. Сопротивление равно ∞? | ∞ | Перейдите на Шаг 5 | Замените проводку надувной подушки безопасности. |
| 5 | - Замените датчик боковой подушки безопасности водителя.
- Удостоверьтесь, что ключ зажигания находится в положении ON.
- Сотрите диагностический код неисправности с помощью диагностического прибора.
- Выполните проверку диагностической системы системы надувных подушек безопасности (SIR).
Диагностический код неисправности удален? | - | Система в норме. | Замените модуль датчиков и диагностики. |
Диагностический код неисправности (DTC) 82
Ошибка передачи данных датчика боковой подушки безопасности водителя
Описание схемы
При установке ключа зажигания в положение ON модуль датчиков и диагностики (SDM) выполняет начальную проверку для выявления существенных неполадок внутри самого SDM.
После этих проверок модуль измеряет напряжения в цепях зажигания и срабатывания подушек безопасности, проверяя, что они находятся в номинальных диапазонах. SDM контролирует напряжения на проводах нижнего уровня подушек водителя и пассажира, выявляя замыкание цепей срабатывания на массу или напряжение питания.
Диагностический код неисправности DTC 82 записывается, когда
- Произошла ошибка передачи данных между модулем датчиков и диагностики (SDM) и датчиком боковой подушки безопасности водителя.
DTC 82 Ошибка передачи данных датчика боковой подушки безопасности водителя
Внимание! Модуль датчиков и диагностики (SDM) может сохранять достаточное напряжение для приведения в действие подушек безопасности и натяжителей в течение 1 минуты после выключения зажигания и удаления предохранителя. Если подушки безопасности и натяжители не отсоединены, не начинайте обслуживание, пока не пройдет одна минута после отключения питания от SDM. Несоблюдение этого требования может привести к травмам.
Внимание! В процессе обслуживания обращайтесь с модулем датчиков и диагностики (SDM) очень осторожно. Не ударяйте и не встряхивайте SDM. Никогда не подключайте питание к системе надувных подушек безопасности (SIR), если SDM не соединен жестко с автомобилем. Чтобы система надувных подушек безопасности (SIR) работала правильно, все болты крепления модуля датчиков и диагностики SDM должны быть тщательно затянуты, а стрелка на SDM должна быть направлена к передней части автомобиля. При недостаточно жестком креплении модуля SDM к автомобилю включенный модуль может сработать, что приведет к неожиданному выпуску подушек безопасности и может повлечь травму.
| Шаг | Операция | Значения | Да | Нет |
| 1 | - Удостоверьтесь, что ключ зажигания находится в положении OFF.
- Подождите минуту, чтобы разрядить заряд блока питания модуля датчиков и диагностики (SDM).
- Осмотрите проводку и разъем датчика боковой подушки безопасности пассажира на предмет повреждений.
Проводка подушки безопасности и разъем в порядке? | - | Перейдите на Шаг 3 | Перейдите на Шаг 2 |
| 2 | Замените проводку подушки безопасности и подключите разъем. | - | - | - |
| 3 | - Замените датчик боковой подушки безопасности водителя.
- Удостоверьтесь, что ключ зажигания находится в положении ON.
- Сотрите диагностический код неисправности с помощью диагностического прибора.
- Проверьте цепь.
Диагностический код неисправности (DTC) остался? | - | Перейдите на Шаг 4 | Система в норме. |
| 4 | Замените модуль датчиков и диагностики. | - | - | - |
Диагностический код неисправности (DTC) 83
Неисправность датчика боковой подушки безопасности водителя
Описание схемы
При установке ключа зажигания в положение ON модуль датчиков и диагностики (SDM) выполняет начальную проверку для выявления существенных неполадок внутри самого SDM.
После этих проверок модуль измеряет напряжения в цепях зажигания и срабатывания подушек безопасности, проверяя, что они находятся в номинальных диапазонах. SDM контролирует напряжения на проводах нижнего уровня подушек водителя и пассажира, выявляя замыкание цепей срабатывания на массу или напряжение питания.
Диагностический код неисправности DTC 83 записывается, когда
- Датчик боковой подушки безопасности водителя неисправен.
DTC 83 Неисправность датчика боковой подушки безопасности водителя
Внимание! Модуль датчиков и диагностики (SDM) может сохранять достаточное напряжение для приведения в действие подушек безопасности и натяжителей в течение 1 минуты после выключения зажигания и удаления предохранителя. Если подушки безопасности и натяжители не отсоединены, не начинайте обслуживание, пока не пройдет одна минута после отключения питания от SDM. Несоблюдение этого требования может привести к травмам.
Внимание! В процессе обслуживания обращайтесь с модулем датчиков и диагностики (SDM) очень осторожно. Не ударяйте и не встряхивайте SDM. Никогда не подключайте питание к системе надувных подушек безопасности (SIR), если SDM не соединен жестко с автомобилем. Чтобы система надувных подушек безопасности (SIR) работала правильно, все болты крепления модуля датчиков и диагностики SDM должны быть тщательно затянуты, а стрелка на SDM должна быть направлена к передней части автомобиля. При недостаточно жестком креплении модуля SDM к автомобилю включенный модуль может сработать, что приведет к неожиданному выпуску подушек безопасности и может повлечь травму.
| Шаг | Операция | Значения | Да | Нет |
| 1 | - Удостоверьтесь, что ключ зажигания находится в положении OFF.
- Подождите минуту, чтобы разрядить заряд блока питания модуля датчиков и диагностики (SDM).
- Осмотрите проводку и разъем датчика боковой подушки безопасности пассажира на предмет повреждений.
Есть повреждения проводки подушки безопасности или разъема? | - | Перейдите на Шаг 2 | Перейдите на Шаг 3 |
| 2 | Замените проводку датчика подушки безопасности. | - | - | - |
| 3 | Замените датчик боковой подушки безопасности водителя. | - | - | - |
Диагностический код неисправности (DTC) 84
Цепь датчика боковой подушки безопасности пассажира закорочена на напряжение питания
Описание схемы
При установке ключа зажигания в положение ON модуль датчиков и диагностики (SDM) выполняет начальную проверку для выявления существенных неполадок внутри самого SDM.
После этих проверок модуль измеряет напряжения в цепях зажигания и срабатывания подушек безопасности, проверяя, что они находятся в номинальных диапазонах. SDM контролирует напряжения на проводах нижнего уровня подушек водителя и пассажира, выявляя замыкание цепей срабатывания на массу или напряжение питания.
Диагностический код неисправности DTC 84 записывается, когда
- Провод верхнего уровня проводки датчика боковой подушки безопасности пассажира закорочен на провод аккумулятора.
- Провод нижнего уровня проводки датчика боковой подушки безопасности пассажира закорочен на провод аккумулятора.
DTC 84 Цепь датчика боковой подушки безопасности пассажира закорочена на напряжение питания
Внимание! Модуль датчиков и диагностики (SDM) может сохранять достаточное напряжение для приведения в действие подушек безопасности и натяжителей в течение 1 минуты после выключения зажигания и удаления предохранителя. Если подушки безопасности и натяжители не отсоединены, не начинайте обслуживание, пока не пройдет одна минута после отключения питания от SDM. Несоблюдение этого требования может привести к травмам.
Внимание! В процессе обслуживания обращайтесь с модулем датчиков и диагностики (SDM) очень осторожно. Не ударяйте и не встряхивайте SDM. Никогда не подключайте питание к системе надувных подушек безопасности (SIR), если SDM не соединен жестко с автомобилем. Чтобы система надувных подушек безопасности (SIR) работала правильно, все болты крепления модуля датчиков и диагностики SDM должны быть тщательно затянуты, а стрелка на SDM должна быть направлена к передней части автомобиля. При недостаточно жестком креплении модуля SDM к автомобилю включенный модуль может сработать, что приведет к неожиданному выпуску подушек безопасности и может повлечь травму.
| Шаг | Операция | Значения | Да | Нет |
| 1 | - Удостоверьтесь, что ключ зажигания находится в положении OFF.
- Подождите минуту, чтобы разрядить заряд блока питания модуля датчиков и диагностики (SDM).
| - | Перейдите на Шаг 2 | - |
| 2 | Осмотрите проводку и разъем датчика боковой подушки безопасности пассажира на предмет повреждений. Проводка повреждена или разъем отключен? | - | Перейдите на Шаг 3 | Перейдите на Шаг 4 |
| 3 | Подключить разъем или заменить проводку. Проверьте систему еще раз. | - | - | - |
| 4 | - Удостоверьтесь, что ключ зажигания находится в положении OFF.
- Отсоединить разъем датчика боковой подушки безопасности пассажира.
- Отключите разъем проводки модуля датчиков и диагностики (SDM).
- Проверить сопротивление между выводами 46, 21 модуля SDM и выводами 1, 2 датчика боковой подушки безопасности пассажира.
Сопротивление близко к 0 (нулю)? | ≈ 0 Ом | Перейдите на Шаг 5 | Замените проводку надувной подушки безопасности. |
| 5 | Проверить сопротивление между выводами верхнего и нижнего уровня датчика боковой подушки безопасности пассажира и аккумулятором. Сопротивление равно ∞? | ∞ | Перейдите на Шаг 6 | Замените проводку надувной подушки безопасности. |
| 6 | - Замените датчик боковой подушки безопасности пассажира.
- Удостоверьтесь, что ключ зажигания находится в положении ON.
- Сотрите диагностический код неисправности с помощью диагностического прибора.
- Выполните проверку диагностической системы системы надувных подушек безопасности (SIR).
Диагностический код неисправности удален? | - | Система в норме. | Замените модуль датчиков и диагностики. |
Диагностический код неисправности (DTC) 85
Цепь датчика боковой подушки безопасности пассажира закорочена на массу
Описание схемы
При установке ключа зажигания в положение ON модуль датчиков и диагностики (SDM) выполняет начальную проверку для выявления существенных неполадок внутри самого SDM.
После этих проверок модуль измеряет напряжения в цепях зажигания и срабатывания подушек безопасности, проверяя, что они находятся в номинальных диапазонах. SDM контролирует напряжения на проводах нижнего уровня подушек водителя и пассажира, выявляя замыкание цепей срабатывания на массу или напряжение питания.
Диагностический код неисправности DTC 84 записывается, когда
- Провод верхнего уровня проводки датчика боковой подушки безопасности пассажира закорочен на массу.
- Провод нижнего уровня проводки датчика боковой подушки безопасности пассажира закорочен на массу.
DTC 85 Цепь датчика боковой подушки безопасности пассажира закорочена на массу
Внимание! Модуль датчиков и диагностики (SDM) может сохранять достаточное напряжение для приведения в действие подушек безопасности и натяжителей в течение 1 минуты после выключения зажигания и удаления предохранителя. Если подушки безопасности и натяжители не отсоединены, не начинайте обслуживание, пока не пройдет одна минута после отключения питания от SDM. Несоблюдение этого требования может привести к травмам.
Внимание! В процессе обслуживания обращайтесь с модулем датчиков и диагностики (SDM) очень осторожно. Не ударяйте и не встряхивайте SDM. Никогда не подключайте питание к системе надувных подушек безопасности (SIR), если SDM не соединен жестко с автомобилем. Чтобы система надувных подушек безопасности (SIR) работала правильно, все болты крепления модуля датчиков и диагностики SDM должны быть тщательно затянуты, а стрелка на SDM должна быть направлена к передней части автомобиля. При недостаточно жестком креплении модуля SDM к автомобилю включенный модуль может сработать, что приведет к неожиданному выпуску подушек безопасности и может повлечь травму.
| Шаг | Операция | Значения | Да | Нет |
| 1 | - Удостоверьтесь, что ключ зажигания находится в положении OFF.
- Подождите минуту, чтобы разрядить заряд блока питания модуля датчиков и диагностики (SDM).
| - | Перейдите на Шаг 2 | - |
| 2 | Осмотрите проводку и разъем датчика боковой подушки безопасности пассажира на предмет повреждений. Проводка или разъем повреждены? | - | Замените проводку надувной подушки безопасности. | Перейдите на Шаг 3 |
| 3 | - Удостоверьтесь, что ключ зажигания находится в положении OFF.
- Отсоединить разъем датчика боковой подушки безопасности пассажира.
- Отключите разъем проводки модуля датчиков и диагностики (SDM).
- Проверить сопротивление между выводами 1, 2 датчика боковой подушки безопасности пассажира.
Сопротивление равно ∞? | ∞ | Перейдите на Шаг 4 | Замените проводку надувной подушки безопасности. |
| 4 | Проверить сопротивление между выводами верхнего и нижнего уровня датчика боковой подушки безопасности пассажира и массой. Сопротивление равно ∞? | ∞ | Перейдите на Шаг 5 | Замените проводку надувной подушки безопасности. |
| 5 | - Замените датчик боковой подушки безопасности пассажира.
- Удостоверьтесь, что ключ зажигания находится в положении ON.
- Сотрите диагностический код неисправности с помощью диагностического прибора.
- Выполните проверку диагностической системы системы надувных подушек безопасности (SIR).
Диагностический код неисправности удален? | - | Система в норме. | Замените модуль датчиков и диагностики. |
Диагностический код неисправности (DTC) 86
Ошибка передачи данных датчика боковой подушки безопасности пассажира
Описание схемы
При установке ключа зажигания в положение ON модуль датчиков и диагностики (SDM) выполняет начальную проверку для выявления существенных неполадок внутри самого SDM.
После этих проверок модуль измеряет напряжения в цепях зажигания и срабатывания подушек безопасности, проверяя, что они находятся в номинальных диапазонах. SDM контролирует напряжения на проводах нижнего уровня подушек водителя и пассажира, выявляя замыкание цепей срабатывания на массу или напряжение питания.
Диагностический код неисправности DTC 86 записывается, когда
- Произошла ошибка передачи данных между модулем датчиков и диагностики (SDM) и датчиком боковой подушки безопасности пассажира.
DTC 86 Ошибка передачи данных датчика боковой подушки безопасности пассажира
Внимание! Модуль датчиков и диагностики (SDM) может сохранять достаточное напряжение для приведения в действие подушек безопасности и натяжителей в течение 1 минуты после выключения зажигания и удаления предохранителя. Если подушки безопасности и натяжители не отсоединены, не начинайте обслуживание, пока не пройдет одна минута после отключения питания от SDM. Несоблюдение этого требования может привести к травмам.
Внимание! В процессе обслуживания обращайтесь с модулем датчиков и диагностики (SDM) очень осторожно. Не ударяйте и не встряхивайте SDM. Никогда не подключайте питание к системе надувных подушек безопасности (SIR), если SDM не соединен жестко с автомобилем. Чтобы система надувных подушек безопасности (SIR) работала правильно, все болты крепления модуля датчиков и диагностики SDM должны быть тщательно затянуты, а стрелка на SDM должна быть направлена к передней части автомобиля. При недостаточно жестком креплении модуля SDM к автомобилю включенный модуль может сработать, что приведет к неожиданному выпуску подушек безопасности и может повлечь травму.
| Шаг | Операция | Значения | Да | Нет |
| 1 | - Удостоверьтесь, что ключ зажигания находится в положении OFF.
- Подождите минуту, чтобы разрядить заряд блока питания модуля датчиков и диагностики (SDM).
- Осмотрите проводку и разъем датчика боковой подушки безопасности пассажира на предмет повреждений.
Проводка подушки безопасности и разъем в порядке? | - | Перейдите на Шаг 3 | Перейдите на Шаг 2 |
| 2 | Замените проводку подушки безопасности и подключите разъем. | - | - | - |
| 3 | - Замените датчик боковой подушки безопасности пассажира.
- Удостоверьтесь, что ключ зажигания находится в положении ON.
- Сотрите диагностический код неисправности с помощью диагностического прибора.
- Проверьте цепь.
Диагностический код неисправности (DTC) остался? | - | Перейдите на Шаг 4 | Система в норме. |
| 4 | Замените модуль датчиков и диагностики. | - | - | - |
Диагностический код неисправности (DTC) 87
Неисправность датчика боковой подушки безопасности пассажира
Описание схемы
При установке ключа зажигания в положение ON модуль датчиков и диагностики (SDM) выполняет начальную проверку для выявления существенных неполадок внутри самого SDM.
После этих проверок модуль измеряет напряжения в цепях зажигания и срабатывания подушек безопасности, проверяя, что они находятся в номинальных диапазонах. SDM контролирует напряжения на проводах нижнего уровня подушек водителя и пассажира, выявляя замыкание цепей срабатывания на массу или напряжение питания.
Диагностический код неисправности DTC 87 записывается, когда
- Датчик боковой подушки безопасности пассажира неисправен.
DTC 87 Неисправность датчика боковой подушки безопасности пассажира
Внимание! Модуль датчиков и диагностики (SDM) может сохранять достаточное напряжение для приведения в действие подушек безопасности и натяжителей в течение 1 минуты после выключения зажигания и удаления предохранителя. Если подушки безопасности и натяжители не отсоединены, не начинайте обслуживание, пока не пройдет одна минута после отключения питания от SDM. Несоблюдение этого требования может привести к травмам.
Внимание! В процессе обслуживания обращайтесь с модулем датчиков и диагностики (SDM) очень осторожно. Не ударяйте и не встряхивайте SDM. Никогда не подключайте питание к системе надувных подушек безопасности (SIR), если SDM не соединен жестко с автомобилем. Чтобы система надувных подушек безопасности (SIR) работала правильно, все болты крепления модуля датчиков и диагностики SDM должны быть тщательно затянуты, а стрелка на SDM должна быть направлена к передней части автомобиля. При недостаточно жестком креплении модуля SDM к автомобилю включенный модуль может сработать, что приведет к неожиданному выпуску подушек безопасности и может повлечь травму.
| Шаг | Операция | Значения | Да | Нет |
| 1 | - Удостоверьтесь, что ключ зажигания находится в положении OFF.
- Подождите минуту, чтобы разрядить заряд блока питания модуля датчиков и диагностики (SDM).
- Осмотрите проводку и разъем датчика боковой подушки безопасности пассажира на предмет повреждений.
Есть повреждения проводки подушки безопасности или разъема? | - | Перейдите на Шаг 2 | Перейдите на Шаг 3 |
| 2 | Замените проводку надувной подушки безопасности. | - | - | - |
| 3 | Замените датчик боковой подушки безопасности пассажира. | - | - | - |