Справочник трудоёмкости работ2007 Epica ТРАНСМИССИЯ / ВЕДУЩИЙ МОСТК началу документа
Epica
На предыдущую страницуНа следующую страницу
Главная страница GMDEЗагрузить нединамическое оглавлениеЗагрузить динамическое оглавлениеПомощь

РАЗДЕЛ 3

ТРАНСМИССИЯ / ВЕДУЩИЙ МОСТ

LTA3001A
Показать иллюстрациюПеревод текста в иллюстрациях


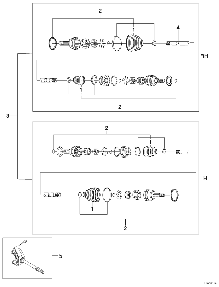
ВЕДУЩИЙ МОСТ - ДЕТАЛИ ПОЛУОСЕЙ (321)

ОПИСАНИЕ ОПЕРАЦИИ
КОД ОПЕРАЦИИ
МОДЕЛЬ
S1
S2
N
L1
L2
1
. ЧЕХОЛ (ЗАЩИТНЫЙ), ШАРНИР ПОЛУОСИ - ЗАМЕНА
.
.
.
.
.
.
Один
3210100
1.3
1.3
1.1
1.1
1.1
Два
3210200
1.6
1.6
1,4
1,4
1,4
Три
3210300
2.6
2.6
2.4
2.4
2.4
Четыре
3210400
2.9
2.9
2.7
2.7
2.7
2
. ШАРНИР, "TP" И/ИЛИ РАВНЫХ УГЛОВЫХ СКОРОСТЕЙ ПОЛУОСИ - ЗАМЕНА
.
.
.
.
.
.
Один
3210600
1,2
1,2
1.0
1.0
1.0
Два
3210700
1.5
1.5
1.3
1.3
1.3
Три
3210800
2.3
2.3
2.1
2.1
2.1
Четыре
3210900
2,5
2,5
2.3
2.3
2.3
3
. МОСТ В СБОРЕ, ПЕРЕДНИЙ ПРИВОД - ЗАМЕНА
.
.
.
.
.
.
Правая
3211100
1.0
1.0
0.8
0.8
0.8
Левая
3211200
1.0
1.0
0.8
0.8
0.8
Оба
3211300
1.7
1.7
1,4
1,4
1,4
4
. ПОЛУСЬ, ВАЛ - ЗАМЕНА
3211500
1.6
1.6
1,4
1,4
1,4
5
. ПОЛУОСЬ, ПРОМЕЖУТОЧНЫЙ ВАЛ - ЗАМЕНА
3211600
-
-
-
1.1
1.1
S1 : T200(AVEO / KALOS / BARINA), S2 : T250(AVEO), N : NUBIRA / LACETTI / FORENZA / OPTRA / VIVA, L1 : EVANDA / EPICA, L2 : EPICA
На предыдущую страницуНа следующую страницу


Главная страница сайта