Руководство по техническому обслуживанию2007 Kalos-Aveo/Nubira-Lacetti/Epica КУЗОВ И ДОПОЛНИТЕЛЬНОЕ ОБОРУДОВАНИЕ (СИСТЕМА ЭЛЕКТРОПРОВОДКИ КУЗОВА)К началу документа
Kalos-Aveo/Nubira-Lacetti/Epica
На предыдущую страницуНа следующую страницу
Главная страница GMDEЗагрузить нединамическое оглавлениеЗагрузить динамическое оглавлениеПомощь

РАЗДЕЛ 9A

КУЗОВ И ДОПОЛНИТЕЛЬНОЕ ОБОРУДОВАНИЕ (СИСТЕМА ЭЛЕКТРОПРОВОДКИ КУЗОВА)

G159A01A
Показать иллюстрациюПеревод текста в иллюстрациях


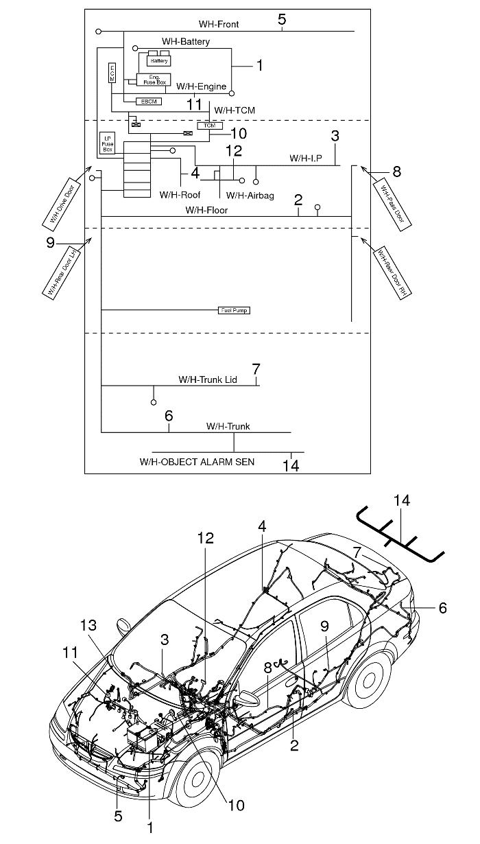
СИСТЕМА ЭЛЕКТРОПРОВОДКИ КУЗОВА - ЖГУТЫ ПРОВОДОВ (911)

ОПИСАНИЕ ОПЕРАЦИИ
КОД ОПЕРАЦИИ
МОДЕЛЬ
S1
S2
N
L1
L2
1
. КАБЕЛИ, АККУМУЛЯТОРНАЯ БАТАРЕЯ - ЗАМЕНА
.
.
.
.
.
.
От аккумуляторной батареи к генератору
9110100
0.8
0.8
0.6
0.6
0.6
Отрицательный
9110300
0.5
0.5
0.5
2
. ЭЛЕКТРОПРОВОДКА, ПОЛ - ЗАМЕНА
9110500
2.6
2.6
4.2
4.7
4.7
3
. ЭЛЕКТРОПРОВОДКА, ПРИБОРНАЯ ПАНЕЛЬ - ЗАМЕНА
9110700
2.2
2.3
3,2
3,2
3,2
4
. ЭЛЕКТРОПРОВОДКА, КРЫША - ЗАМЕНА
9110900
1.3
1.3
1.7
1.3
1.3
5
. ЭЛЕКТРОПРОВОДКА, ПЕРЕДНЯЯ - ЗАМЕНА
9111300
2.6
2.6
1.7
1,2
1,2
6
. ЭЛЕКТРОПРОВОДКА, ЗАДНЯЯ - ЗАМЕНА
9111700
0.4
0.4
0.6
0.4
0.4
7
. ЭЛЕКТРОПРОВОДКА, КРЫШКА БАГАЖНИКА - ЗАМЕНА
9112100
0.5
0.5
0.5
0.7
0.7
8
. ЭЛЕКТРОПРОВОДКА, ПЕРЕДНЯЯ ДВЕРЬ - ЗАМЕНА
9112300
0.5
0.5
0,9
1.1
1.1
9
. ЭЛЕКТРОПРОВОДКА, ЗАДНЯЯ ДВЕРЬ - ЗАМЕНА
9112500
0.5
0.5
0,9
0.8
0.8
10
. ЭЛЕКТРОПРОВОДКА, КОНТРОЛЛЕР КПП - ЗАМЕНА
9112800
0.8
0.8
0.8
1.0
1.0
11
. ЭЛЕКТРОПРОВОДКА, СИСТЕМА УПРАВЛЕНИЯ ДВИГАТЕЛЕМ - ЗАМЕНА
9112900
1,2
1,2
1,4
2,5
2,5
12
. ЭЛЕКТРОПРОВОДКА, ПОДУШКА БЕЗОПАСНОСТИ - ЗАМЕНА
9113400
1.3
2.3
1,4
2.4
2.4
13
. ЭЛЕКТРОПРОВОДКА, ПЕРЕКЛЮЧАТЕЛЬ ОКТАНОВОГО ЧИСЛА - ЗАМЕНА
9113500
0.2
0.2
0.2
0.2
0.2
14
. ПРОВОДКА, ДАТЧИК ОБНАРУЖЕНИЯ ПРЕПЯТСТВИЯ СЗАДИ - ЗАМЕНА
9114900
1.1
1.1
S1 : T200(AVEO / KALOS / BARINA), S2 : T250(AVEO), N : NUBIRA / LACETTI / FORENZA / OPTRA/VIVA, L1 : EVANDA / EPICA, L2 : EPICA


На предыдущую страницуНа следующую страницу
Главная страница сайта