Руководство по техническому обслуживанию2007 Nubira-Lacetti/Kalos-Aveo/Evanda-Epica КУЗОВ И ДОПОЛНИТЕЛЬНОЕ ОБОРУДОВАНИЕ (ВНУТРЕННЯЯ ОТДЕЛКА)К началу документа
Nubira-Lacetti/Kalos-Aveo/Evanda-Epica
На предыдущую страницуНа следующую страницу
Главная страница GMDEЗагрузить нединамическое оглавлениеЗагрузить динамическое оглавлениеПомощь

РАЗДЕЛ 9G

КУЗОВ И ДОПОЛНИТЕЛЬНОЕ ОБОРУДОВАНИЕ (ВНУТРЕННЯЯ ОТДЕЛКА)

G159G01A
Показать иллюстрациюПеревод текста в иллюстрациях


ВНУТРЕННЯЯ ОТДЕЛКА - ПАНЕЛЬ ПРИБОРОВ (931)

ОПИСАНИЕ ОПЕРАЦИИ
КОД ОПЕРАЦИИ
МОДЕЛЬ
S1
S2
N
L1
L2
1
ЗАМОК, ЯЩИК ПРИБОРНОЙ ПАНЕЛИ - ЗАМЕНА
9310100
0.2
0.2
0.2
0.2
0.2
2
ПЕТЛЯ И (ИЛИ) ФИКСАТОР, ЯЩИК ПРИБОРНОЙ ПАНЕЛИ - РЕГУЛИРОВКА ИЛИ ЗАМЕНА
9310300
0.2
0.2
0.3
0.2
0.2
3
ЯЩИК, ВЕЩЕВОЙ - ЗАМЕНА
9310700
0.2
0.2
0.3
0.3
0.3
4
ПАНЕЛЬ, НЕСУЩАЯ КОНСТРУКЦИЯ В СБОРЕ ПРИБОРНОЙ ПАНЕЛИ - ЗАМЕНА
9310900
2.1
2.1
2,5
2,5
2.6
ВКЛЮЧАЯ: если потребуется, включить и отключить систему надувных подушек безопасности
.
.
.
.
.
.
ВКЛЮЧАЯ: перемещение всех необходимых деталей
.
.
.
.
.
.
A - с подушкой безопасности пассажира
931090A
0.2
0.2
0.2
0.2
0.2
5
ПАНЕЛЬ, БОКОВАЯ ОБИВКА (ПРЕДОХРАНИТЕЛЬНАЯ ПАНЕЛЬ) - ЗАМЕНА
.
.
.
.
.
.
Правая
9311100
0.2
0.2
0.2
0.2
0.2
Левая
9311200
0.2
0.2
0.2
0.2
0.2
6
ПАНЕЛЬ, ПРИБОРНАЯ ВЕРХ - ЗАМЕНА
9311300
0.2
2.2
2.6
0.3
0.3
7
КРЫШКА, НИЖНЯЯ ПРИБОРНАЯ - ЗАМЕНА
9311400
0.2
0.2
0.2
0.3
0.3
8
КРЫШКА, ГЛУХАЯ - ЗАМЕНА
9311600
0.2
вЂ"
0.2
0.2
0.2
9
СОПЛО, ЦЕНТРАЛЬНОЕ ВЕНТИЛЯЦИОННОЕ - ЗАМЕНА
9311800
0.3
0.3
0.4
0.4
0.6
10
СОПЛО, ВЕНТИЛЯЦИОННОЕ - ЗАМЕНА
.
.
.
.
.
.
Левая
9311900
2.1
2.1
0.6
2.7
0.2
Правая
9311910
2.1
2.1
0.6
2.7
0.2
Оба
9311920
2.1
2.1
1.0
2.7
0.3
11
СОПЛО ОБОГРЕВАТЕЛЯ СТЕКЛА - ЗАМЕНА
.
.
.
.
.
.
Правая
9312100
вЂ"
вЂ"
0.3
0.2
0.2
Левая
9312200
вЂ"
вЂ"
0.3
0.2
0.2
Оба
9312300
вЂ"
вЂ"
0.5
0.3
0.3
12
КОЛЕННЫЙ БУФЕР - ЗАМЕНА
.
.
.
.
.
.
Правая
9312400
0.4
0.4
0.4
0.4
0.4
Левая
9312500
0.4
0.4
0.4
0.4
0.4
S1 : T200(AVEO / KALOS / BARINA), S2 : T250(AVEO), N : NUBIRA / LACETTI / FORENZA / OPTRA/VIVA, L1 : EVANDA / EPICA, L2 : EPICA

G159G01B
Показать иллюстрациюПеревод текста в иллюстрациях


ВНУТРЕННЯЯ ОТДЕЛКА - ПАНЕЛЬ ПРИБОРОВ (931)

ОПИСАНИЕ ОПЕРАЦИИ
КОД ОПЕРАЦИИ
МОДЕЛЬ
S1
S2
N
L1
L2
13
РЕШЕТКА, ОБОГРЕВАТЕЛЬ ВЕТРОВОГО СТЕКЛА - ЗАМЕНА
.
.
.
.
.
.
Правая
9312600
вЂ"
вЂ"
вЂ"
0.2
0.2
Левая
9312700
вЂ"
вЂ"
вЂ"
0.2
0.2
Оба
9312800
вЂ"
вЂ"
вЂ"
0.3
0.3
-
УПЛОТНЕНИЕ, ПЕНОМАТЕРИАЛ ПРИБОРНОЙ ПАНЕЛИ - РЕМОНТ
9312810
-
-
0.2
-
-
14
ЯЩИК ДЛЯ МЕЛОЧИ - ЗАМЕНА
9313000
0.2
вЂ"
вЂ"
0.2
0.2
15
КРЫШКА, ПОДУШКА БЕЗОПАСНОСТИ ПАССАЖИРА (ТОЛЬКО ДЛЯ ЛЕВОСТОРОННЕГО УПРАВЛЕНИЯ) - ЗАМЕНА
9313200
0.3
0.3
вЂ"
вЂ"
вЂ"
16
КРЫШКА, КОНДИЦИОНЕР, ПРИБОРНАЯ ПАНЕЛЬ - ЗАМЕНА
9314000
вЂ"
вЂ"
вЂ"
0.2
0.2
17
КОРПУС, ВЕЩЕВОЙ ЯЩИК - ЗАМЕНА
9314100
вЂ"
вЂ"
вЂ"
0.4
0.4
S1 : T200(AVEO / KALOS / BARINA), S2 : T250(AVEO), N : NUBIRA / LACETTI / FORENZA / OPTRA/VIVA, L1 : EVANDA / EPICA, L2 : EPICA

G159G02A
Показать иллюстрациюПеревод текста в иллюстрациях


ВНУТРЕННЯЯ ОТДЕЛКА - МОЛДИНГ И ПЕРЕКЛЮЧАТЕЛЬ (932)

ОПИСАНИЕ ОПЕРАЦИИ
КОД ОПЕРАЦИИ
МОДЕЛЬ
S1
S2
N
L1
L2
1
ПАНЕЛЬ, ОБЛИЦОВОЧНАЯ КОМБИНАЦИИ ПРИБОРОВ ПРИБОРНОЙ ПАНЕЛИ - ЗАМЕНА
9320100
вЂ"
вЂ"
0.3
0.6
0.4
2
ПЕРЕКЛЮЧАТЕЛЬ В СБОРЕ - ЗАМЕНА
.
.
.
.
.
.
Аварийные огни
9320300
0.2
0.2
0.2
0.4
0.2
Противотуманная фара
9320400
0.2
0.2
0.3
0.3
0.3
Обогрев заднего стекла
9320450
0.3
0.3
0.3
0.3
0.4
3
ПЕРЕКЛЮЧАТЕЛЬ В СБОРЕ - ЗАМЕНА
.
.
.
.
.
.
Противоугонный фонарь
9320500
0.3
0.3
0.3
0.3
0.5
4
ЧАСЫ - ЗАМЕНА
9320600
0.2
0.2
0.2
0.4
0.4
5
ПЕРЕКЛЮЧАТЕЛЬ ДИСТАНЦИОННОГО УПРАВЛЕНИЯ, ЗЕРКАЛО С ЭЛЕКТРОПРИВОДОМ - ЗАМЕНА (ОДНИМ УЗЛОМ)
9320800
0.3
0.3
0.2
0.3
0.3
6
КОРПУС, ПЕРЕКЛЮЧАТЕЛЬ - ЗАМЕНА
9321100
вЂ"
вЂ"
0.2
0.2
0.2
7
ПЕРЕКЛЮЧАТЕЛЬ, РЕГУЛИРОВКА ПОЛОЖЕНИЯ ФАР - ЗАМЕНА
9321500
0.3
0.3
0.3
0.3
0.3
8
МОЛДИНГ, ВЕРХНИЙ - ЗАМЕНА
9322400
0.2
0.2
вЂ"
вЂ"
вЂ"
9
МОЛДИНГ, НИЖНИЙ - ЗАМЕНА
9322600
0.2
0.2
вЂ"
вЂ"
вЂ"
10
КРЫШКА, ЧАСЫ - ЗАМЕНА
9322700
0.2
0.2
вЂ"
вЂ"
вЂ"
11
МОЛДИНГ, ЦЕНТРАЛЬНЫЙ ВЕРХНИЙ ПРИБОРНОЙ ПАНЕЛИ - ЗАМЕНА
9322800
0.2
0.2
0.2
вЂ"
0.2
12
ПЕРЕКЛЮЧАТЕЛЬ, РЕГУЛИРОВАНИЕ ОСВЕЩЕНИЯ - ЗАМЕНА
9322900
вЂ"
вЂ"
0.3
0.3
0.3
13
МОЛДИНГ, ОТДЕЛКА ПАНЕЛИ ПРИБОРОВ - ЗАМЕНА
9323000
вЂ"
0.2
0.4
0.2
0.2
14
РАМКА, ПРОХОД В ПРИБОРНОЙ ПАНЕЛИ - ЗАМЕНА
9323100
вЂ"
0.3
0.3
0.3
0.3
S1 : T200(AVEO / KALOS / BARINA), S2 : T250(AVEO), N : NUBIRA / LACETTI / FORENZA / OPTRA/VIVA, L1 : EVANDA / EPICA, L2 : EPICA

G159G03
Показать иллюстрациюПеревод текста в иллюстрациях


ВНУТРЕННЯЯ ОТДЕЛКА - ДЕТАЛИ ПРИБОРОВ (933)

ОПИСАНИЕ ОПЕРАЦИИ
КОД ОПЕРАЦИИ
МОДЕЛЬ
S1
S2
N
L1
L2
1
ПАНЕЛЬ, ОТДЕЛОЧНАЯ СРЕДНЯЯ, ПАНЕЛЬ ПРИБОРОВ - ЗАМЕНА
9330100
0.2
0.2
вЂ"
0.2
0.2
2
ЧАШКОДЕРЖАТЕЛЬ, ПАНЕЛЬ ПРИБОРОВ - ЗАМЕНА
9330300
2.0
0.2
вЂ"
0.3
0.3
3
ПЕПЕЛЬНИЦА, ПАНЕЛЬ ПРИБОРОВ - ЗАМЕНА
9330500
0.2
0.2
0.6
0.2
0.2
4
ЯЩИК - ЗАМЕНА
9330900
0.2
0.2
0.2
0.2
0.2
S1 : T200(AVEO / KALOS / BARINA), S2 : T250(AVEO), N : NUBIRA / LACETTI / FORENZA / OPTRA/VIVA, L1 : EVANDA / EPICA, L2 : EPICA

G159G04A
Показать иллюстрациюПеревод текста в иллюстрациях


ВНУТРЕННЯЯ ОТДЕЛКА - КОНСОЛЬ (934)

ОПИСАНИЕ ОПЕРАЦИИ
КОД ОПЕРАЦИИ
МОДЕЛЬ
S1
S2
N
L1
L2
1
КОНСОЛЬ В СБОРЕ, ПЕРЕДНЯЯ - ЗАМЕНА
.
.
.
.
.
.
AUTO
9340100
вЂ"
вЂ"
0.5
0.5
0.5
Ручной
9340200
вЂ"
вЂ"
0.5
0.5
0.5
2
КОНСОЛЬ В СБОРЕ, ЗАДНЯЯ - ЗАМЕНА
.
.
.
.
.
.
AUTO
9340400
вЂ"
вЂ"
0.4
0.4
0.4
Ручной
9340500
вЂ"
вЂ"
0.4
0.4
0.4
3
КОРПУС, ПРИКУРИВАТЕЛЬ - ЗАМЕНА
9340700
0.2
0.2
0.6
0.2
0.2
4
ПРИКУРИВАТЕЛЬ В СБОРЕ - ЗАМЕНА
9340900
0.3
0.3
0.2
0.2
0.2
5
КОНСОЛЬ В СБОРЕ - ЗАМЕНА
9341100
0.3
0.3
вЂ"
вЂ"
вЂ"
6
ПЕПЕЛЬНИЦА, ЗАДНЯЯ - ЗАМЕНА
9341300
вЂ"
вЂ"
0.2
0.2
0.2
7
ПЕПЕЛЬНИЦА КОНСОЛИ - ЗАМЕНА
9341400
вЂ"
вЂ"
вЂ"
0.2
0.2
8
КОРПУС, ПЕПЕЛЬНИЦА КОНСОЛИ
9341440
вЂ"
вЂ"
вЂ"
0.3
0.3
9
ЧАШКОДЕРЖАТЕЛЬ, КОНСОЛЬ - ЗАМЕНА
9341500
вЂ"
вЂ"
0.2
0.2
0.2
10
УДЛИНИТЕЛЬ - ПЕРЕДНИЙ, КОНСОЛЬ
.
.
.
.
.
.
Правая
9341600
вЂ"
вЂ"
вЂ"
0.2
0.2
Левая
9341610
вЂ"
вЂ"
вЂ"
0.2
0.2
Оба
9341620
вЂ"
вЂ"
вЂ"
0.3
0.3
11
ЛАМПА ПЕПЕЛЬНИЦЫ
9341650
0.2
0.2
0.2
0.3
0.3
12
РАЗЪЕМ, ДОПОЛНИТЕЛЬНЫЙ ИСТОЧНИК ПИТАНИЯ (КОНСОЛЬ) - ЗАМЕНА
9341700
0.3
0.3
0.3
0.3
0.3
13
КРЫШКА, КОНСОЛЬ - ЗАМЕНА
9342400
вЂ"
0.2
0.3
0.3
0.3
14
ЯЩИК, ЗАДНЯЯ КОНСОЛЬ - ЗАМЕНА
9342500
вЂ"
вЂ"
0.2
0.2
0.2
15
КРЫШКА, ЗАДНЯЯ КОНСОЛЬ - ЗАМЕНА
9342600
вЂ"
вЂ"
0.2
0.2
0.2
S1 : T200(AVEO / KALOS / BARINA), S2 : T250(AVEO), N : NUBIRA / LACETTI / FORENZA / OPTRA/VIVA, L1 : EVANDA / EPICA, L2 : EPICA

G159G05
Показать иллюстрациюПеревод текста в иллюстрациях


ВНУТРЕННЯЯ ОТДЕЛКА - ОТДЕЛКА ПЕРЕДНЕЙ ДВЕРИ (935)

ОПИСАНИЕ ОПЕРАЦИИ
КОД ОПЕРАЦИИ
МОДЕЛЬ
S1
S2
N
L1
L2
1
ОТДЕЛКА В СБОРЕ, ПЕРЕДНЯЯ ДВЕРЬ - ЗАМЕНА
.
.
.
.
.
.
Правая
9350100
0.3
0.3
0.3
0.4
0.4
Левая
9350200
0.3
0.3
0.3
0.4
0.4
Оба
9350300
0.5
0.5
0.5
0.7
0.7
2
РУЧКА, ВНУТРЕННЯЯ, ПЕРЕДНЯЯ ДВЕРЬ - ЗАМЕНА
.
.
.
.
.
.
Правая
9350500
0.4
0.4
0.5
0.4
0.4
Левая
9350600
0.4
0.4
0.5
0.4
0.4
Оба
9350700
0.7
0.7
0.8
0.7
0.7
3
ИЗОЛЯЦИЯ, ОБИВКА ПЕРЕДНЕЙ ДВЕРИ
9350800
0.3
0.3
0.3
0.5
0.5
4
РЕШЕТКА, ОБОГРЕВАТЕЛЬ СТЕКЛА ПЕРЕДНЕЙ ДВЕРИ - ЗАМЕНА
9351100
вЂ"
вЂ"
вЂ"
вЂ"
вЂ"
5
ПЕРЕКЛЮЧАТЕЛЬ, ГЛАВНЫЙ СТЕКЛОПОДЪЕМНИКА - ЗАМЕНА
9351300
0.3
0.3
0.3
0.3
0.3
Пассажир
9351310
0.3
0.3
0.3
0.3
0.3
6
ВЫКЛЮЧАТЕЛЬ, ЭЛЕКТРОПОДОГРЕВАТЕЛЬ СИДЕНЬЯ - ЗАМЕНА
.
.
.
.
.
.
Правая
9351320
вЂ"
вЂ"
вЂ"
вЂ"
0.4
Левая
9351330
вЂ"
вЂ"
вЂ"
вЂ"
0.4
Оба
9351340
вЂ"
вЂ"
вЂ"
вЂ"
0.7
7
КРИВОШИП, ПОДЪЕМНИК ПЕРЕДНЕГО СТЕКЛА - ЗАМЕНА
.
.
.
.
.
.
Правая
9351500
0.2
0.2
вЂ"
вЂ"
вЂ"
Левая
9351600
0.2
0.2
вЂ"
вЂ"
вЂ"
Оба
9351700
0.3
0.3
вЂ"
вЂ"
вЂ"
8
РЕШЕТКА, ПЕРЕДНИЙ ДИНАМИК - ЗАМЕНА
.
.
.
.
.
.
Правая
9351800
вЂ"
вЂ"
вЂ"
0.4
0.4
Левая
9351900
вЂ"
вЂ"
вЂ"
0.4
0.4
Оба
9352000
вЂ"
вЂ"
вЂ"
0.5
0.5
9
УПЛОТНИТЕЛЬ, ВНУТРЕННИЙ ПЕРЕДНЕЙ ДВЕРИ - ЗАМЕНА
.
.
.
.
.
.
Правая
9353100
0.3
0.3
0.3
0.3
0.3
Левая
9353200
0.3
0.3
0.3
0.3
0.3
Оба
9353300
0.5
0.5
0.5
0.5
0.5
10
ПЕРЕКЛЮЧАТЕЛЬ, ОТКРЫВАНИЕ БАГАЖНИКА - ЗАМЕНА
9353400
вЂ"
вЂ"
0.3
0.3
0.3
11
ОТДЕЛКА, ОБИВКА ПЕРЕДНЕЙ ДВЕРИ - ЗАМЕНА
.
.
.
.
.
.
Правая
9353500
вЂ"
вЂ"
вЂ"
вЂ"
0.4
Левая
9353510
вЂ"
вЂ"
вЂ"
вЂ"
0.4
Оба
9353520
вЂ"
вЂ"
вЂ"
вЂ"
0.7
S1 : T200(AVEO / KALOS / BARINA), S2 : T250(AVEO), N : NUBIRA / LACETTI / FORENZA / OPTRA/VIVA, L1 : EVANDA / EPICA, L2 : EPICA

G159G06
Показать иллюстрациюПеревод текста в иллюстрациях


ВНУТРЕННЯЯ ОТДЕЛКА - ОБИВКА ЗАДНЕЙ ДВЕРИ (936)

ОПИСАНИЕ ОПЕРАЦИИ
КОД ОПЕРАЦИИ
МОДЕЛЬ
S1
S2
N
L1
L2
1
ОТДЕЛКА В СБОРЕ, ЗАДНЯЯ ДВЕРЬ - ЗАМЕНА
.
.
.
.
.
.
Правая
9360300
0.3
0.3
0.3
0.4
0.4
Левая
9360400
0.3
0.3
0.3
0.4
0.4
Оба
9360500
0.5
0.5
0.5
0.7
0.7
2
РУЧКА, ВНУТРЕННЯЯ ЗАДНЕЙ ДВЕРИ - ЗАМЕНА
.
.
.
.
.
.
Правая
9360700
0.4
0.4
0.4
0.4
0.4
Левая
9360800
0.4
0.4
0.4
0.4
0.4
Оба
9360900
0.7
0.7
0.7
0.7
0.7
3
ИЗОЛЯЦИЯ, ОБИВКА ЗАДНЕЙ ДВЕРИ - ЗАМЕНА
9361100
0.4
0.4
0.4
0.5
0.5
4
КРИВОШИП, ПОДЪЕМНИК ЗАДНЕГО СТЕКЛА - ЗАМЕНА
.
.
.
.
.
.
Правая
9361300
0.2
0.2
0.2
вЂ"
вЂ"
Левая
9361400
0.2
0.2
0.2
вЂ"
вЂ"
Оба
9361500
0.3
0.3
0.3
вЂ"
вЂ"
5
ПЕРЕКЛЮЧАТЕЛЬ, ЗАДНЕГО СТЕКЛОПОДЪЕМНИКА - ЗАМЕНА
.
.
.
.
.
.
Правая
9361700
0.3
0.3
0.3
0.3
0.3
Левая
9361800
0.3
0.3
0.3
0.3
0.3
Оба
9361900
0.5
0.5
0.5
0.5
0.5
6
УПЛОТНИТЕЛЬ, ВНУТРЕННИЙ ЗАДНЕЙ ДВЕРИ - ЗАМЕНА
.
.
.
.
.
.
Правая
9363100
0.3
0.3
0.3
0.3
0.3
Левая
9363200
0.3
0.3
0.3
0.3
0.3
Оба
9363300
0.5
0.5
0.5
0.5
0.5
7
ОТДЕЛКА, ОБИВКА ЗАДНЕЙ ДВЕРИ - ЗАМЕНА
.
.
.
.
.
.
Правая
9363400
вЂ"
вЂ"
вЂ"
вЂ"
0.4
Левая
9363410
вЂ"
вЂ"
вЂ"
вЂ"
0.4
Оба
9363420
вЂ"
вЂ"
вЂ"
вЂ"
0.7
S1 : T200(AVEO / KALOS / BARINA), S2 : T250(AVEO), N : NUBIRA / LACETTI / FORENZA / OPTRA/VIVA, L1 : EVANDA / EPICA, L2 : EPICA

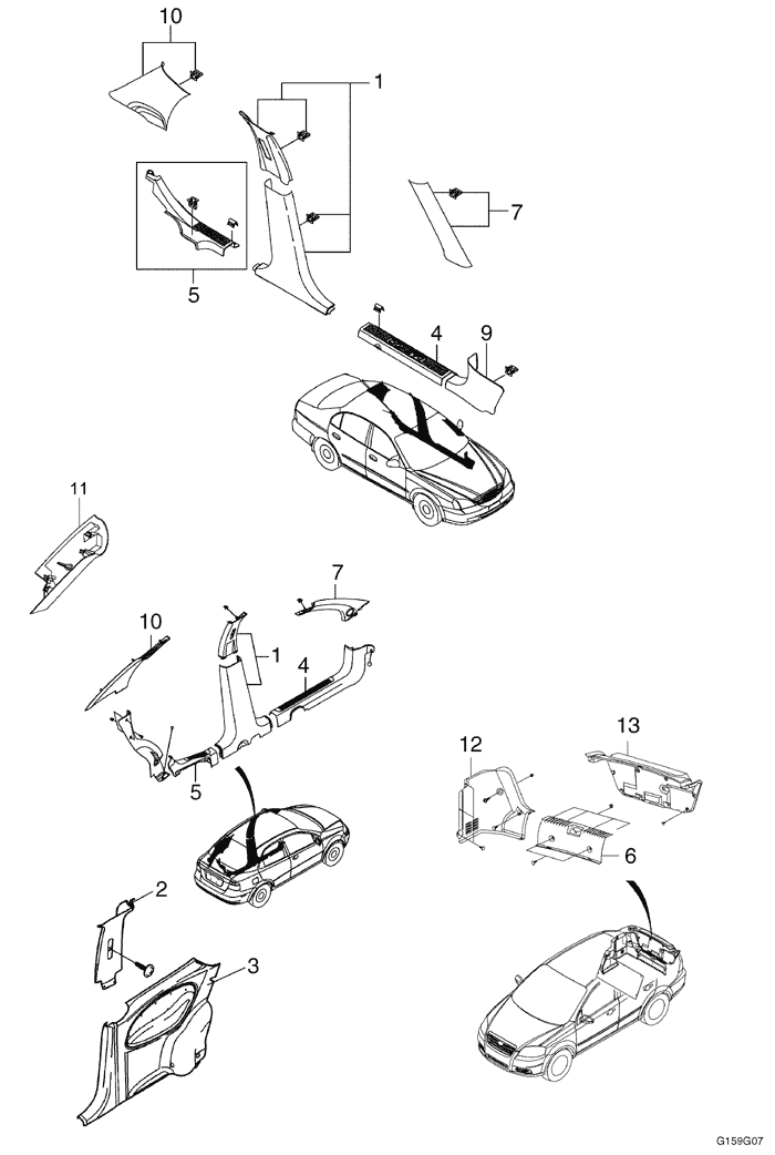
G159G07
Показать иллюстрациюПеревод текста в иллюстрациях


ВНУТРЕННЯЯ ОТДЕЛКА - ОТДЕЛКА СТОЙКИ (938)

ОПИСАНИЕ ОПЕРАЦИИ
КОД ОПЕРАЦИИ
МОДЕЛЬ
S1
S2
N
L1
L2
1
ОТДЕЛКА, СРЕДНЯЯ СТОЙКА - ЗАМЕНА
.
.
.
.
.
.
Верхняя правая
9380100
0.2
0.2
0.3
0.3
0.3
Нижняя правая
9380200
0.2
0.2
0.3
0.3
0.3
Оба
9380300
0.3
0.3
0.4
0.4
0.4
ОТДЕЛКА, СРЕДНЯЯ СТОЙКА - ЗАМЕНА
.
.
.
.
.
.
Верхняя левая
9380400
0.2
0.2
0.3
0.3
0.3
Нижняя левая
9380500
0.2
0.2
0.3
0.3
0.3
2
ОБИВКА, СРЕДНЯЯ СТОЙКА (ХЭТЧБЕК) - ЗАМЕНА
.
.
.
.
.
.
Правая
9380610
0.5
0.5
вЂ"
вЂ"
вЂ"
Левая
9380640
0.5
0.5
вЂ"
вЂ"
вЂ"
3
ОБИВКА, БОКОВАЯ ПАНЕЛЬ (ХЭТЧБЕК) - ЗАМЕНА
.
.
.
.
.
.
Правая
9380620
0.3
0.3
вЂ"
вЂ"
вЂ"
Левая
9380650
0.3
0.3
вЂ"
вЂ"
вЂ"
4
ОБЛИЦОВКА, ПЕРЕДНИЙ ПОРОЖЕК - ЗАМЕНА
.
.
.
.
.
.
Правая
9380700
0.2
0.2
0.2
0.2
0.2
Левая
9380800
0.2
0.2
0.2
0.2
0.2
Оба
9380900
0.3
0.3
0.3
0.3
0.3
5
ОБЛИЦОВКА, ЗАДНИЙ ПОРОЖЕК - ЗАМЕНА
.
.
.
.
.
.
Правая
9381100
0.2
0.2
0.2
0.2
0.2
Левая
9381200
0.2
0.2
0.2
0.2
0.2
Оба
9381300
0.3
0.3
0.3
0.3
0.3
6
ОБИВКА, ПАНЕЛЬ ЗАДКА - ЗАМЕНА
9381400
0.2
0.2
0.2
0.2
0.2
ОБИВКА, ДВЕРЬ ЗАДКА - ЗАМЕНА
9381500
0.2
0.2
0.2
0.2
0.2
7
МОЛДИНГ, ОТДЕЛКА ВЕТРОВОГО СТЕКЛА - ЗАМЕНА
9381600
0.2
0.2
0.2
0.2
0.2
8
ОБИВКА, БАГАЖНИК - ЗАМЕНА
9381800
0.2
0.2
0.3
0.3
0.3
ОБИВКА, ЗАДНЯЯ БОКОВАЯ ЧАСТЬ КУЗОВА (ФУРГОН) - ЗАМЕНА
9381900
вЂ"
вЂ"
0.3
вЂ"
вЂ"
S1 : T200(AVEO / KALOS / BARINA), S2 : T250(AVEO), N : NUBIRA / LACETTI / FORENZA / OPTRA/VIVA, L1 : EVANDA / EPICA, L2 : EPICA

G159G07
Показать иллюстрациюПеревод текста в иллюстрациях


ВНУТРЕННЯЯ ОТДЕЛКА - ОТДЕЛКА СТОЙКИ (938)

ОПИСАНИЕ ОПЕРАЦИИ
КОД ОПЕРАЦИИ
МОДЕЛЬ
S1
S2
N
L1
L2
9
ОБИВКА, КАРКАСА БОКОВАЯ - ЗАМЕНА
.
.
.
.
.
.
Правая
9382100
0.2
0.2
0.2
0.2
0.2
Левая
9382200
0.2
0.2
0.2
0.2
0.2
Оба
9382300
0.3
0.3
0.3
0.3
0.3
10
ОБИВКА, ЗАДНЯЯ СТОЙКА - ЗАМЕНА
9382400
0.6
0.6
0.6
0.2
0.2
11
ОБИВКА, ЗАДНЯЯ СТОЙКА ФУРГОНА - ЗАМЕНА
9382500
вЂ"
вЂ"
0.2
вЂ"
вЂ"
12
ОБИВКА, ЗАДНЯЯ БОКОВАЯ - ЗАМЕНА
.
.
.
.
.
.
Правая
9382600
0.2
0.2
0.2
0.2
0.2
Левая
9382700
0.2
0.2
0.2
0.2
0.2
13
ВНУТРЕННЯЯ ОБШИВКА КРЫШКИ БАГАЖНИКА - ЗАМЕНА
9382900
вЂ"
0.4
0.4
0.4
0.4
S1 : T200(AVEO / KALOS / BARINA), S2 : T250(AVEO), N : NUBIRA / LACETTI / FORENZA / OPTRA/VIVA, L1 : EVANDA / EPICA, L2 : EPICA

G139G08B
Показать иллюстрациюПеревод текста в иллюстрациях


ВНУТРЕННЯЯ ОТДЕЛКА - НАПОЛЬНОЕ КОВРОВОЕ ПОКРЫТИЕ (939)

ОПИСАНИЕ ОПЕРАЦИИ
КОД ОПЕРАЦИИ
МОДЕЛЬ
S1
S2
N
L1
L2
1
КОВРОВОЕ ПОКРЫТИЕ, ЦЕЛЬНОЕ НАПОЛЬНОЕ - ЗАМЕНА
9390100
1,4
1,4
1.5
1.3
1.3
2
КОВРОВОЕ ПОКРЫТИЕ, ПАНЕЛЬ ПОЛА ЗАДНЕЙ ЧАСТИ САЛОНА - ЗАМЕНА
9390300
0.2
0.2
0.2
0.2
0.2
3
КОЖУХ, ЗАПАСНАЯ ШИНА - ЗАМЕНА
9390500
0.2
0.2
вЂ"
вЂ"
вЂ"
4
ПОЛКА, ГРУЗОВОЙ ОТСЕК - ЗАМЕНА
9390700
0.2
0.2
0.3
0.3
0.3
5
СЕТКА, ГРУЗОВОЙ ОТСЕК - ЗАМЕНА
9390900
0.2
0.2
0.2
0.2
0.2
6
ЯЩИК, БОКОВОЙ ГРУЗОВОГО ОТСЕКА - ЗАМЕНА
9391100
вЂ"
вЂ"
вЂ"
вЂ"
вЂ"
7
УПОР ДЛЯ НОГ - ЗАМЕНА
.
.
.
.
.
.
ПРАВОСТОРОННЕЕ УПРАВЛЕНИЕ
9391500
вЂ"
вЂ"
0.2
0.2
0.2
ЛЕВОСТОРОННЕЕ УПРАВЛЕНИЕ
9391600
вЂ"
вЂ"
0.3
0.3
0.3
8
ПОДДОН, НИЖНЕЕ СИДЕНЬЕ - ЗАМЕНА
9392000
вЂ"
вЂ"
0.4
вЂ"
вЂ"
S1 : T200(AVEO / KALOS / BARINA), S2 : T250(AVEO), N : NUBIRA / LACETTI / FORENZA / OPTRA/VIVA, L1 : EVANDA / EPICA, L2 : EPICA


На предыдущую страницуНа следующую страницу
Главная страница сайта