Руководство по техническому обслуживанию2007 Epica Вторичный вал в сбореК началу документа
Epica
На предыдущую страницуНа следующую страницу
Главная страница GMDEЗагрузить нединамическое оглавлениеЗагрузить динамическое оглавлениеПомощь


C7A15B52
Показать иллюстрациюПеревод текста в иллюстрациях


Вторичный вал в сборе

Необходимое оборудование

DT-48240 Приспособление для установки синхронизатора 5-й передачи/заднего хода вторичного вала
DT-48239 Приспособление для установки кольца подшипника 5-й передачи вторичного вала
DT-48237 Приспособление для установки шестерни 3-й/4-й передачи вторичного вала

Порядок сборки

    Важно: Перед установкой смазать все компоненты рабочей жидкостью КПП.

  1. Установить упорное кольцо с помощью DT-48240 и гидропресса.
  2. Установить кольцо с помощью DT-48240 и гидропресса.


  3. L7B53B18
    Показать иллюстрациюПеревод текста в иллюстрациях


  4. Установить игольчатые подшипники (3).
  5. Установить шестерню заднего хода (2).
  6. Установить блокировочное кольцо шестерни заднего хода (1).


  7. C7A15B53
    Показать иллюстрациюПеревод текста в иллюстрациях


  8. Установить синхронизатор 5-й передачи/заднего хода с помощью DT-48240 и гидропресса.
  9. Важно:


    C7A15B54
    Показать иллюстрациюПеревод текста в иллюстрациях


  10. Установить кольцо подшипника с помощью DT-48239 и гидропресса.


  11. L7B53B21
    Показать иллюстрациюПеревод текста в иллюстрациях


  12. Установить блокировочное кольцо шестерни 5-й передачи (3).
  13. Установить два игольчатых подшипника (2).
  14. Установить шестерню 5-й передачи (1).


  15. C7A15B55
    Показать иллюстрациюПеревод текста в иллюстрациях


  16. Установить шестерню 3-й передачи с помощью DT-48237 и гидропресса.
  17. Важно: Шестерня 3-й передачи устанавливается очень туго. Убедиться в чистоте сопряженных поверхностей.



    C7A15B56
    Показать иллюстрациюПеревод текста в иллюстрациях


  18. Перед установкой шестерни 4-й передачи нанести фиксирующий герметик (Permatex 620) на окружность первичного вала.
  19. Установить шестерню 4-й передачи с помощью DT-48237 и гидропресса.
  20. Важно: Шестерня 4-й передачи устанавливается очень туго. Убедиться в чистоте сопряженных поверхностей.



C7A15B57
Показать иллюстрациюПеревод текста в иллюстрациях


Первичный вал в сборе

Необходимое оборудование

DT-48238 Приспособление для установки шестерни 5-й передачи первичного вала
DT-48236 Приспособление для установки синхронизатора 3-й/4-й передачи первичного вала

Порядок сборки

    Важно:

  1. Перед установкой шестерни 5-й передачи нанести фиксирующий герметик (Permatex 620) на окружность первичного вала.
  2. Установить шестерню 5-й передачи с помощью DT-48238 и гидропресса.


  3. L7B53B12
    Показать иллюстрациюПеревод текста в иллюстрациях


  4. Установить упорный подшипник (2).
  5. Установить два игольчатых подшипника (1).


  6. L7B53B13
    Показать иллюстрациюПеревод текста в иллюстрациях


  7. Установить шестерню 3-й передачи (4).
  8. Установить блокировочное кольцо шестерни 3-й передачи (3).
  9. Установить упорный подшипник (2).
  10. Установить упорное кольцо (1).


  11. C7A15B58
    Показать иллюстрациюПеревод текста в иллюстрациях


  12. Установить синхронизатор 3-й/4-й передачи с помощью DT-48236 и гидропресса.
  13. Важно:


    C7A15B59
    Показать иллюстрациюПеревод текста в иллюстрациях


  14. Установить кольцо подшипника с помощью DT-48236 и гидропресса.


  15. L7B53B6
    Показать иллюстрациюПеревод текста в иллюстрациях


  16. Установить блокировочное кольцо шестерни 4-й передачи (4).
  17. Установить игольчатый подшипник (3).
  18. Установить шестерню 4-й передачи (2).
  19. Установить упорное кольцо (1).


  20. C7A15B72
    Показать иллюстрациюПеревод текста в иллюстрациях


  21. Установить подшипник скольжения с помощью соответствующего инструмента.


L7B53B05
Показать иллюстрациюПеревод текста в иллюстрациях


Промежуточный вал в сборе

Необходимое оборудование

DT-48235 Приспособление для установки синхронизатора 1-й/2-й передачи промежуточного вала

Порядок сборки

    Важно: Перед установкой смазать все компоненты рабочей жидкостью КПП.

  1. Установить игольчатый подшипник (5).
  2. Установить шестерню 2-й передачи (4).
  3. Установить внутренний конус шестерни 2-й передачи (3).
  4. Установить блокировочное кольцо шестерни 2-й передачи (2).
  5. Установить внешний конус шестерни 2-й передачи (1).


  6. C7A15B60
    Показать иллюстрациюПеревод текста в иллюстрациях


  7. Установить синхронизатор 1-й/2-й передачи с помощью DT-48235 и гидропресса.
  8. Важно:


    C7A15B61
    Показать иллюстрациюПеревод текста в иллюстрациях


  9. Установить упорное кольцо (2) и кольцо подшипника (1) с помощью DT-48235 и гидропресса.


  10. L7B53B08
    Показать иллюстрациюПеревод текста в иллюстрациях


  11. Установить внешний конус шестерни 1-й передачи (3).
  12. Установить блокировочное кольцо шестерни 1-й передачи (2).
  13. Установить внутренний конус шестерни 1-й передачи (1).


  14. L7B53B09
    Показать иллюстрациюПеревод текста в иллюстрациях


    Важно: Вкладыши в обоих роликовых подшипниках должны войти в шестерню 1-й передачи.

  15. Установить роликовый подшипник.
  16. Установить шестерню 1-й передачи.
  17. Установить роликовый подшипник.


  18. C7A15B62
    Показать иллюстрациюПеревод текста в иллюстрациях


  19. Установить упорное кольцо с помощью DT-48235 и гидропресса.


L7B53B03
Показать иллюстрациюПеревод текста в иллюстрациях


Вал переключения передач в сборе

Порядок сборки

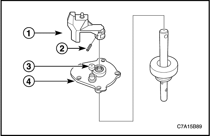
  1. Установить уголковый диск (4) на тягу переключения передач (5).
  2. Установить нажимную пружину 1-й/2-й передачи (3).
  3. Установить гнездо внутренней пружины (2).
  4. Установить новые стопорные кольца (1).


  5. C7A15B89
    Показать иллюстрациюПеревод текста в иллюстрациях


  6. Установить кожух переключения передач (4).
  7. Установить крышку вентиляционного отверстия (3).
  8. Установить рычаг управления переключением (1).
  9. Установить новый рулонный штифт (2).


  10. C7A15B89
    Показать иллюстрациюПеревод текста в иллюстрациях


  11. Установить нажимную пружину 5-й передачи/заднего хода (1).
  12. Установить гнездо наружной пружины (2).
  13. Установить защелку рычага выбора передач (3) в палец рычага выбора передач (4).
  14. Важно: Правильно поддерживать палец рычага выбора передач (4) при установке рулонного штифта. Запрещается поддерживать палец рычага выбора передач (4) с помощью защелки рычага выбора передач (3).

  15. Установить новый рулонный штифт (5).
  16. Установить новый рулонный штифт (6).


C7A15B63
Показать иллюстрациюПеревод текста в иллюстрациях


Сборка основного узла

Необходимое оборудование

DT-48179 Универсальная направляющая ручка
DT-48182 Съемник/приспособление для установки игольчатого подшипника
DT-48225 Оправка для первичного вала
DT-48226 Съемник/приспособление для установки шарикового подшипника картера коробки передач с главной передачей в сборе
DT-48227 Съемник/приспособление для установки роликового подшипника
DT-48228 Съемник/приспособление для установки шарикового подшипника картера сцепления
DT-48230 Приспособление для установки обоймы подшипника дифференциала и сальника полуоси привода
DT-48231 Толкатель/съемник первичного и вторичного вала
DT-48232 Защитное устройство корпуса синхронизатора первичного вала

Порядок сборки

  1. Установить новый сальник полуоси привода в картер сцепления с помощью DT-48179 и DT-48230.


  2. C7A15B26
    Показать иллюстрациюПеревод текста в иллюстрациях


  3. Установить шариковый подшипник промежуточного вала в картер сцепления с помощью DT-48179 и DT-48228.


  4. C7A15B24
    Показать иллюстрациюПеревод текста в иллюстрациях


  5. Установить стопорное кольцо на шариковый подшипник промежуточного вала.


  6. C7A15B27
    Показать иллюстрациюПеревод текста в иллюстрациях


  7. Установить роликовый подшипник первичного вала в картер сцепления с помощью DT-48179 и DT-48227.


  8. C7A15B28
    Показать иллюстрациюПеревод текста в иллюстрациях


  9. Установить новый сальник полуоси привода в картер коробки передач с главной передачей в сборе с помощью DT-48179 и DT-48230.


  10. C7A15B29
    Показать иллюстрациюПеревод текста в иллюстрациях


  11. Установить шариковые подшипники первичного и вторичного вала в картер коробки передач с главной передачей в сборе с помощью DT-48179 и DT-48226.


  12. L7B53B65
    Показать иллюстрациюПеревод текста в иллюстрациях


  13. Установить игольчатый подшипник в картер коробки передач с главной передачей в сборе заподлицо с отливкой с помощью DT-48179 и DT-48182.


  14. L7B53B64
    Показать иллюстрациюПеревод текста в иллюстрациях


  15. Установить устройство блокировки от включения передачи заднего хода (1), торсионную пружину (2) и новый резьбовой штифт (3) в картер коробки передач с главной передачей в сборе.
  16. Затянуть
    Затянуть резьбовой штифт моментом 6~9 Н•м (53~80 фунт-дюймов).



    C7A15B30
    Показать иллюстрациюПеревод текста в иллюстрациях


  17. Установить роликовый подшипник вторичного вала в картер сцепления.
  18. Важно: Следует следить за правильностью ориентации роликового подшипника.



    C7A15B64
    Показать иллюстрациюПеревод текста в иллюстрациях


  19. Установить промежуточный (1), первичный (2) и вторичный (3) вал в сборе вместе с соответствующими вилками переключения передач в картер сцепления.
  20. Важно: Положить промежуточный вал на сторону шарикового подшипника.



    C7A15B65
    Показать иллюстрациюПеревод текста в иллюстрациях


  21. Установить картер коробки передач с главной передачей в сборе в картер сцепления.
    1. Первичный и вторичный вал должны войти в зацепление с шариковыми подшипниками в картере коробки передач с главной передачей в сборе.
    2. Промежуточный вал и вилки переключения передач должны сидеть в противостоящих им подшипниках в картере коробки передач с главной передачей в сборе.
    3. Установить DT-48231 в картер коробки передач с главной передачей в сборе.
    1. Втянуть первичный и вторичный вал равномерно в шариковые подшипники в картере коробки передач с главной передачей в сборе.

    1. Снять DT-48231 с картера коробки передач с главной передачей в сборе.

    Важно: Если для привода DT-48231 требуется большое усилие, снова разъединить картер коробки передач с главной передачей в сборе и картер сцепления и проверить расположение вала и вилок переключения передач. Повторить операцию.



    C7A15B73
    Показать иллюстрациюПеревод текста в иллюстрациях


  22. Переключить коробкк передач с главной передачей в сборе на 4-ю и 5-ю передачу движением отвертки вверх.
  23. Установить новые фиксирующие заглушки первичного и вторичного вала, удерживая коробку передач с главной передачей в положении 4-й и 5-й передачи, в направлении снизу вверх.
  24. Затянуть
    Затянуть фиксирующую заглушку первичного вала моментом 120~130 Н•м (89~96 фунт-футов).
    Затянуть фиксирующую заглушку вторичного вала моментом 120~130 Н•м (89~96 фунт-футов).



    C7A15B32
    Показать иллюстрациюПеревод текста в иллюстрациях


  25. Нанести герметик (Loctite 5900) на заднюю крышку картера коробки передач с главной передачей в сборе.
  26. Важно: Оставить достаточно свободного места, чтобы не забился маслопровод.



    C7A15B12
    Показать иллюстрациюПеревод текста в иллюстрациях


  27. Установить маслопровод и заднюю крышку картера коробки передач с главной передачей в сборе.
  28. Важно: Маслопровод устанавливается только в одном направлении. Убедиться, чтобы маслопровод полностью посажен в валы-шестерни.



    C7A15B11
    Показать иллюстрациюПеревод текста в иллюстрациях


  29. Установить болты крепления задней крышки картера коробки передач с главной передачей в сборе.
  30. Затянуть
    Затянуть болты крепления задней крышки моментом 20~25 Н•м (15~18 фунт-футов).



    C7A15B70
    Показать иллюстрациюПеревод текста в иллюстрациях


  31. Снять картер сцепления с картера коробки передач с главной передачей в сборе.
  32. Важно: Чтобы облегчить отделение картера, использовать подходящие инструменты на одной линии с промежуточным валом.



    C7A15B40
    Показать иллюстрациюПеревод текста в иллюстрациях


  33. Установить шток механизма переключения передачи холостого хода (1) в картер коробки передач с главной передачей в сборе.
  34. Установить втулку штока механизма переключения передачи холостого хода (2) в картер коробки передач с главной передачей в сборе.
  35. Установить сливной желобок (3) в картер коробки передач с главной передачей в сборе.


  36. L7B53B55
    Показать иллюстрациюПеревод текста в иллюстрациях


  37. Установить выключатель света заднего хода и шайбу в картер коробки передач с главной передачей в сборе.
  38. Затянуть
    Затянуть болт крепления выключателя света заднего хода моментом 20 Н•м (15 фунт-футов).



    C7A15BA2
    Показать иллюстрациюПеревод текста в иллюстрациях


  39. Установить вал переключения передач в сборе.
  40. Затянуть
    Затянуть болты крепления переключения передач моментом 20~25 Н•м (15~18 фунт-футов).

    Затянуть
    Затянуть болты направляющей переключения передач моментом 20~25 Н•м (15~18 фунт-футов).



    C7A15B31
    Показать иллюстрациюПеревод текста в иллюстрациях


  41. Установить обойму подшипника дифференциала и регулировочную прокладку в картер коробки передач с главной передачей в сборе с помощью DT-48179 и DT-48230. См. "Процедуры регулировки прокладкой" в этом разделе.


  42. C7A15B66
    Показать иллюстрациюПеревод текста в иллюстрациях


  43. Установить обойму подшипника дифференциала и регулировочную прокладку в картер сцепления с помощью DT-48179 и DT-48230. См. "Процедуры регулировки прокладкой" в этом разделе.


  44. C7A15B18
    Показать иллюстрациюПеревод текста в иллюстрациях


  45. Установить магнит в картер коробки передач с главной передачей в сборе.


  46. L7B53B80
    Показать иллюстрациюПеревод текста в иллюстрациях


  47. Установить дифференциал в картер КПП.


  48. C7A15B39
    Показать иллюстрациюПеревод текста в иллюстрациях


  49. Нанести герметик (Loctite 5203) на поверхности сопряжения картера коробки передач с главной передачей в сборе и картера сцепления.
  50. Установить картер сцепления в картер коробки передач с главной передачей в сборе.
  51. Важно:


    C7A15B10
    Показать иллюстрациюПеревод текста в иллюстрациях


  52. Удерживать первичный вал с помощью DT-48225.
  53. Втянуть промежуточный вал в шариковый подшипник промежуточного вала с использованием старой фиксирующей заглушки.


  54. C7A15B38
    Показать иллюстрациюПеревод текста в иллюстрациях


  55. Установить болты крепления картера сцепления к картеру коробки передач с главной передачей в сборе.
  56. Затянуть
    Затянуть болты крепления картера сцепления к картеру коробки передач с главной передачей в сборе моментом 20~25 Н•м (15~18 фунт-футов).

  57. Снять старую фиксирующую заглушку с промежуточного вала и установить новую фиксирующую заглушку.
  58. Затянуть
    Затянуть фиксирующую заглушку промежуточного вала моментом 90~100 Н•м (66~74 фунт-фута).

  59. Снять DT-48225.


  60. C7A15B33
    Показать иллюстрациюПеревод текста в иллюстрациях


  61. Установить болты крепления картера коробки передач с главной передачей в сборе к картеру сцепления.
  62. Затянуть
    Затянуть болты крепления картера коробки передач с главной передачей в сборе к картеру сцепления моментом 20~25 Н•м (15~18 фунт-футов).



    C7A15B09
    Показать иллюстрациюПеревод текста в иллюстрациях


  63. Установить новый маслопровод в промежуточный вал.
  64. Установить новую уплотняющую пробку промежуточного вала.


  65. C7A15B05
    Показать иллюстрациюПеревод текста в иллюстрациях


  66. Установить уплотнительное кольцо и концентрический рабочий цилиндр.


  67. C7A15B06
    Показать иллюстрациюПеревод текста в иллюстрациях


  68. Наживить штуцер трубки гидропривода и затянуть болты крепления цилиндра.
  69. Затянуть
    Болты крепления цилиндра выключения сцепления затягивать моментом 8~12 Н•м (71~106 фунт-дюймов).

  70. Затянуть штуцер трубки гидропривода.
  71. Затянуть
    Штуцер затягивать моментом 16 Н•м (12 фунт-футов).



    C7A15B07
    Показать иллюстрациюПеревод текста в иллюстрациях


  72. Установить втулку на трубку концентрического рабочего цилиндра.


  73. L7B53B41
    Показать иллюстрациюПеревод текста в иллюстрациях


  74. Установить механизм привода спидометра и болт.
  75. Затянуть
    Затянуть болт крепления механизма привода спидометра моментом 3~5 Н•м (27~44 фунт-дюйма).



    C7A15B01
    Показать иллюстрациюПеревод текста в иллюстрациях


  76. Установить кронштейн троса управления переключением, шайбу и болты.
  77. Затянуть
    Затянуть болты кронштейна троса управления переключением моментом 15~20 Н•м (11~15 фунт-футов).

  78. Установить коробку передач в автомобиль. См. "Коробка передач с главной передачей в сборе" в этом разделе.


C7A15B36
Показать иллюстрациюПеревод текста в иллюстрациях


Процедуры регулировки прокладкой

    Необходимое оборудование

    DT-48200 Крепеж картера коробки передач с главной передачей в сборе
    DT-48241 Пластина обоймы подшипника картера коробки передач с главной передачей в сборе
    DT-48242 Пластина обоймы подшипника картера сцепления
  1. Резиновой киянкой слегка обстучать поверхность сопряжения картера коробки передач с главной передачей в сборе, чтобы убедиться в полной посадке подшипников.


  2. C7A15B37
    Показать иллюстрациюПеревод текста в иллюстрациях


  3. Установить DT-48200 в картер коробки передач с главной передачей в сборе.
  4. С помощью DT-48200 и высотомера отрегулировать установку нулевой точки для каждого места на поверхности фланца картера коробки передач с главной передачей в сборе.
  5. Важно: Для установки нулевой точки отрегулировать высоту DT-48200.



    L7B53B93
    Показать иллюстрациюПеревод текста в иллюстрациях


  6. Высотомером измерить в трех местах на поверхности упорного кольца шестерни вторичного вала. (Среднее = А)


  7. C7A15B99
    Показать иллюстрациюПеревод текста в иллюстрациях


  8. Установить обойму подшипника дифференциала картера сцепления, дифференциал, обойму подшипника дифференциала картера коробки передач с главной передачей в сборе и DT-48241 на DT-48242.


  9. C7A15B67
    Показать иллюстрациюПеревод текста в иллюстрациях


  10. С помощью высотомера отрегулировать установку нулевой точки для каждого места на поверхности обоймы подшипника дифференциала картера коробки передач с главной передачей в сборе.


  11. C7A15B68
    Показать иллюстрациюПеревод текста в иллюстрациях


  12. Высотомером измерить в трех местах на поверхности эпициклического зубчатого колеса дифференциальной передачи. (Среднее = B)


  13. C7A15B69
    Показать иллюстрациюПеревод текста в иллюстрациях


  14. Высотомером измерить в трех местах на DT-48242. (среднее = C)


  15. L7B53BF3
    Показать иллюстрациюПеревод текста в иллюстрациях


  16. Чтобы получить размер регулировочной прокладки для картера коробки передач с главной передачей в сборе, использовать следующую формулу.
  17. S1 = 62,92 мм - A - B
  18. Чтобы получить размер регулировочной прокладки для картера сцепления, использовать следующую формулу:
  19. S2 = 156,84 мм - C - S1
    ХАРАКТЕРИСТКА РЕГУЛИРОВОЧНОЙ ПРОКЛАДКИ (Допуск: -0,03)
    (Ед. изм.: мм)
    Номер детали
    Размер регулировочной прокладки
    Номер детали
    Размер регулировочной прокладки
    96420170
    0.50
    96420161
    0.95
    96420169
    0.55
    96420160
    1.00
    96420168
    0.60
    96420159
    1.05
    96420167
    0.65
    96420158
    1.10
    96420166
    0.70
    96420157
    1.15
    96420165
    0.75
    96420156
    1.20
    96420164
    0.80
    96420155
    1.25
    96420163
    0.85
    96420154
    1.30
    96420162
    0.90
    96420153
    1.35


На предыдущую страницуНа следующую страницу
Главная страница сайта