Руководство по ремонту кузоваEvanda ПОДГОТОВКА КУЗОВАК началу документа
Evanda
На предыдущую страницуНа следующую страницу
Главная страница GMDEЗагрузить нединамическое оглавлениеЗагрузить динамическое оглавлениеПомощь

ПОДГОТОВКА КУЗОВА

ОБЩЕЕ ОПИСАНИЕ

.
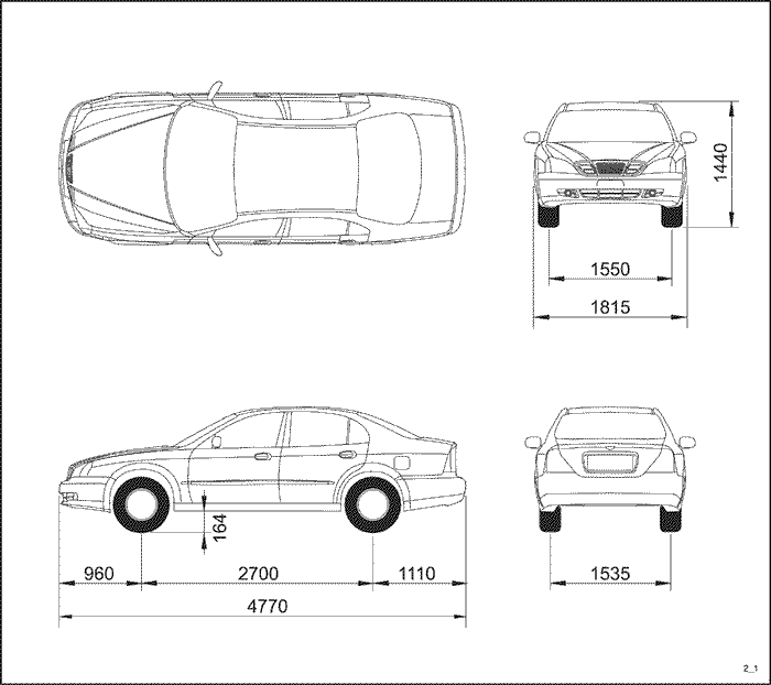
Единица: мм (in.)

2_1
Показать иллюстрациюПеревод текста в иллюстрациях


Регулировка передних колес:
Развал
-30' ± 1,0°
Сход
3.0° ± 1.0°
Схождение (нагрузка 2 чел.)
6' ± 10'
Регулировка задних колес:
Развал
-1°30' ± 1,0°
Схождение (нагрузка 2 чел.)
9' ± 10'

КОНТРОЛЬНЫЕ ТОЧКИ

РЕМНИ БЕЗОПАСНОСТИ
Обязательно заменяйте ремни безопасности, если:
  1. Лента ремня порезана, пробита, обожжена или повреждена как-либо иначе.
  2. Плохо работает замок или механизм втягивания ремня.
  3. К моменту аварии ремни были изношены (также проверьте на предмет повреждения точки крепления ремней безопасности).
  4. Состояние ремней безопасности вызывает сомнение.
Передняя часть:
  1. Есть ли изгибы, трещины, вмятины или иные повреждения подвески и связанных с ней частей?
  2. Есть ли деформации передней панели или траверсы радиатора? Разошлись ли какие-либо соединенные части?
  3. Есть ли вмятины или деформации передней колесной арки или боковой рамы? Разошлись ли какие-либо соединенные части?
  4. Есть ли изгибы или искривления всей передней части?
  5. Есть ли какие-либо деформации - вмятины, выпуклости, углубления - на передней стойке, щитке передка, на полу и т.п.?
  6. Есть ли вертикальные искривления или нарушения зазоров двери?
  7. Повреждено ли уплотнение ветрового стекла?
  8. Есть ли какие-либо деформации в окрестности верхней части средней стойки панели крыши?
  9. Есть ли повреждения внутри автомобиля (искривления щитка передка, отклонения зазоров или мест крепления листовых деталей?
  10. Есть ли повреждения рулевого колеса? Есть ли повреждения рулевой колонки и установленных на нее деталей?
  11. Есть ли утечки масла или воды, повреждения двигателя, трансмиссии или тормозов?
  12. Есть ли необычные шумы при переключении передач, при вращении двигателя или коробки передач?
  13. Есть ли следы касания между блоком цилиндров и центральной траверсой?
  14. Есть ли повреждения тормозных магистралей, топливопроводов или жгутов проводки?
Задняя часть:
  1. Есть ли изгибы, выпуклости или вмятины задней части пола или задних кронштейнов? Разошлись ли какие-либо соединенные части?
  2. Есть ли выпуклости или вмятины заднего крыла?
  3. Есть ли деформации задней внутренней панели? Есть ли изгибы или вмятины в окрестности задней стойки?
  4. Есть ли деформации или смятия задней колесной арки и секций дуг? Разошлись ли какие-либо соединенные части?
  5. Есть ли нарушения зазора уплотнителя заднего стекла?
  6. Есть ли деформации или нарушения зазора откидной секции крышки багажника?
  7. Есть ли изгибы, трещины, вмятины или иные повреждения подвески и связанных с ней частей?
  8. Есть ли деформации задней поперечины пола, панели пола багажника или панели задка? Разошлись ли какие-либо соединенные части?
Ударная балка:
Обязательно замените дверь в сборе, если:
  1. Под действием внешней силы деформирована ударная балка внутри двери.
  2. Обязательно заменяйте ударную балку, если:
  3. Под действием внешней силы деформирована ударная балка переднего или заднего бампера.

ВОССТАНОВЛЕНИЕ ПОВРЕЖДЕННОГО УЧАСТКА


nb2f3
Показать иллюстрациюПеревод текста в иллюстрациях



nb2f4
Показать иллюстрациюПеревод текста в иллюстрациях


Характеристики зажимов нижней части кузова
.
Стандартный тип
С-тип
U-тип
Каркас
корректоры
    • Dataliner
    • Car-o-liner
    • Celette
    • Flex-o-liner
    • и т.п.
    • Korek
    • Auto pole
    • и т.п.
    • U-Base
    • Pro-Tec
    • и т.п.

ИЗМЕРИТЕЛЬНЫЕ СИСТЕМЫ (БЕЗ НЕБОЛЬШИХ ПОВРЕЖДЕНИЙ)


nb2f5
Показать иллюстрациюПеревод текста в иллюстрациях



nb2f6
Показать иллюстрациюПеревод текста в иллюстрациях



nb2f7
Показать иллюстрациюПеревод текста в иллюстрациях


Рис. 4
На предыдущую страницуНа следующую страницу


Главная страница сайта