Руководство по ремонту кузоваEvanda СВАРКА И ИНСТРУМЕНТЫК началу документа
Evanda
На предыдущую страницуНа следующую страницу
Главная страница GMDEЗагрузить нединамическое оглавлениеЗагрузить динамическое оглавлениеПомощь

СВАРКА И ИНСТРУМЕНТЫ

ТОЧЕЧНАЯ СВАРКА

ОБЩЕЕ ОПИСАНИЕ

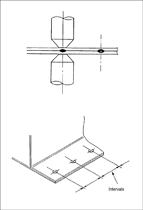
Точечная сварка (точечная контактная сварка) - наиболее подходящий метод сварки при ремонте автомобилей. Она имеет три основных достоинства: сварка может осуществляться мгновенно, оказывает очень малое влияние на исходный материал, деформации сводятся к абсолютному минимуму. Однако помните, что для надежной сварки необходимо полностью удалить с поверхности свариваемого материала краску и другие загрязнения.

РЕЖИМ СВАРКИ

    При точечной сварке строго соблюдайте требования к току, времени сварки, давлению сварки, времени удержания и времени отключения для данного сварочного аппарата.
    При сварке учитывайте следующие факторы:

    Примечание: При слишком малом шаге сварки возникает ветвление тока, что снижает надежность сварки.
    Толщина листа
    0,6 мм
    0,9 мм
    1,2 мм
    1,6 мм
    Минимальные интервалы
    11 мм
    16 мм
    20 мм
    24 мм

    nb3f2
    Показать иллюстрациюПеревод текста в иллюстрациях



    nb3f1
    Показать иллюстрациюПеревод текста в иллюстрациях


    Толщина листа
    0,6 мм
    0,9 мм
    1,2 мм
    1,6 мм
    Минимальные интервалы
    4,5Ø
    5,0Ø
    5,5Ø
    6,0Ø

    nb3f3
    Показать иллюстрациюПеревод текста в иллюстрациях


ПРОВЕРКА ПРОЧНОСТИ СВАРКИ

    Даже если сварка производится в соответствии с требованиями, прочность сваренных участков может существенно меняться в результате снижения напряжения и других факторов. Качество сварки нельзя оценить без разрушения сваренного участка.
    Возьмите стальной лист той же толщины и проведите испытание на разрыв.

    nb3f4
    Показать иллюстрациюПеревод текста в иллюстрациях


    Примечание: В некоторых ситуациях использовать точечную сварку затруднительно:
    Во всех этих случаях рекомендуется использовать газовую сварку. Однако если точечная сварка неприменима из-за невозможности доступа, возможно использование сварки электрозаклепками. При этом свариваемые участки должны прилегать один к другому.

ГАЗОВАЯ СВАРКА

Газовая сварка незаменима при ремонте кузова в силу того, что она имеет широчайший диапазон возможностей - от соединения панелей кузова, резки конструкции кузова и прогрева до восстановления формы панелей; кроме того, оборудование для газовой сварки легко доступно.
Однако этот метод требует опыта.

nb3f7
Показать иллюстрациюПеревод текста в иллюстрациях


Примечание: Ниже приведены примеры того, как не надо использовать газовую сварку. Избегайте подобных действий.

nb3f9
Показать иллюстрациюПеревод текста в иллюстрациях


АППАРАТ ДЛЯ ЭЛЕКТРОДУГОВОЙ СВАРКИ В СРЕДЕ УГЛЕКИСЛОГО ГАЗА (ЭЛЕКТРОДУГОВАЯ СВАРКА МИГ)

В этом процессе в качестве защитного газа вместо дорогого инертного газа используется недорогой диоксид углерода. Используются плавящиеся металлические электроды. Этот метод имеет широкий диапазон применений, включая сварку тонкого листа встык, сварку угловых швов, пробочную сварку и точечную сварку. Он также отличается высокой стабильностью прочности сварки.

nb3f10
Показать иллюстрациюПеревод текста в иллюстрациях


ИНСТРУМЕНТЫ ДЛЯ РЕМОНТА

Тип
Работа
Используемые инструменты и оборудование
Защитные средства
Оператор

nb3f12
Показать иллюстрациюПеревод текста в иллюстрациях


Кузов автомобиля

nb3f13
Показать иллюстрациюПеревод текста в иллюстрациях


Технологический инструмент
Высверливание отверстий

nb3f14
Показать иллюстрациюПеревод текста в иллюстрациях


Крепежные приспособления
Крепление основного металла

nb3f15
Показать иллюстрациюПеревод текста в иллюстрациях


Инструменты для формовки
Восстановление формы панелей обшивки

nb3f16
Показать иллюстрациюПеревод текста в иллюстрациях


Восстановление формы кузова и каркаса

nb3f17
Показать иллюстрациюПеревод текста в иллюстрациях


Измерительный инструмент
Измерение

nb3f18
Показать иллюстрациюПеревод текста в иллюстрациях


Фланцевый инструмент
Подготовка кромок

nb3f19
Показать иллюстрациюПеревод текста в иллюстрациях


Режущий инструмент
.

nb3f20
Показать иллюстрациюПеревод текста в иллюстрациях


Инструмент для зачистки
Зачистка

nb3f21
Показать иллюстрациюПеревод текста в иллюстрациях


На предыдущую страницуНа следующую страницу


Главная страница сайта