Справочник трудоёмкости работ2005 Evanda ПОДВЕСКА (ЗАДНЯЯ ПОДВЕСКА)К началу документа
Evanda
На предыдущую страницуНа следующую страницу
Главная страница GMDEЗагрузить нединамическое оглавлениеЗагрузить динамическое оглавлениеПомощь

РАЗДЕЛ 2D

ПОДВЕСКА (ЗАДНЯЯ ПОДВЕСКА)

G132D01
Показать иллюстрациюПеревод текста в иллюстрациях


ЗАДНЯЯ ПОДВЕСКА - ЗАДНИЙ МОСТ (231)

ОПИСАНИЕ ОПЕРАЦИИ
КОД ОПЕРАЦИИ
МОДЕЛЬ
S
N
L (сиреневый)
1
. СТАБИЛИЗАТОР, ЗАДНИЙ - ЗАМЕНА
2310100
-
0.4
0.4
2
. ДЕМПФЕР, СТАБИЛИЗАТОР - ЗАМЕНА
2310300
-
-
-
3
. ПОДШИПНИК, ЗАДНЕЕ КОЛЕСО - ЗАМЕНА
.
.
.
.
Правый
2310500
0.7
-
-
Левый
2310600
0.7
-
-
Оба
2310700
1,2
-
-
4
. МОСТ В СБОРЕ, ЗАДНИЙ - БАЛАНСИРОВКА
2310900
2.3
-
-
5
. ВТУЛКА, ЗАДНИЙ МОСТ - ЗАМЕНА
.
.
.
.
Правый
2311100
1,4
-
-
Левый
2311200
1,4
-
-
Оба
2311300
1.5
-
-
6
. ШПИНДЕЛЬ, ПОДШИПНИК КОЛЕСА - ЗАМЕНА
.
.
.
.
Правый
2311500
0.6
-
-
Левый
2311600
0.6
-
-
Оба
2311700
1.1
-
-
7
. КОЛПАК, СТУПИЦА - ЗАМЕНА
.
.
.
.
Правый
2312100
0.2
-
-
Левый
2312200
0.2
-
-
Оба
2312300
0.3
-
-
8
. ТЯГА, ПЕРЕДНЯЯ ПАРАЛЛЕЛЬНАЯ - ЗАМЕНА
.
.
.
.
Правый
2312500
-
0.4
0.4
Левый
2312600
-
0.4
0.4
Оба
2312700
-
0.6
0.6
9
. ВТУЛКА, ТЯГА ПОДВЕСКИ - ЗАМЕНА
.
.
.
.
Правый
2313100
-
-
-
Левый
2313200
-
-
-
Оба
2313300
-
-
-
S : Kalos/Aveo, N : NUBIRA/LACETTI, L : EVANDA

G132D01
Показать иллюстрациюПеревод текста в иллюстрациях


ЗАДНЯЯ ПОДВЕСКА - ЗАДНИЙ МОСТ (231)

ОПИСАНИЕ ОПЕРАЦИИ
КОД ОПЕРАЦИИ
МОДЕЛЬ
S
N
L (сиреневый)
10
. ТЯГА, ЗАДНЯЯ ПАРАЛЛЕЛЬНАЯ - ЗАМЕНА
.
.
.
.
Правый
2313400
-
0.4
0.4
Левый
2313500
-
0.4
0.4
Оба
2313600
-
0.6
0.6
11
. ВТУЛКА, ТЯГА РЕГУЛИРОВКИ СХОЖДЕНИЯ - ЗАМЕНА
.
.
.
.
Правый
2313700
-
-
-
Левый
2313800
-
-
-
Оба
2313900
-
-
-
12
. ТЯГА, ЗАДНИЙ СТАБИЛИЗАТОР - ЗАМЕНА
.
.
.
.
Правый
2314100
-
0.3
0.3
Левый
2314200
-
0.3
0.3
Оба
2314300
-
0.4
0.4
13
. КУЛАК, ЗАДНИЙ (БАРАБАННЫЙ) - ЗАМЕНА
.
.
.
.
Правый (без АБС)
2314400
-
1.3
-
Левый (без АБС)
2314500
-
1.3
-
Оба (без АБС)
2314600
-
2.0
-
Правый (АБС)
2314700
-
1.1
-
Левый (АБС)
2314800
-
1.1
-
Оба (АБС)
2314900
-
1.7
-
. КУЛАК, ЗАДНИЙ (ДИСКОВЫЙ) - ЗАМЕНА
.
.
.
.
Правый
2315100
-
0.8
0.8
Левый
2315200
-
0.8
0.8
Оба
2315300
-
1,4
1,4
14
. РЫЧАГ, ЗАДНИЙ ПРОДОЛЬНЫЙ - ЗАМЕНА
.
.
.
.
Правый
2315400
-
0.3
0.3
Левый
2315500
-
0.3
0.3
Оба
2315600
-
0.4
0.5
15
. КРОНШТЕЙН, ПРОДОЛЬНЫЙ РЫЧАГ - ЗАМЕНА
.
.
.
.
Правый
2315700
-
-
-
Левый
2315800
-
-
-
Оба
2315900
-
-
-
S : Kalos/Aveo, N : NUBIRA/LACETTI, L : EVANDA

G132D01
Показать иллюстрациюПеревод текста в иллюстрациях


ЗАДНЯЯ ПОДВЕСКА - ЗАДНИЙ МОСТ (231)

ОПИСАНИЕ ОПЕРАЦИИ
КОД ОПЕРАЦИИ
МОДЕЛЬ
S
N
L (сиреневый)
16
. ПОПЕРЕЧИНА, ЗАДНЯЯ ПОДВЕСКА - ЗАМЕНА
2316100
-
0.6
0.6
17
. РЫЧАГ, ВЕРХНИЙ - ЗАМЕНА
.
.
.
.
Правый
2318100
-
-
0.4
Левый
2318200
-
-
0.4
Оба
2318300
-
-
0.6
18
. ПОДШИПНИК И СТУПИЦА В СБОРЕ, ЗАДНЕЕ КОЛЕСО - ЗАМЕНА
.
.
.
.
Правый
2318400
-
0.5
0.5
Левый
2318500
-
0.5
0.5
Оба
2318600
-
0,9
0,9
S : Kalos/Aveo, N : NUBIRA/LACETTI, L : EVANDA

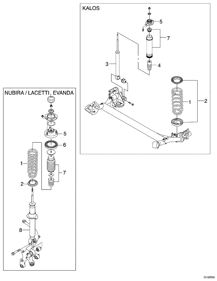
G132D02
Показать иллюстрациюПеревод текста в иллюстрациях


ЗАДНЯЯ ПОДВЕСКА - АМОРТИЗАТОР ЗАДНЕЙ ПОДВЕСКИ (232)

ОПИСАНИЕ ОПЕРАЦИИ
КОД ОПЕРАЦИИ
МОДЕЛЬ
S
N
L (сиреневый)
1
. ПРУЖИНА, ЗАДНЯЯ ВИТАЯ - ЗАМЕНА
.
.
.
.
Правый
2320100
0.7
1.0
1.0
Левый
2320300
0.7
1.0
1.0
Оба
2320400
0.8
1.6
1.6
2
. ГНЕЗДО И/ИЛИ ИЗОЛЯТОР, ЗАДНЯЯ ПРУЖИНА (ВЕРХ/НИЗ) - ЗАМЕНА
.
.
.
.
Правый
2320700
0.7
1.0
1.0
Левый
2320800
0.7
1.0
1.0
Оба
2320900
0.8
1.6
1.6
3
. АМОРТИЗАТОР, ЗАДНИЙ - ЗАМЕНА
.
.
.
.
Правый
2321100
0.6
-
-
Левый
2321200
0.6
-
-
Оба
2321300
0.8
-
-
4
. ДЕМПФЕР, АМОРТИЗАТОР (ВЕРХ/НИЗ) - ЗАМЕНА
.
.
.
.
Правый
2321400
0.3
-
-
Левый
2321500
0.3
-
-
Оба
2321600
0.5
-
-
5
. КРЕПЛЕНИЕ СТОЙКИ ПОДВЕСКИ, ЗАДНЕЙ - ЗАМЕНА
.
.
.
.
Правый
2321700
0.7
0,9
0,9
Левый
2321800
0.7
0,9
0,9
Оба
2321900
1,2
1,4
1,4
6
. ГНЕЗДО, ЗАДНЕЕ ВЕРХНЕЕ ПРУЖИНЫ - ЗАМЕНА
.
.
.
.
Правый
2322100
-
0,9
0,9
Левый
2322200
-
0,9
0,9
Оба
2322300
-
1,4
1,4
7
. ПЫЛЬНИК И/ИЛИ ПОЛЫЙ ДЕМПФЕР - ЗАМЕНА
.
.
.
.
Правый
2322400
0.7
1.0
1.0
Левый
2322500
0.7
1.0
1.0
Оба
2322600
1,2
1.6
1.6
8
. ДЕМПФЕР, АМОРТИЗАЦИОННАЯ СТОЙКА - ЗАМЕНА
.
.
.
.
Правый
2322700
-
1.0
1.0
Левый
2322800
-
1.0
1.0
Оба
2322900
-
1.6
1.6
S : Kalos/Aveo, N : NUBIRA/LACETTI, L : EVANDA
На предыдущую страницуНа следующую страницу


Главная страница сайта