Диагностический код неисправности P0341
Датчик положения распределительного вала, выход сигнала из допустимого диапазона
Описание системы
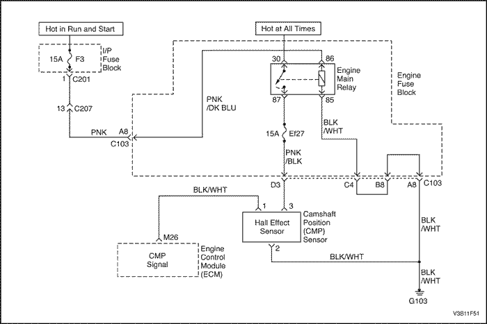
Датчик положения распределительного вала используется для поддержания связи между положением коленчатого вала и распределительного вала, чтобы контроллер ЭСУД смог определить, какой цилиндр готов к подаче топлива форсункой. Датчик положения распределительного вала также используется для определения того, в каком цилиндре происходит пропуск зажигания при наличии пропуска зажигания. В случае, когда контроллер ЭСУД не может воспользоваться информацией от датчика положения распределительного вала, происходит установка диагностического кода неисправности, и контроллер ЭСУД производит подачу топлива в двигатель методом попеременного синхронного двойного впрыска.
Условия установки кода неисправности.
- Опорный импульс от датчика положения распределительного вала с точным интервалом через каждые 4 цилиндра не определяется.
- Двигатель работает
Действия, выполняемые при установке кода неисправности
- Контрольная лампа индикации неисправности загорается после трех последовательных поездок с неисправностью.
- Контроллер записывает рабочие условия в момент определения неисправности. Эта информация сохраняется в буфере записей состояния и протоколах неисправностей.
- Сохраняется архив диагностических кодов неисправности.
Условия очистки кода неисправности/индикации неисправности
- Контрольная лампа индикации неисправности отключается через четыре последовательных цикла зажигания, в которых диагностика не обнаружила неисправность.
- Архив диагностических кодов неисправности очищается через 40 последовательных циклов нагрева без неисправностей.
- Диагностический код неисправности может быть очищен сканирующим прибором.
- Отключение питания контроллера ЭСУД более, чем на 10 секунд.
Указания по диагностике
Периодическая неисправность может быть вызвана слабым контактом, перетертой изоляцией или обрывом проводки в изоляции.
Любая цепь, подозреваемая в создании переменной неисправности, должна быть тщательно проверена на отсутствие следующего:
- Снятые клеммы
- Соединение клемм
- Неисправность замков
- Деформированность
- Повреждения клемм
- Слабое соединение клемм с проводами
- Физическое повреждение жгутов проводов
В любой момент, когда возникает нарушение связи, в контрольном счетчике работы датчика положения распределительного вала перестает увеличиваться показание.
Описание проверки
Приведенными ниже числами указываются номера операций в таблице диагностики.
- Бортовая система диагностики (EOBD) предлагает мастеру выполнить основные проверки и сохранить состояние и данные неисправностей в сканирующем приборе. Это создает электронную копию данных, записанную при возникновении неисправности. Информация сохраняется в сканирующем приборе для дальнейшей обработки.
- При этой операции определяется, является ли DTC P0341 результатом серьезного сбоя или неустойчивой неисправности.
- Показание на счетчике должно перестать увеличиваться при отсоединении электрического разъема датчика и устанавливается DTC P0342 при отсоединении датчика. Если показание счетчика все равно увеличивается, то контроллер ЭСУД неисправен.
- Соединения у датчика проверяются переставлением электрического разъема датчика положения распределительного вала. Убедиться в надежности закрепления электрического разъема.
- Ослабление соединения в любой из цепей датчика положения распределительного вала приводит к увеличению показаний счетчика ресинхронизации датчика положения распределительного вала. Как только ослабляется соединение, у контрольного счетчика работы датчика положения распределительного вала перестает наращиваться показание, но оно увеличивается у датчика ресинхронизации датчика положения распределительного вала.
- Заменяемый контроллер ЭСУД должен быть запрограммирован. Перепрограммирование контроллера ЭСУД описано в последней технологической инструкции Techline.
DTC P0341 Датчик положения распределительного вала, выход сигнала из допустимого диапазона
| Шаг | Операция | Значения | Да | Нет |
| 1 | Провести проверку бортовой системы диагностики (EOBD). Проверка проведена? | - | Перейти к операции 2 | |
| 2 | - Выключите зажигание.
- Подключить сканирующий прибор к колодке диагностики.
- Запустить двигатель и задать автомобилю рабочий режим в условиях записанных состояний и условий установки диагностического кода неисправности.
Установлен ли диагностический код неисправности Р0341? | - | Перейти к операции 3 | |
| 3 | - Выключите зажигание.
- Отсоедините разъем датчика положения распределительного вала (СМР).
- Включите зажигание.
- При помощи вольтметра проверить напряжение между клеммой 1 разъема проводки датчика положения распределительного вала (со стороны блока ЭСУД) и массой.
Напряжение близко к установленному значению? | 5 В | Перейти к операции 4 | Перейти к операции 5 |
| 4 | При помощи вольтметра проверить напряжение между клеммой 3 разъема проводки датчика положения распределительного вала и массой. Напряжение больше указанного значения? | 10 В | Перейти к операции 6 | Перейти к операции 10 |
| 5 | Контрольной лампой, подключенной к массе, проверить клемму 1 разъема жгута проводов датчика положения распределительного вала. Контрольная лампа горит? | - | Перейти к операции 8 | Перейти к операции 9 |
| 6 | Контрольной лампой, подключенной к + аккумулятора, проверить клемму 2 разъема жгута проводов датчика положения распределительного вала. Контрольная лампа горит? | - | Перейти к операции 7 | Перейти к операции 11 |
| 7 | Проверить надежность соединения на электрических разъемах датчика положения распределительного вала и при необходимости их восстановить. Закончен ли ремонт? | - | Перейти к операции 15 | Перейти к операции 13 |
| 8 | - Выключите зажигание.
- Отсоединить разъём контроллера ЭСУД.
- Устранить короткое замыкание в цепи сигнала датчика положения распределительного вала.
Закончен ли ремонт? | - | Перейти к операции 15 | Перейти к операции 14 |
| 9 | Проверить на обрыв или замыкание на массу цепи сигнала датчика положения распределительного вала и при необходимости устранить его. Закончен ли ремонт? | - | Перейти к операции 15 | Перейти к операции 12 |
| 10 | Проверить надежность соединения или на обрыв в цепи питания от + аккумулятора у датчика положения распределительного вала и при необходимости произвести ремонт. Закончен ли ремонт? | - | Перейти к операции 15 | - |
| 11 | Проверить надежность соединения или на обрыв в цепи заземления датчика положения распределительного вала и при необходимости произвести ремонт. Закончен ли ремонт? | - | Перейти к операции 15 | - |
| 12 | Проверить надежность соединения в цепи сигнала датчика положения распределительного вала и при необходимости произвести ремонт. Закончен ли ремонт? | - | Перейти к операции 15 | Перейти к операции 14 |
| 13 | - Выключите зажигание.
- Заменить датчик положения распределительного вала.
Закончен ли ремонт? | - | Перейти к операции 15 | - |
| 14 | - Выключите зажигание.
- Заменить контроллер ЭСУД.
Закончен ли ремонт? | - | Перейти к операции 15 | - |
| 15 | - Используя сканирующий прибор, очистить диагностические коды неисправностей.
- Запустить двигатель и дать ему поработать на холостом ходу при нормальной рабочей температуре.
- Совершить поездку для установки кодов неисправности, как это указано во вспомогательном тексте.
Сканирующий прибор определяет эту диагностику как прошедшую и успешную? | - | Перейти к операции 16 | Перейти к операции 2 |
| 16 | Проверьте, не установлены ли дополнительные диагностические коды неисправности. Отображены ли диагностические коды неисправности, которые не были продиагностированы? | - | Перейти разделу "Таблица применимых диагностических кодов неисправности" | Система в норме |
Диагностический код неисправности P0342
Датчик положения распределительного вала, отсутствует сигнал
Описание системы
Датчик положения распределительного вала используется для поддержания связи между положением коленчатого вала и распределительного вала, чтобы контроллер ЭСУД смог определить, какой цилиндр готов к подаче топлива форсункой. Датчик положения распределительного вала также используется для определения того, в каком цилиндре происходит пропуск зажигания при наличии пропуска зажигания. В случае, когда контроллер ЭСУД не может воспользоваться информацией от датчика положения распределительного вала, происходит установка диагностического кода неисправности, и контроллер ЭСУД производит подачу топлива в двигатель методом попеременного синхронного двойного впрыска.
Условия установки кода неисправности.
- Импульс от датчика положения распределительного вала просматривается через каждые 4 цилиндра.
- Двигатель работает
Действия, выполняемые при установке кода неисправности
- Контрольная лампа индикации неисправности загорается.
- Контроллер записывает рабочие условия в момент определения неисправности. Эта информация сохраняется в буфере записей состояния и протоколах неисправностей.
- Сохраняется архив диагностических кодов неисправности.
Условия очистки кода неисправности/индикации неисправности
- Контрольная лампа индикации неисправности отключается через четыре последовательных цикла зажигания, в которых диагностика не обнаружила неисправность.
- Архив диагностических кодов неисправности очищается через 40 последовательных циклов нагрева без неисправностей.
- Диагностический код неисправности может быть очищен сканирующим прибором.
- Отключение питания контроллера ЭСУД более, чем на 10 секунд.
Указания по диагностике
Периодическая неисправность может быть вызвана слабым контактом, перетертой изоляцией или обрывом проводки в изоляции.
Любая цепь, подозреваемая в создании переменной неисправности, должна быть тщательно проверена на отсутствие следующего:
- Снятые клеммы
- Соединение клемм
- Неисправность замков
- Деформированность
- Повреждения клемм
- Слабое соединение клемм с проводами
- Физическое повреждение жгутов проводов
Описание проверки
Приведенными ниже числами указываются номера операций в таблице диагностики.
- Бортовая система диагностики (EOBD) предлагает мастеру выполнить основные проверки и сохранить состояние и данные неисправностей в сканирующем приборе, если это необходимо. Это создает электронную копию данных, записанную при возникновении неисправности. Информация сохраняется в сканирующем приборе для дальнейшей обработки.
- В этой операции определяется, является ли DTC P0342 результатом серьезного сбоя или неустойчивой неисправности.
- Устанавливается присутствие напряжения в датчике положения распределительного вала.
- При этой операции проверяется напряжение, подаваемое от контроллера ЭСУД на датчик положения распределительного вала.
- Заменяемый контроллер ЭСУД должен быть запрограммирован. Перепрограммирование контроллера ЭСУД описано в последней технологической инструкции Techline.
DTC P0342 Датчик положения распределительного вала, отсутствует сигнал
| Шаг | Операция | Значения | Да | Нет |
| 1 | Провести проверку бортовой системы диагностики (EOBD). Проверка проведена? | - | Перейти к операции 2 | |
| 2 | - Выключите зажигание.
- Подключить сканирующий прибор к колодке диагностики.
- Запустить двигатель на холостом ходу.
Показание счетчика работы датчика положения распределительного вала увеличивается? | - | Перейти к операции 3 | Перейти к операции 4 |
| 3 | - Включите зажигание.
- Просмотреть данные записи состояний и записать параметры.
- Запустить двигатель и задать автомобилю рабочий режим в условиях записанных состояний и условий установки диагностического кода неисправности.
Показание счетчика работы датчика положения распределительного вала увеличивается? | - | Перейти к операции 13 | Перейти к операции 4 |
| 4 | - Выключите зажигание.
- Отсоединить разъем датчика положения распределительного вала
- Включите зажигание.
- Контрольной лампой, подключенной к массе, проверить клемму 3 разъема жгута проводов датчика положения распределительного вала.
Контрольная лампа горит? | - | Перейти к операции 5 | Перейти к операции 6 |
| 5 | Контрольной лампой, подключенной к + аккумулятора, проверить клемму 2 разъема жгута проводов датчика положения распределительного вала. Контрольная лампа горит? | - | Перейти к операции 7 | Перейти к операции 8 |
| 6 | Проверить надежность соединения или на обрыв в цепи питания датчика положения распределительного вала с + аккумулятора и при необходимости произвести ремонт. Закончен ли ремонт? | - | Перейти к операции 13 | |
| 7 | При помощи цифрового вольтметра проверить напряжение между клеммой 1 разъема проводки датчика положения распределительного вала и массой. Показание цифрового вольтметра близко к указанным значениям? | 5 В | Перейти к операции 11 | Перейти к операции 9 |
| 8 | Проверить надежность соединения или на обрыв в цепи заземления датчика положения распределительного вала и при необходимости произвести ремонт. Закончен ли ремонт? | - | Перейти к операции 13 | - |
| 9 | - Выключите зажигание.
- Отсоединить разъём контроллера электронной системы управления двигателем (ЭСУД).
- Проверить цепь сигнала датчика положения распределительного вала на обрыв или замыкание на массу или на + аккумулятора и при необходимости произвести ремонт.
Закончен ли ремонт? | - | Перейти к операции 13 | Перейти к операции 10 |
| 10 | Проверить на обрыв или замыкание на массу цепи сигнала датчика положения распределительного вала и при необходимости устранить его. Закончен ли ремонт? | - | Перейти к операции 13 | Перейти к операции 12 |
| 11 | - Выключите зажигание.
- Заменить датчик положения распределительного вала.
Закончен ли ремонт? | - | Перейти к операции 13 | - |
| 12 | - Выключите зажигание.
- Заменить контроллер ЭСУД.
Закончен ли ремонт? | - | Перейти к операции 13 | - |
| 13 | - Используя сканирующий прибор, очистить диагностические коды неисправностей.
- Запустить двигатель и дать ему поработать на холостом ходу при нормальной рабочей температуре.
- Совершить поездку для установки кодов неисправности, как это указано во вспомогательном тексте.
Сканирующий прибор определяет эту диагностику как прошедшую и успешную? | - | Перейти к операции 14 | Перейти к операции 2 |
| 14 | Проверьте, не установлены ли дополнительные диагностические коды неисправности. Отображены ли диагностические коды неисправности, которые не были продиагностированы? | - | Перейти разделу "Таблица применимых диагностических кодов неисправности" | Система в норме |
Диагностический код неисправности P0351
Цепь управления зажигания, неисправность типа А (цилиндр 2 и 3)
Описание схемы
Контроллер электронной системы управления двигателем (ЭСУД) служит источником заземления для электронной цепи А регулирования момента зажигания. Когда контроллер ЭСУД размыкает "массу" первичной катушки зажигания, магнитное поле катушки исчезает. Исчезновение магнитного поля вызывает появление напряжения во вторичной катушке, которая выдает разряд на свече зажигания.
Цепь между контроллером ЭСУД и катушкой электронной системы зажигания контролируется на наличие обрыва, замыкания на источник напряжения и замыкание на массу. При обнаружении контроллером ЭСУД неисправности в электронной цепи А регулирования момента зажигания он устанавливает диагностический код неисправности (DTC) 0351.
Условия установки кода неисправности.
- Сигнал обратной связи об отказе контроля.
- Включено зажигание.
- Подсчет сбоев при увеличении числа признаков сбоя.
- Должно быть получено более 200 сбоев за 255 испытательных циклов.
Действия, выполняемые при установке кода неисправности
- Контрольная лампа индикации неисправности загорается.
- Контроллер записывает рабочие условия в момент определения неисправности. Эта информация сохраняется в буфере записей состояния и протоколах неисправностей.
- На низких оборотах включается вентилятор системы охлаждения.
- Сохраняется архив диагностических кодов неисправности.
Условия очистки кода неисправности/индикации неисправности
- Контрольная лампа индикации неисправности отключается через четыре последовательных цикла зажигания, в которых диагностика не обнаружила неисправность.
- Архив диагностических кодов неисправности очищается через 40 последовательных циклов нагрева без неисправностей.
- Диагностический код неисправности может быть очищен сканирующим прибором.
- Отключение питания контроллера ЭСУД более, чем на 10 секунд.
Указания по диагностике
Неустойчивая неисправность может быть вызвана слабым контактом, перетертой изоляции или обрывом проводки под изоляцией. Проверить:
- Слабое соединение - проверить жгут проводов контроллера ЭСУД и разъемы на слабый контакт, неисправность замков, деформированность или повреждения клемм и слабое соединение клемм с проводами.
- Повреждения жгутов - осмотреть жгут проводов на наличие повреждений. Если жгут проводов кажется исправным, отсоединить контроллер ЭСУД, включить зажигание и проследить за показаниями вольтметра в цепи опорного сигнала 58Х, перемещая разъемы и жгуты проводки, относящиеся к контроллеру ЭСУД. Изменения в уровне сигнала покажут место нахождения неисправности.
Просмотр протоколов неисправностей после последней неудавшейся диагностической проверки поможет определить, как часто происходило условие, вызывавшее установку диагностического кода неисправности. Это поможет продиагностировать условия.
DTC P0351 - Неисправность цепи А управления зажиганием (2-й и 3-й цилиндры)
| Шаг | Операция | Значения | Да | Нет |
| 1 | Провести проверку бортовой системы диагностики (EOBD). Проверка проведена? | - | Перейти к операции 2 | |
| 2 | Проверить, нет ли нарушения в соединении или повреждения клеммы С у катушки электронной системы зажигания, и при необходимости произвести ремонт. Закончен ли ремонт? | - | Перейти к операции 8 | Перейти к операции 3 |
| 3 | Проверить, нет ли нарушения в соединении или повреждения клеммы М51/М35 у контроллера ЭСУД, и при необходимости произвести ремонт. Закончен ли ремонт? | - | Перейти к операции 8 | Перейти к операции 4 |
| 4 | - Выключить зажигание.
- Отсоединить разъём контроллера ЭСУД.
- Проверить цепь управления зажиганием на замыкание на массу и устранить неисправность, если необходимо.
Закончен ли ремонт? | - | Перейти к операции 8 | Перейти к операции 5 |
| 5 | Проверить цепь управления зажиганием на отсутствие напряжения короткого замыкания на источник напряжения и устранить неисправность при необходимости. Закончен ли ремонт? | - | Перейти к операции 8 | Перейти к операции 6 |
| 6 | Проверить на обрыв цепь управления зажиганием и устранить неисправность при необходимости. Закончен ли ремонт? | - | Перейти к операции 8 | Перейти к операции 7 |
| 7 | - Выключите зажигание.
- Заменить контроллер ЭСУД.
Закончен ли ремонт? | - | Перейти к операции 8 | - |
| 8 | - Используя сканирующий прибор, очистить диагностические коды неисправностей.
- Запустить двигатель и дать ему поработать на холостом ходу при нормальной рабочей температуре.
- Совершить поездку для установки кодов неисправности, как это указано во вспомогательном тексте.
Сканирующий прибор определяет эту диагностику как прошедшую и успешную? | - | Перейти к операции 9 | Перейти к операции 2 |
| 9 | Проверьте, не установлены ли дополнительные диагностические коды неисправности. Отображены ли диагностические коды неисправности, которые не были продиагностированы? | - | Перейти к соответствующей таблице диагностических кодов неисправности | Система в норме |
Диагностический код неисправности P0352
Цепь управления зажигания, неисправность типа В (цилиндр 1 и 4)
Описание схемы
Контроллер электронной системы управления двигателем (ЭСУД) служит источником заземления для электронной цепи А регулирования момента зажигания. Когда контроллер ЭСУД размыкает "массу" первичной катушки зажигания, магнитное поле катушки исчезает. Исчезновение магнитного поля вызывает появление напряжения во вторичной катушке, которая выдает разряд на свече зажигания.
Цепь между контроллером ЭСУД и катушкой электронной системы зажигания контролируется на наличие обрыва, замыкания на источник напряжения и замыкание на массу. При обнаружении контроллером ЭСУД неисправности в электронной цепи А регулирования момента зажигания он устанавливает диагностический код неисправности (DTC) 0351.
Условия установки кода неисправности.
- Сигнал обратной связи об отказе контроля.
- Включено зажигание.
- Подсчет сбоев при увеличении числа признаков сбоя.
- Должно быть получено более 200 сбоев за 255 испытательных циклов.
Действия, выполняемые при установке кода неисправности
- Контрольная лампа индикации неисправности загорается.
- Контроллер записывает рабочие условия в момент определения неисправности. Эта информация сохраняется в буфере записей состояния и протоколах неисправностей.
- На низких оборотах включается вентилятор системы охлаждения.
- Сохраняется архив диагностических кодов неисправности.
Условия очистки кода неисправности/индикации неисправности
- Контрольная лампа индикации неисправности отключается через четыре последовательных цикла зажигания, в которых диагностика не обнаружила неисправность.
- Архив диагностических кодов неисправности очищается через 40 последовательных циклов нагрева без неисправностей.
- Диагностический код неисправности может быть очищен сканирующим прибором.
- Отключение питания контроллера ЭСУД более, чем на 10 секунд.
Указания по диагностике
Неустойчивая неисправность может быть вызвана слабым контактом, перетертой изоляции или обрывом проводки под изоляцией. Проверить:
- Слабое соединение - проверить жгут проводов контроллера ЭСУД и разъемы на слабый контакт, неисправность замков, деформированность или повреждения клемм и слабое соединение клемм с проводами.
- Повреждения жгутов - осмотреть жгут проводов на наличие повреждений. Если жгут проводов кажется исправным, отсоединить контроллер ЭСУД, включить зажигание и проследить за показаниями вольтметра в цепи опорного сигнала 58Х, перемещая разъемы и жгуты проводки, относящиеся к контроллеру ЭСУД. Изменения в уровне сигнала покажут место нахождения неисправности.
Просмотр протоколов неисправностей после последней неудавшейся диагностической проверки поможет определить, как часто происходило условие, вызывавшее установку диагностического кода неисправности. Это поможет продиагностировать условия.
DTC P0352 - Неисправность цепи В управления зажиганием (1-й и 4-й цилиндры)
| Шаг | Операция | Значения | Да | Нет |
| 1 | Провести проверку бортовой системы диагностики (EOBD). Проверка проведена? | - | Перейти к операции 2 | |
| 2 | Проверить, нет ли нарушения в соединении или повреждения клеммы а у катушки электронной системы зажигания, и при необходимости произвести ремонт. Закончен ли ремонт? | - | Перейти к операции 8 | Перейти к операции 3 |
| 3 | Проверить, нет ли нарушения в соединении или повреждения клеммы М33/М1 у контроллера ЭСУД, и при необходимости произвести ремонт. Закончен ли ремонт? | - | Перейти к операции 8 | Перейти к операции 4 |
| 4 | - Выключите зажигание.
- Отсоединить разъём контроллера ЭСУД.
- Проверить цепь управления зажиганием на замыкание на массу и устранить неисправность, если необходимо.
Закончен ли ремонт? | - | Перейти к операции 8 | Перейти к операции 5 |
| 5 | Проверить контрольную лампу индикации неисправности на замыкание на источник напряжения и устранить неисправность, если необходимо. Закончен ли ремонт? | - | Перейти к операции 8 | Перейти к операции 6 |
| 6 | Проверить на обрыв цепь управления зажиганием и устранить неисправность при необходимости. Закончен ли ремонт? | - | Перейти к операции 8 | Перейти к операции 7 |
| 7 | - Выключите зажигание.
- Заменить контроллер ЭСУД.
Закончен ли ремонт? | - | Перейти к операции 8 | - |
| 8 | - Используя сканирующий прибор, очистить диагностические коды неисправностей.
- Запустить двигатель и дать ему поработать на холостом ходу при нормальной рабочей температуре.
- Совершить поездку для установки кодов неисправности, как это указано во вспомогательном тексте.
Сканирующий прибор определяет эту диагностику как прошедшую и успешную? | - | Перейти к операции 9 | Перейти к операции 2 |
| 9 | Проверьте, не установлены ли дополнительные диагностические коды неисправности. Отображены ли диагностические коды неисправности, которые не были продиагностированы? | - | Перейти к соответствующей таблице диагностических кодов неисправности | Система в норме |
 | |  | |