Руководство по техническому обслуживанию2006 Evanda Код P1861К началу документа
Evanda
На предыдущую страницуНа следующую страницу
Главная страница GMDEЗагрузить нединамическое оглавлениеЗагрузить динамическое оглавлениеПомощь

J6B35A07
Показать иллюстрациюПеревод текста в иллюстрациях


Код P1861

Короткое замыкание выхода EDS4 на массу

Описание схемы

Клапан-регулятор давления (клапан EDS 3, 4, 5, 6) является высокоточным электронным регулятором давления, который управляет работой фрикционных муфт, тормозов и блокировочной муфтой.
Клапан понижает системное давление, которое затем подается на электромагнитные клапаны и клапаны регулировки давления. Это позволяет использовать менее мощные электромагнитные клапаны. На клапаны EDS должно подаваться постоянное давление.

Условия занесения кода неисправности

Действия при занесении кода неисправности

Условия очистки кода неисправности/выключения индикатора неисправности

Диагностическая информация

Код P1861 - Короткое замыкание выхода EDS 4 на массу

ШагОперацияЗначенияДаНет
1
Выполнить проверку системы бортовой диагностики.
Проверка завершена?
-
Перейти к Шагу 2
Перейти к пункту "Проверка системы бортовой диагностики"
2
  1. Подключить диагностический прибор.
  2. Включить зажигание при выключенном двигателе.
  3. На диагностическом приборе выбрать "Actuating" ("Управление исполнительными механизмами").
  4. Подать команду на включение/выключение EDS 4.
EDS 4 включается и выключается?
вкл/выкл
Перейти к пункту "Диагностическая информация"
Перейти к Шагу 3
3
  1. Выключить зажигание.
  2. Разъединить электрический разъем КПП.
  3. Измерить сопротивление между контактами 5 и 7 электрического разъема жгута КПП.
Измеренное сопротивление находится в указанном диапазоне?
Темп.
25°С (77°Ф)
6 Ом
Перейти к Шагу 7
Перейти к Шагу 4
4
  1. Снять масляный поддон.
  2. Разъединить электрический разъем жгута EDS 4.
  3. Измерить сопротивление между контактом 2 EDS 4 и массой.
  4. Измерить сопротивление между контактом 1 EDS 4 и массой.
Измеренное сопротивление находится в указанном диапазоне?
Перейти к Шагу 6
Перейти к Шагу 5
5
Устранить замыкание внутренней линии (EDS 4) на массу.
Ремонт закончен?
-
Система исправна
-
6
Заменить EDS 4.
Замена завершена?
-
Система исправна
-
7
  1. Разъединить электрический разъем жгута КПП и разъем контроллера КПП.
  2. Измерить сопротивление между контактом 5 электрического разъема жгута КПП и массой.
  3. Измерить сопротивление между контактом 7 электрического разъема жгута КПП и массой.
Измеренное сопротивление находится в указанном диапазоне?
Перейти к Шагу 9
Перейти к Шагу 8
8
Устранить замыкание жгута КПП на массу.
Ремонт закончен?
-
Система исправна
-
9
Заменить контроллер КПП.
Замена завершена?
-
Перейти к Шагу 10
-
10
  1. После окончания ремонта выбрать команду "clear info" ("очистить данные") на диагностическом приборе и провести дорожное испытание автомобиля.
  2. Просмотреть информацию о кодах ("DTC info").
  3. Последнее испытание прошло неудачно или отображается текущий код?
-
Начать диагностику заново
Неисправность устранена. Закончить проверку по таблице.

J6B35A07
Показать иллюстрациюПеревод текста в иллюстрациях


Код P1862

Короткое замыкание выхода EDS4 на напряжение питания

Описание схемы

Клапан-регулятор давления (клапан EDS 3, 4, 5, 6) является высокоточным электронным регулятором давления, который управляет работой фрикционных муфт, тормозов и блокировочной муфтой.
Клапан понижает системное давление, которое затем подается на электромагнитные клапаны и клапаны регулировки давления. Это позволяет использовать менее мощные электромагнитные клапаны. На клапаны EDS должно подаваться постоянное давление.

Условия занесения кода неисправности

Действия при занесении кода неисправности

Условия очистки кода неисправности/выключения индикатора неисправности

Диагностическая информация

Код P1862 - Короткое замыкание выхода EDS 4 на напряжение питания

ШагОперацияЗначенияДаНет
1
Выполнить проверку системы бортовой диагностики.
Проверка завершена?
-
Перейти к Шагу 2
Перейти к пункту "Проверка системы бортовой диагностики"
2
  1. Подключить диагностический прибор.
  2. Включить зажигание при выключенном двигателе.
  3. На диагностическом приборе выбрать "Actuating" ("Управление исполнительными механизмами").
  4. Подать команду на включение/выключение EDS 4.
EDS 4 включается и выключается?
вкл/выкл
Перейти к пункту "Диагностическая информация"
Перейти к Шагу 3
3
  1. Снять масляный поддон.
  2. Разъединить электрический разъем жгута EDS 4.
  3. Включить зажигание при выключенном двигателе.
  4. Измерить напряжение на контакте 1 разъема жгута EDS4.
Напряжение находится в указанном диапазоне?
11-14В
Перейти к Шагу 4
Перейти к Шагу 5
4
Устранить замыкание внутренней линии (EDS 4) на напряжение питания.
Ремонт закончен?
-
Система исправна
-
5
Заменить EDS 4.
Замена завершена?
-
Перейти к Шагу 6
-
6
  1. Проверить наличие кодов неисправности.
  2. Выявлены ли коды неисправностей, которые еще не диагностировались?
-
Перейти к таблице соответствующего кода
Система исправна

J6B35A07
Показать иллюстрациюПеревод текста в иллюстрациях


Код P1863

Обрыв выхода EDS4

Описание схемы

Клапан-регулятор давления (клапан EDS 3, 4, 5, 6) является высокоточным электронным регулятором давления, который управляет работой фрикционных муфт, тормозов и блокировочной муфтой.
Клапан понижает системное давление, которое затем подается на электромагнитные клапаны и клапаны регулировки давления. Это позволяет использовать менее мощные электромагнитные клапаны. На клапаны EDS должно подаваться постоянное давление.

Условия занесения кода неисправности

Действия при занесении кода неисправности

Условия очистки кода неисправности/выключения индикатора неисправности

Диагностическая информация

Код P1863 - Обрыв выхода EDS 4

ШагОперацияЗначенияДаНет
1
Выполнить проверку системы бортовой диагностики.
Проверка завершена?
-
Перейти к Шагу 2
Перейти к пункту "Проверка системы бортовой диагностики"
2
  1. Подключить диагностический прибор.
  2. Включить зажигание при выключенном двигателе.
  3. На диагностическом приборе выбрать "Actuating" ("Управление исполнительными механизмами").
  4. Подать команду на включение/выключение EDS 4.
EDS 4 включается и выключается?
вкл/выкл
Перейти к пункту "Диагностическая информация"
Перейти к Шагу 3
3
  1. Выключить зажигание.
  2. Разъединить электрический разъем КПП.
  3. Измерить сопротивление между контактами 5 и 7 электрического разъема жгута КПП.
Измеренное сопротивление находится в указанном диапазоне?
Темп.
25°С (77°Ф)
6 Ом
Перейти к Шагу 7
Перейти к Шагу 4
4
  1. Снять масляный поддон.
  2. Разъединить электрический разъем жгута EDS 4.
  3. Измерить сопротивление между контактом 2 EDS 4 и контактом 5 разъема КПП.
  4. Измерить сопротивление между контактом 1 EDS 4 и контактом 7 разъема КПП.
Измеренное сопротивление находится в указанном диапазоне?
≈ 0 Ом
Перейти к Шагу 6
Перейти к Шагу 5
5
  1. Устранить разрыв цепи (между контактами 2 и 5).
  2. Устранить разрыв цепи (между контактами 1 и 7).
Ремонт закончен?
-
Система исправна
-
6
Заменить EDS 4.
Замена завершена?
-
Система исправна
-
7
  1. Разъединить электрический разъем жгута КПП и разъем контроллера КПП.
  2. Измерить сопротивление между контактом 5 электрического разъема КПП и контактом C7 разъема контроллера КПП.
  3. Измерить сопротивление между контактом 7 электрического разъема КПП и контактом A3 разъема контроллера КПП.
Измеренное сопротивление находится в указанном диапазоне?
≈ 0 Ом
Перейти к Шагу 9
Перейти к Шагу 8
8
Устранить разрыв цепи жгута проводов коробки передач.
Ремонт закончен?
-
Система исправна
-
9
Заменить контроллер КПП.
Замена завершена?
-
Перейти к Шагу 10
-
10
  1. После окончания ремонта выбрать команду "clear info" ("очистить данные") на диагностическом приборе и провести дорожное испытание автомобиля.
  2. Просмотреть информацию о кодах ("DTC info").
  3. Последнее испытание прошло неудачно или отображается текущий код?
-
Начать диагностику заново
Неисправность устранена. Закончить проверку по таблице.

J6B35A07
Показать иллюстрациюПеревод текста в иллюстрациях


Код P1864

Короткое замыкание выхода EDS5 на массу

Описание схемы

Клапан-регулятор давления (клапан EDS 3, 4, 5, 6) является высокоточным электронным регулятором давления, который управляет работой фрикционных муфт, тормозов и блокировочной муфтой.
Клапан понижает системное давление, которое затем подается на электромагнитные клапаны и клапаны регулировки давления. Это позволяет использовать менее мощные электромагнитные клапаны. На клапаны EDS должно подаваться постоянное давление.

Условия занесения кода неисправности

Действия при занесении кода неисправности

Условия очистки кода неисправности/выключения индикатора неисправности

Диагностическая информация

Код P1864 - Короткое замыкание выхода EDS 5 на массу

ШагОперацияЗначенияДаНет
1
Выполнить проверку системы бортовой диагностики.
Проверка завершена?
-
Перейти к Шагу 2
Перейти к пункту "Проверка системы бортовой диагностики"
2
  1. Подключить диагностический прибор.
  2. Включить зажигание при выключенном двигателе.
  3. На диагностическом приборе выбрать "Actuating" ("Управление исполнительными механизмами").
  4. Подать команду на включение/выключение EDS 5.
EDS 5 включается и выключается?
вкл/выкл
Перейти к пункту "Диагностическая информация"
Перейти к Шагу 3
3
  1. Выключить зажигание.
  2. Разъединить электрический разъем КПП.
  3. Измерить сопротивление между контактами 5 и 10 электрического разъема жгута КПП.
Измеренное сопротивление находится в указанном диапазоне?
Темп.
25°С (77°Ф)
6 Ом
Перейти к Шагу 7
Перейти к Шагу 4
4
  1. Снять масляный поддон.
  2. Разъединить электрический разъем жгута EDS 5.
  3. Измерить сопротивление между контактом 2 EDS 5 и массой.
  4. Измерить сопротивление между контактом 1 EDS 5 и массой.
Измеренное сопротивление находится в указанном диапазоне?
Перейти к Шагу 6
Перейти к Шагу 5
5
Устранить замыкание внутренней линии (EDS 5) на массу.
Ремонт закончен?
-
Система исправна
-
6
Заменить EDS 5.
Замена завершена?
-
Система исправна
-
7
  1. Разъединить электрический разъем жгута КПП и разъем контроллера КПП.
  2. Измерить сопротивление между контактом 5 электрического разъема жгута КПП и массой.
  3. Измерить сопротивление между контактом 10 электрического разъема жгута КПП и массой.
Измеренное сопротивление находится в указанном диапазоне?
Перейти к Шагу 9
Перейти к Шагу 8
8
Устранить замыкание жгута КПП на массу.
Ремонт закончен?
-
Система исправна
-
9
Заменить контроллер КПП.
Замена завершена?
-
Перейти к Шагу 10
-
10
  1. После окончания ремонта выбрать команду "clear info" ("очистить данные") на диагностическом приборе и провести дорожное испытание автомобиля.
  2. Просмотреть информацию о кодах ("DTC info").
  3. Последнее испытание прошло неудачно или отображается текущий код?
-
Начать диагностику заново
Неисправность устранена. Закончить проверку по таблице.

J6B35A07
Показать иллюстрациюПеревод текста в иллюстрациях


Код P1865

Короткое замыкание выхода EDS5 на напряжение питания

Описание схемы

Клапан-регулятор давления (клапан EDS 3, 4, 5, 6) является высокоточным электронным регулятором давления, который управляет работой фрикционных муфт, тормозов и блокировочной муфтой.
Клапан понижает системное давление, которое затем подается на электромагнитные клапаны и клапаны регулировки давления. Это позволяет использовать менее мощные электромагнитные клапаны. На клапаны EDS должно подаваться постоянное давление.

Условия занесения кода неисправности

Действия при занесении кода неисправности

Условия очистки кода неисправности/выключения индикатора неисправности

Диагностическая информация

Код P1865 - Короткое замыкание выхода EDS 5 на напряжение питания

ШагОперацияЗначенияДаНет
1
Выполнить проверку системы бортовой диагностики.
Проверка завершена?
-
Перейти к Шагу 2
Перейти к пункту "Проверка системы бортовой диагностики"
2
  1. Подключить диагностический прибор.
  2. Включить зажигание при выключенном двигателе.
  3. На диагностическом приборе выбрать "Actuating" ("Управление исполнительными механизмами").
  4. Подать команду на включение/выключение EDS 5.
EDS 5 включается и выключается?
вкл/выкл
Перейти к пункту "Диагностическая информация"
Перейти к Шагу 3
3
  1. Снять масляный поддон.
  2. Разъединить электрический разъем жгута EDS 5.
  3. Включить зажигание при выключенном двигателе.
  4. Измерить напряжение на контакте 2 разъема жгута EDS5.
Измеренное сопротивление находится в указанном диапазоне?
11-14В
Перейти к Шагу 4
Перейти к Шагу 5
4
Устранить замыкание внутренней линии (EDS 5) на напряжение питания.
Ремонт закончен?
-
Система исправна
-
5
Заменить EDS 5.
Замена завершена?
-
Перейти к Шагу 6
-
6
  1. Проверить наличие кодов неисправности.
  2. Выявлены ли коды неисправностей, которые еще не диагностировались?
-
Перейти к таблице соответствующего кода
Система исправна

J6B35A07
Показать иллюстрациюПеревод текста в иллюстрациях


Код P1866

Обрыв выхода EDS5

Описание схемы

Клапан-регулятор давления (клапан EDS 3, 4, 5, 6) является высокоточным электронным регулятором давления, который управляет работой фрикционных муфт, тормозов и блокировочной муфтой.
Клапан понижает системное давление, которое затем подается на электромагнитные клапаны и клапаны регулировки давления. Это позволяет использовать менее мощные электромагнитные клапаны. На клапаны EDS должно подаваться постоянное давление.

Условия занесения кода неисправности

Действия при занесении кода неисправности

Условия очистки кода неисправности/выключения индикатора неисправности

Диагностическая информация

Код P1866 - Обрыв выхода EDS 5

ШагОперацияЗначенияДаНет
1
Выполнить проверку системы бортовой диагностики.
Проверка завершена?
-
Перейти к Шагу 2
Перейти к пункту "Проверка системы бортовой диагностики"
2
  1. Подключить диагностический прибор.
  2. Включить зажигание при выключенном двигателе.
  3. На диагностическом приборе выбрать "Actuating" ("Управление исполнительными механизмами").
  4. Подать команду на включение/выключение EDS 5.
EDS 5 включается и выключается?
вкл/выкл
Перейти к пункту "Диагностическая информация"
Перейти к Шагу 3
3
  1. Выключить зажигание.
  2. Разъединить электрический разъем КПП.
  3. Измерить сопротивление между контактами 5 и 10 электрического разъема жгута КПП.
Измеренное сопротивление находится в указанном диапазоне?
Темп.
25°С (77°Ф)
6 Ом
Перейти к Шагу 7
Перейти к Шагу 4
4
  1. Снять масляный поддон.
  2. Разъединить электрический разъем жгута EDS 5.
  3. Измерить сопротивление между контактом 2 EDS 5 и контактом 5 разъема КПП.
  4. Измерить сопротивление между контактом 1 EDS 5 и контактом 10 разъема КПП.
Измеренное сопротивление находится в указанном диапазоне?
≈ 0 Ом
Перейти к Шагу 6
Перейти к Шагу 5
5
  1. Устранить разрыв цепи (между контактами 2 и 5).
  2. Устранить разрыв цепи (между контактами 1 и 10).
Ремонт закончен?
-
Система исправна
-
6
Заменить EDS 5.
Замена завершена?
-
Система исправна
-
7
  1. Разъединить электрический разъем жгута КПП и разъем контроллера КПП.
  2. Измерить сопротивление между контактом 5 электрического разъема КПП и контактом C7 разъема контроллера КПП.
  3. Измерить сопротивление между контактом 10 электрического разъема КПП и контактом A10 разъема контроллера КПП.
Измеренное сопротивление находится в указанном диапазоне?
≈ 0 Ом
Перейти к Шагу 9
Перейти к Шагу 8
8
Устранить разрыв цепи жгута проводов коробки передач.
Ремонт закончен?
-
Система исправна
-
9
Заменить контроллер КПП.
Замена завершена?
-
Перейти к Шагу 10
-
10
  1. После окончания ремонта выбрать команду "clear info" ("очистить данные") на диагностическом приборе и провести дорожное испытание автомобиля.
  2. Просмотреть информацию о кодах ("DTC info").
Последнее испытание прошло неудачно или отображается текущий код?
-
Начать диагностику заново
Неисправность устранена. Закончить проверку по таблице.

J6B35A07
Показать иллюстрациюПеревод текста в иллюстрациях


Код P1867

Короткое замыкание выхода EDS6 на массу

Описание схемы

Клапан-регулятор давления (клапан EDS 3, 4, 5, 6) является высокоточным электронным регулятором давления, который управляет работой фрикционных муфт, тормозов и блокировочной муфтой.
Клапан понижает системное давление, которое затем подается на электромагнитные клапаны и клапаны регулировки давления. Это позволяет использовать менее мощные электромагнитные клапаны. На клапаны EDS должно подаваться постоянное давление.

Условия занесения кода неисправности

Действия при занесении кода неисправности

Условия очистки кода неисправности/выключения индикатора неисправности

Диагностическая информация

Код P1867 - Короткое замыкание выхода EDS 6 на массу

ШагОперацияЗначенияДаНет
1
Выполнить проверку системы бортовой диагностики.
Проверка завершена?
-
Перейти к Шагу 2
Перейти к пункту "Проверка системы бортовой диагностики"
2
  1. Подключить диагностический прибор.
  2. Включить зажигание при выключенном двигателе.
  3. На диагностическом приборе выбрать "Actuating" ("Управление исполнительными механизмами").
  4. Подать команду на включение/выключение EDS 6.
EDS 6 включается и выключается?
вкл/выкл
Перейти к пункту "Диагностическая информация"
Перейти к Шагу 3
3
  1. Выключить зажигание.
  2. Разъединить электрический разъем КПП.
  3. Измерить сопротивление между контактами 5 и 11 электрического разъема жгута КПП.
Измеренное сопротивление находится в указанном диапазоне?
Темп.
25°С (77°Ф)
6 Ом
Перейти к Шагу 7
Перейти к Шагу 4
4
  1. Снять масляный поддон.
  2. Разъединить электрический разъем жгута EDS 6.
  3. Измерить сопротивление между контактом 2 EDS 6 и массой.
  4. Измерить сопротивление между контактом 1 EDS 6 и массой.
Измеренное сопротивление находится в указанном диапазоне?
Перейти к Шагу 6
Перейти к Шагу 5
5
Устранить замыкание внутренней линии (EDS 6) на массу.
Ремонт закончен?
-
Система исправна
-
6
Заменить EDS 6.
Замена завершена?
-
Система исправна
-
7
  1. Разъединить электрический разъем жгута КПП и разъем контроллера КПП.
  2. Измерить сопротивление между контактом 5 электрического разъема жгута КПП и массой.
  3. Измерить сопротивление между контактом 11 электрического разъема жгута КПП и массой.
Измеренное сопротивление находится в указанном диапазоне?
Перейти к Шагу 9
Перейти к Шагу 8
8
Устранить замыкание жгута КПП на массу.
Ремонт закончен?
-
Система исправна
-
9
Заменить контроллер КПП.
Замена завершена?
-
Перейти к Шагу 10
-
10
  1. После окончания ремонта выбрать команду "clear info" ("очистить данные") на диагностическом приборе и провести дорожное испытание автомобиля.
  2. Просмотреть информацию о кодах ("DTC info").
Последнее испытание прошло неудачно или отображается текущий код?
-
Начать диагностику заново
Неисправность устранена. Закончить проверку по таблице.

J6B35A07
Показать иллюстрациюПеревод текста в иллюстрациях


Код P1868

Короткое замыкание выхода EDS6 на напряжение питания

Описание схемы

Клапан-регулятор давления (клапан EDS 3, 4, 5, 6) является высокоточным электронным регулятором давления, который управляет работой фрикционных муфт, тормозов и блокировочной муфтой.
Клапан понижает системное давление, которое затем подается на электромагнитные клапаны и клапаны регулировки давления. Это позволяет использовать менее мощные электромагнитные клапаны. На клапаны EDS должно подаваться постоянное давление.

Условия занесения кода неисправности

Действия при занесении кода неисправности

Условия очистки кода неисправности/выключения индикатора неисправности

Диагностическая информация

Код P1868 - Короткое замыкание выхода EDS 6 на напряжение питания

ШагОперацияЗначенияДаНет
1
Выполнить проверку системы бортовой диагностики.
Проверка завершена?
-
Перейти к Шагу 2
Перейти к пункту "Проверка системы бортовой диагностики"
2
  1. Подключить диагностический прибор.
  2. Включить зажигание при выключенном двигателе.
  3. На диагностическом приборе выбрать "Actuating" ("Управление исполнительными механизмами").
  4. Подать команду на включение/выключение EDS 6.
EDS 6 включается и выключается?
вкл/выкл
Перейти к пункту "Диагностическая информация"
Перейти к Шагу 3
3
  1. Снять масляный поддон.
  2. Разъединить электрический разъем жгута EDS 6.
  3. Включить зажигание при выключенном двигателе.
  4. Измерить напряжение на контакте 2 разъема жгута EDS6.
Напряжение находится в указанном диапазоне?
11-14В
Перейти к Шагу 4
Перейти к Шагу 5
4
Устранить замыкание внутренней линии (EDS 6) на напряжение питания.
Ремонт закончен?
-
Система исправна
-
5
Заменить EDS 6.
Замена завершена?
-
Перейти к Шагу 6
-
6
  1. Проверить наличие кодов неисправности.
  2. Выявлены ли коды неисправностей, которые еще не диагностировались?
-
Перейти к таблице соответствующего кода
Система исправна

J6B35A07
Показать иллюстрациюПеревод текста в иллюстрациях


Код P1869

Обрыв выхода EDS6

Описание схемы

Клапан-регулятор давления (клапан EDS 3, 4, 5, 6) является высокоточным электронным регулятором давления, который управляет работой фрикционных муфт, тормозов и блокировочной муфтой.
Клапан понижает системное давление, которое затем подается на электромагнитные клапаны и клапаны регулировки давления. Это позволяет использовать менее мощные электромагнитные клапаны. На клапаны EDS должно подаваться постоянное давление.

Условия занесения кода неисправности

Действия при занесении кода неисправности

Условия очистки кода неисправности/выключения индикатора неисправности

Диагностическая информация

Код P1869 - Обрыв выхода EDS 6

ШагОперацияЗначенияДаНет
1
Выполнить проверку системы бортовой диагностики.
Проверка завершена?
-
Перейти к Шагу 2
Перейти к пункту "Проверка системы бортовой диагностики"
2
  1. Подключить диагностический прибор.
  2. Включить зажигание при выключенном двигателе.
  3. На диагностическом приборе выбрать "Actuating" ("Управление исполнительными механизмами").
  4. Подать команду на включение/выключение EDS 6.
EDS 6 включается и выключается?
вкл/выкл
Перейти к пункту "Диагностическая информация"
Перейти к Шагу 3
3
  1. Выключить зажигание.
  2. Разъединить электрический разъем КПП.
  3. Измерить сопротивление между контактами 5 и 11 электрического разъема жгута КПП.
Измеренное сопротивление находится в указанном диапазоне?
Темп.
25°С (77°Ф)
6 Ом
Перейти к Шагу 7
Перейти к Шагу 4
4
  1. Снять масляный поддон.
  2. Разъединить электрический разъем жгута EDS 6.
  3. Измерить сопротивление между контактом 2 EDS 6 и контактом 5 разъема КПП.
  4. Измерить сопротивление между контактом 1 EDS 6 и контактом 11 разъема КПП.
Измеренное сопротивление находится в указанном диапазоне?
≈ 0 Ом
Перейти к Шагу 6
Перейти к Шагу 5
5
  1. Устранить разрыв цепи (между контактами 2 и 5).
  2. Устранить разрыв цепи (между контактами 1 и 11).
Ремонт закончен?
-
Система исправна
-
6
Заменить EDS 6.
Замена завершена?
-
Система исправна
-
7
  1. Разъединить электрический разъем жгута КПП и разъем контроллера КПП.
  2. Измерить сопротивление между контактом 5 электрического разъема КПП и контактом C7 разъема контроллера КПП.
  3. Измерить сопротивление между контактом 11 электрического разъема КПП и контактом A12 разъема контроллера КПП.
Измеренное сопротивление находится в указанном диапазоне?
≈ 0 Ом
Перейти к Шагу 9
Перейти к Шагу 8
8
Устранить разрыв цепи жгута проводов коробки передач.
Ремонт закончен?
-
Система исправна
-
9
Заменить контроллер КПП.
Замена завершена?
-
Перейти к Шагу 10
-
10
  1. После окончания ремонта выбрать команду "clear info" ("очистить данные") на диагностическом приборе и провести дорожное испытание автомобиля.
  2. Просмотреть информацию о кодах ("DTC info").
  3. Последнее испытание прошло неудачно или отображается текущий код?
-
Начать диагностику заново
Неисправность устранена. Закончить проверку по таблице.

J6B35A07
Показать иллюстрациюПеревод текста в иллюстрациях


Код P1871

Короткое замыкание цепи электропитания клапана EDS на напряжение питания

Описание схемы

Клапан-регулятор давления (клапан EDS 3, 4, 5, 6) является высокоточным электронным регулятором давления, который управляет работой фрикционных муфт, тормозов и блокировочной муфтой.
Клапан понижает системное давление, которое затем подается на электромагнитные клапаны и клапаны регулировки давления. Это позволяет использовать менее мощные электромагнитные клапаны. На клапаны EDS должно подаваться постоянное давление.

Условия занесения кода неисправности

Действия при занесении кода неисправности

Условия очистки кода неисправности/выключения индикатора неисправности

Диагностическая информация

Код P1871 - Короткое замыкание цепи электропитания клапана EDS на напряжение питания

ШагОперацияЗначенияДаНет
1
Выполнить проверку системы бортовой диагностики.
Проверка завершена?
-
Перейти к Шагу 2
Перейти к пункту "Проверка системы бортовой диагностики"
2
  1. Подключить диагностический прибор.
  2. Включить зажигание при выключенном двигателе.
  3. Запустить двигатель и разогреть его на холостом ходу.
  4. Перевести рычаг переключения передач в положение парковки и включить стояночный тормоз.
  5. По диагностическому прибору проверить параметр "EDS 3,4,5,6's input ampere and output ampere" ("Входная и выходная сила тока EDS 3,4,5,6").
Измеренная сила тока находится в указанном диапазоне?
Сила тока EDS
(0-2 А)
Перейти к пункту "Диагностическая информация"
Перейти к Шагу 3
3
  1. Выключить зажигание.
  2. Разъединить электрический разъем жгута КПП и разъем контроллера КПП.
  3. Измерить напряжение на контакте 5 электрического разъема жгута КПП.
Напряжение находится в указанном диапазоне?
11-14В
Перейти к Шагу 4
Перейти к Шагу 5
4
Устранить замыкание цепи на напряжение питания.
Действие завершено?
-
Система исправна
-
5
  1. Снять масляный поддон.
  2. Разъединить электрический разъем жгута клапана EDS.
  3. Включить зажигание.
  4. Измерить напряжение на контакте 2 электрического разъема EDS3.
  5. Измерить напряжение на контакте 2 электрического разъема EDS4.
  6. Измерить напряжение на контакте 2 электрического разъема EDS5.
  7. Измерить напряжение на контакте 2 электрического разъема EDS6.
Напряжение находится в указанном диапазоне?
11-14В
Перейти к Шагу 6
Перейти к Шагу 7
6
Устранить замыкание цепей (линии подачи питания) на напряжение питания.
Действие завершено?
-
Система исправна
-
7
Заменить контроллер КПП.
Действие завершено?
-
Перейти к Шагу 8
-
8
  1. После окончания ремонта выбрать команду "clear info" ("очистить данные") на диагностическом приборе и провести дорожное испытание автомобиля.
  2. Просмотреть информацию о кодах ("DTC info").
Последнее испытание прошло неудачно или отображается текущий код?
-
Начать диагностику заново
Неисправность устранена. Закончить проверку по таблице.

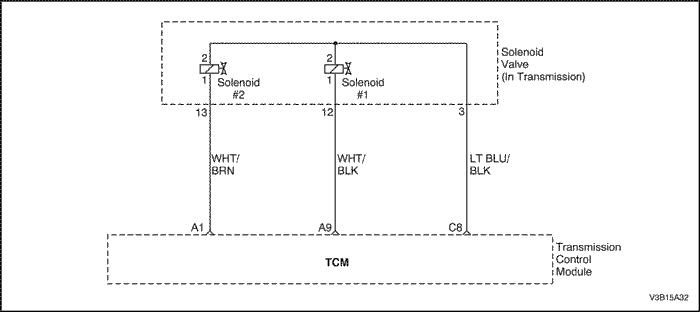
V3B15A32
Показать иллюстрациюПеревод текста в иллюстрациях


Код P1874

Короткое замыкание цепи питания электромагнитного клапана на напряжение питания

Описание схемы

Клапан-регулятор давления (клапан EDS 3, 4, 5, 6) является высокоточным электронным регулятором давления, который управляет работой фрикционных муфт, тормозов и блокировочной муфтой.
Клапан понижает системное давление, которое затем подается на электромагнитные клапаны и клапаны регулировки давления. Это позволяет использовать менее мощные электромагнитные клапаны. На клапаны EDS должно подаваться постоянное давление.

Условия занесения кода неисправности

Действия при занесении кода неисправности

Условия очистки кода неисправности/выключения индикатора неисправности

Диагностическая информация

Код P1874 - Короткое замыкание цепи питания электромагнитного клапана на напряжение питания

ШагОперацияЗначенияДаНет
1
Выполнить проверку системы бортовой диагностики.
Проверка завершена?
-
Перейти к Шагу 2
Перейти к пункту "Проверка системы бортовой диагностики"
2
  1. Подключить диагностический прибор.
  2. Включить зажигание при выключенном двигателе. Затем запустить двигатель и разогреть его на холостом ходу.
  3. Установить рычаг переключения передач в положение Р и включить стояночный тормоз.
  4. Проверить параметр "solenoid 1, 2" ("Электромагнитный клапан 1, 2") на диагностическом приборе.
Электромагнитный клапан включен?
-
Перейти к пункту "Диагностическая информация"
Перейти к Шагу 3
3
  1. Выключить зажигание.
  2. Разъединить электрический разъем жгута КПП и разъем контроллера КПП.
  3. Измерить напряжение на контакте 3 электрического разъема жгута КПП.
Напряжение находится в указанном диапазоне?
11-14В
Перейти к Шагу 4
Перейти к Шагу 5
4
Устранить замыкание цепи на напряжение питания.
Действие завершено?
-
Система исправна
-
5
  1. Снять масляный поддон.
  2. Разъединить электрический разъем жгута электромагнитного клапана 1, 2.
  3. Включить зажигание.
  4. Измерить напряжение на контакте 2 электромагнитного клапана 1.
  5. Измерить напряжение на контакте 2 электромагнитного клапана 2.
Напряжение находится в указанном диапазоне?
11-14В
Перейти к Шагу 6
Перейти к Шагу 7
6
Устранить замыкание цепей (линии подачи питания) на напряжение питания.
Действие завершено?
-
Система исправна
-
7
Заменить контроллер КПП.
Действие завершено?
-
Перейти к Шагу 8
-
8
  1. После окончания ремонта выбрать команду "clear info" ("очистить данные") на диагностическом приборе и провести дорожное испытание автомобиля.
  2. Просмотреть информацию о кодах ("DTC info").
Последнее испытание прошло неудачно или отображается текущий код?
-
Начать диагностику заново
Неисправность устранена. Закончить проверку по таблице.
Диапазон
Парковка/
Нейтраль
Задняя
D
3
2
1
Передача
N
R
1-я
2-я
3-я
4-я
1-я
2-я
3-я
1-я
2-я
1-я
Электромагнитный клапан 1
Вкл.
Вкл./
Выкл.
Вкл./
Выкл.
Вкл./
Выкл.
Вкл./
Выкл.
Вкл./
Выкл.
Вкл./
Выкл.
Вкл./
Выкл.
Вкл./
Выкл.
Вкл./
Выкл.
Вкл./
Выкл.
Вкл./
Выкл.
Электромагнитный клапан 2
Вкл.
Вкл.
Вкл.
Выкл.
Выкл.
Выкл.
Вкл.
Выкл.
Выкл.
Вкл.
Выкл.
Вкл.
Электромагнитный клапан-регулятор давления 3 (EDS 3)
Выкл.
Выкл.
Выкл.
Вкл.
Вкл./
Выкл.
Вкл./
Выкл.
Выкл.
Вкл.
Вкл./
Выкл.
Выкл.
Вкл.
Выкл.
Электромагнитный клапан-регулятор давления 4 (EDS 4)
Вкл.
Выкл.
Вкл.
Вкл.
Вкл.
Выкл.
Вкл.
Вкл.
Вкл.
Вкл.
Вкл.
Вкл.
Электромагнитный клапан-регулятор давления 5 (EDS 5)
Выкл.
Выкл.
Вкл.
Вкл.
Выкл.
Выкл.
Вкл.
Вкл.
Выкл.
Вкл.
Вкл.
Вкл.
Электромагнитный клапан-регулятор давления 6 (EDS 6)
Вкл.
Выкл.
Вкл.
Вкл.
Вкл.
Выкл.
Вкл.
Вкл.
Вкл.
Вкл.
Вкл.
Вкл.
Тормоз B
A
A
A
.
A
.
A
.
A
A
.
A
Тормоз C
.
.
.
.
.
Н
.
.
.
.
.
.
Тормоз D
.
Н
.
.
.
.
.
.
.
.
.
.
Муфта E
.
.
.
A
A
A
.
A
A
.
A
.
Тормоз F
.
.
Н
Н
.
.
Н
Н
.
Н
Н
Н
Блокировочная муфта
.
.
.
.
.
A
.
.
.
.
.
.
А = включено
Н = выключено
Вкл. = электромагнитный клапан под напряжением.
Выкл. = электромагнитный клапан обесточен.
** = Ручное переключение со второй передачи на третью возможно только на скорости более примерно 100 км/ч (62 миль/ч).
*** = Ручное переключение с первой передачи на вторую возможно только на скорости более примерно 60 км/ч (37 миль/ч).

Примечание: Для безопасности также возможно переключение с первой передачи на третью на высокой скорости.

Код P1881

Неисправность переключения передач 2-1

Описание схемы

Особенностью автоматической коробки передач 4НР 16 является то, что в ее конструкции не предусмотрена муфта свободного хода. Переключение передач происходит посредством частичного перекрытия моментов включения и выключения фрикционных муфт.
Преимущество такого переключения заключается в следующем:
- КПП более компактна и легче из-за отсутствия муфт свободного хода и меньшего количества элементов, участвующих в процессе переключения передач.
- Ниже потери на трение, т.е. более высокий КПД.
- Снижены пиковые нагрузки на элементы КПП и привода колес.
Однако переключение передач с частичным перекрытием моментов включения и выключения муфт требует высокопроизводительного аппаратного и программного обеспечения, а также точных сигналов от двигателя.

Условия занесения кода неисправности

Действия при занесении кода неисправности

Условия очистки кода неисправности/выключения индикатора неисправности

Диагностическая информация

Код P1881 - Неисправность переключения передач 2-1

ШагОперацияЗначенияДаНет
1
Выполнить проверку системы бортовой диагностики.
Проверка завершена?
-
Перейти к Шагу 2
Перейти к пункту "Проверка системы бортовой диагностики"
2
  1. Подключить диагностический прибор.
  2. Включить зажигание при выключенном двигателе. Затем запустить двигатель и разогреть его на холостом ходу.
  3. Проверить обороты холостого хода ("idle prm") и положение дроссельной заслонки ("TPS") по диагностическому прибору.
Неисправность обнаружена?
-
Перейти к "Информация о диагностике двигателя"
Перейти к Шагу 3
3
Проверить "Контроллер ЭСУД". См. Раздел 1F, Диагностика системы, Проверка системы бортовой диагностики.
Неисправность обнаружена?
-
Перейти к "Информация о диагностике двигателя"
Перейти к Шагу 4
4
  1. Выключить зажигание.
  2. Отсоединить электрический разъем контроллера КПП.
  3. Измерить напряжение между контактами B3 и B13 электрического разъема жгута КПП.
  4. Включить зажигание.
  5. Измерить напряжение между контактами C15 и B13 электрического разъема жгута КПП.
  6. Измерить напряжение между контактами C16 и B13 электрического разъема жгута КПП.
Напряжение находится в указанном диапазоне?
11-14В
Перейти к Шагу 5
Перейти к пункту "Высокое или низкое напряжение бортовой цепи"
5
Заменить контроллер КПП.
Действие завершено?
-
Перейти к Шагу 6
-
6
  1. После окончания ремонта выбрать команду "clear info" ("очистить данные") на диагностическом приборе и провести дорожное испытание автомобиля.
  2. Просмотреть информацию о кодах ("DTC info").
Последнее испытание прошло неудачно или отображается текущий код?
-
Заменить коробку передач в сборе
Неисправность устранена. Закончить проверку по таблице.
Диапазон
Парковка/
Нейтраль
Задняя
D
3
2
1
Передача
N
R
1-я
2-я
3-я
4-я
1-я
2-я
3-я
1-я
2-я
1-я
Электромагнитный клапан 1
Вкл.
Вкл./
Выкл.
Вкл./
Выкл.
Вкл./
Выкл.
Вкл./
Выкл.
Вкл./
Выкл.
Вкл./
Выкл.
Вкл./
Выкл.
Вкл./
Выкл.
Вкл./
Выкл.
Вкл./
Выкл.
Вкл./
Выкл.
Электромагнитный клапан 2
Вкл.
Вкл.
Вкл.
Выкл.
Выкл.
Выкл.
Вкл.
Выкл.
Выкл.
Вкл.
Выкл.
Вкл.
Электромагнитный клапан-регулятор давления 3 (EDS 3)
Выкл.
Выкл.
Выкл.
Вкл.
Вкл./
Выкл.
Вкл./
Выкл.
Выкл.
Вкл.
Вкл./
Выкл.
Выкл.
Вкл.
Выкл.
Электромагнитный клапан-регулятор давления 4 (EDS 4)
Вкл.
Выкл.
Вкл.
Вкл.
Вкл.
Выкл.
Вкл.
Вкл.
Вкл.
Вкл.
Вкл.
Вкл.
Электромагнитный клапан-регулятор давления 5 (EDS 5)
Выкл.
Выкл.
Вкл.
Вкл.
Выкл.
Выкл.
Вкл.
Вкл.
Выкл.
Вкл.
Вкл.
Вкл.
Электромагнитный клапан-регулятор давления 6 (EDS 6)
Вкл.
Выкл.
Вкл.
Вкл.
Вкл.
Выкл.
Вкл.
Вкл.
Вкл.
Вкл.
Вкл.
Вкл.
Тормоз B
A
A
A
.
A
.
A
.
A
A
.
A
Тормоз C
.
.
.
.
.
Н
.
.
.
.
.
.
Тормоз D
.
Н
.
.
.
.
.
.
.
.
.
.
Муфта E
.
.
.
A
A
A
.
A
A
.
A
.
Тормоз F
.
.
Н
Н
.
.
Н
Н
.
Н
Н
Н
Блокировочная муфта
.
.
.
.
.
A
.
.
.
.
.
.
А = включено
Н = выключено
Вкл. = электромагнитный клапан под напряжением.
Выкл. = электромагнитный клапан обесточен.
** = Ручное переключение со второй передачи на третью возможно только на скорости более примерно 100 км/ч (62 миль/ч).
*** = Ручное переключение с первой передачи на вторую возможно только на скорости более примерно 60 км/ч (37 миль/ч).

Примечание: Для безопасности также возможно переключение с первой передачи на третью на высокой скорости.

Код P1883

Неисправность переключения передач 3-2

Описание схемы

Особенностью автоматической коробки передач 4НР 16 является то, что в ее конструкции не предусмотрена муфта свободного хода. Переключение передач происходит посредством частичного перекрытия моментов включения и выключения фрикционных муфт.
Преимущество такого переключения заключается в следующем:
- КПП более компактна и легче из-за отсутствия муфт свободного хода и меньшего количества элементов, участвующих в процессе переключения передач.
- Ниже потери на трение, т.е. более высокий КПД.
- Снижены пиковые нагрузки на элементы КПП и привода колес.
Однако переключение передач с частичным перекрытием моментов включения и выключения муфт требует высокопроизводительного аппаратного и программного обеспечения, а также точных сигналов от двигателя.

Условия занесения кода неисправности

Действия при занесении кода неисправности

Условия очистки кода неисправности/выключения индикатора неисправности

Диагностическая информация

Код P1883 - Неисправность переключения передач 3-2

ШагОперацияЗначенияДаНет
1
Выполнить проверку системы бортовой диагностики.
Проверка завершена?
-
Перейти к Шагу 2
Перейти к пункту "Проверка системы бортовой диагностики"
2
  1. Подключить диагностический прибор.
  2. Включить зажигание при выключенном двигателе. Затем запустить двигатель и разогреть его на холостом ходу.
  3. Проверить обороты холостого хода ("idle prm") и положение дроссельной заслонки ("TPS") по диагностическому прибору.
Неисправность обнаружена?
-
Перейти к "Информация о диагностике двигателя"
Перейти к Шагу 3
3
Проверить "Контроллер ЭСУД". См. Раздел 1F, Диагностика системы, Проверка системы бортовой диагностики.
Неисправность обнаружена?
-
Перейти к "Информация о диагностике двигателя"
Перейти к Шагу 4
4
  1. Выключить зажигание.
  2. Отсоединить электрический разъем контроллера КПП.
  3. Измерить напряжение между контактами B3 и B13 электрического разъема жгута КПП.
  4. Включить зажигание.
  5. Измерить напряжение между контактами C15 и B13 электрического разъема жгута КПП.
  6. Измерить напряжение между контактами C16 и B13 электрического разъема жгута КПП.
Напряжение находится в указанном диапазоне?
11-14В
Перейти к Шагу 5
Перейти к пункту "Высокое или низкое напряжение бортовой цепи"
5
Заменить контроллер КПП.
Действие завершено?
-
Перейти к Шагу 6
-
6
  1. После окончания ремонта выбрать команду "clear info" ("очистить данные") на диагностическом приборе и провести дорожное испытание автомобиля.
  2. Просмотреть информацию о кодах ("DTC info").
Последнее испытание прошло неудачно или отображается текущий код?
-
Заменить коробку передач в сборе
Неисправность устранена. Закончить проверку по таблице.
Диапазон
Парковка/
Нейтраль
Задняя
D
3
2
1
Передача
N
R
1-я
2-я
3-я
4-я
1-я
2-я
3-я
1-я
2-я
1-я
Электромагнитный клапан 1
Вкл.
Вкл./
Выкл.
Вкл./
Выкл.
Вкл./
Выкл.
Вкл./
Выкл.
Вкл./
Выкл.
Вкл./
Выкл.
Вкл./
Выкл.
Вкл./
Выкл.
Вкл./
Выкл.
Вкл./
Выкл.
Вкл./
Выкл.
Электромагнитный клапан 2
Вкл.
Вкл.
Вкл.
Выкл.
Выкл.
Выкл.
Вкл.
Выкл.
Выкл.
Вкл.
Выкл.
Вкл.
Электромагнитный клапан-регулятор давления 3 (EDS 3)
Выкл.
Выкл.
Выкл.
Вкл.
Вкл./
Выкл.
Вкл./
Выкл.
Выкл.
Вкл.
Вкл./
Выкл.
Выкл.
Вкл.
Выкл.
Электромагнитный клапан-регулятор давления 4 (EDS 4)
Вкл.
Выкл.
Вкл.
Вкл.
Вкл.
Выкл.
Вкл.
Вкл.
Вкл.
Вкл.
Вкл.
Вкл.
Электромагнитный клапан-регулятор давления 5 (EDS 5)
Выкл.
Выкл.
Вкл.
Вкл.
Выкл.
Выкл.
Вкл.
Вкл.
Выкл.
Вкл.
Вкл.
Вкл.
Электромагнитный клапан-регулятор давления 6 (EDS 6)
Вкл.
Выкл.
Вкл.
Вкл.
Вкл.
Выкл.
Вкл.
Вкл.
Вкл.
Вкл.
Вкл.
Вкл.
Тормоз B
A
A
A
.
A
.
A
.
A
A
.
A
Тормоз C
.
.
.
.
.
Н
.
.
.
.
.
.
Тормоз D
.
Н
.
.
.
.
.
.
.
.
.
.
Муфта E
.
.
.
A
A
A
.
A
A
.
A
.
Тормоз F
.
.
Н
Н
.
.
Н
Н
.
Н
Н
Н
Блокировочная муфта
.
.
.
.
.
A
.
.
.
.
.
.
А = включено
Н = выключено
Вкл. = электромагнитный клапан под напряжением.
Выкл. = электромагнитный клапан обесточен.
** = Ручное переключение со второй передачи на третью возможно только на скорости более примерно 100 км/ч (62 миль/ч).
*** = Ручное переключение с первой передачи на вторую возможно только на скорости более примерно 60 км/ч (37 миль/ч).

Примечание: Для безопасности также возможно переключение с первой передачи на третью на высокой скорости.

Код P1884

Неисправность переключения передач 4-3

Описание схемы

Особенностью автоматической коробки передач 4НР 16 является то, что в ее конструкции не предусмотрена муфта свободного хода. Переключение передач происходит посредством частичного перекрытия моментов включения и выключения фрикционных муфт.
Преимущество такого переключения заключается в следующем:
- КПП более компактна и легче из-за отсутствия муфт свободного хода и меньшего количества элементов, участвующих в процессе переключения передач.
- Ниже потери на трение, т.е. более высокий КПД.
- Снижены пиковые нагрузки на элементы КПП и привода колес.
Однако переключение передач с частичным перекрытием моментов включения и выключения муфт требует высокопроизводительного аппаратного и программного обеспечения, а также точных сигналов от двигателя.

Условия занесения кода неисправности

Действия при занесении кода неисправности

Условия очистки кода неисправности/выключения индикатора неисправности

Диагностическая информация

Код P1884 - Неисправность переключения передач 4-3

ШагОперацияЗначенияДаНет
1
Выполнить проверку системы бортовой диагностики.
Проверка завершена?
-
Перейти к Шагу 2
Перейти к пункту "Проверка системы бортовой диагностики"
2
  1. Подключить диагностический прибор.
  2. Включить зажигание при выключенном двигателе. Затем запустить двигатель и разогреть его на холостом ходу.
  3. Проверить обороты холостого хода ("idle prm") и положение дроссельной заслонки ("TPS") по диагностическому прибору.
Неисправность обнаружена?
-
Перейти к "Информация о диагностике двигателя"
Перейти к Шагу 3
3
Проверить "Контроллер ЭСУД". См. Раздел 1F, Диагностика системы, Проверка системы бортовой диагностики.
Неисправность обнаружена?
-
Перейти к "Информация о диагностике двигателя"
Перейти к Шагу 4
4
  1. Выключить зажигание.
  2. Отсоединить электрический разъем контроллера КПП.
  3. Измерить напряжение между контактами B3 и B13 электрического разъема жгута КПП.
  4. Включить зажигание.
  5. Измерить напряжение между контактами C15 и B13 электрического разъема жгута КПП.
  6. Измерить напряжение между контактами C16 и B13 электрического разъема жгута КПП.
Напряжение находится в указанном диапазоне?
11-14В
Перейти к Шагу 5
Перейти к пункту "Высокое или низкое напряжение бортовой цепи"
5
Заменить контроллер КПП.
Действие завершено?
-
Перейти к Шагу 6
-
6
  1. После окончания ремонта выбрать команду "clear info" ("очистить данные") на диагностическом приборе и провести дорожное испытание автомобиля.
  2. Просмотреть информацию о кодах ("DTC info").
Последнее испытание прошло неудачно или отображается текущий код?
-
Заменить коробку передач в сборе
Неисправность устранена. Закончить проверку по таблице.
Диапазон
Парковка/
Нейтраль
Задняя
D
3
2
1
Передача
N
R
1-я
2-я
3-я
4-я
1-я
2-я
3-я
1-я
2-я
1-я
Электромагнитный клапан 1
Вкл.
Вкл./
Выкл.
Вкл./
Выкл.
Вкл./
Выкл.
Вкл./
Выкл.
Вкл./
Выкл.
Вкл./
Выкл.
Вкл./
Выкл.
Вкл./
Выкл.
Вкл./
Выкл.
Вкл./
Выкл.
Вкл./
Выкл.
Электромагнитный клапан 2
Вкл.
Вкл.
Вкл.
Выкл.
Выкл.
Выкл.
Вкл.
Выкл.
Выкл.
Вкл.
Выкл.
Вкл.
Электромагнитный клапан-регулятор давления 3 (EDS 3)
Выкл.
Выкл.
Выкл.
Вкл.
Вкл./
Выкл.
Вкл./
Выкл.
Выкл.
Вкл.
Вкл./
Выкл.
Выкл.
Вкл.
Выкл.
Электромагнитный клапан-регулятор давления 4 (EDS 4)
Вкл.
Выкл.
Вкл.
Вкл.
Вкл.
Выкл.
Вкл.
Вкл.
Вкл.
Вкл.
Вкл.
Вкл.
Электромагнитный клапан-регулятор давления 5 (EDS 5)
Выкл.
Выкл.
Вкл.
Вкл.
Выкл.
Выкл.
Вкл.
Вкл.
Выкл.
Вкл.
Вкл.
Вкл.
Электромагнитный клапан-регулятор давления 6 (EDS 6)
Вкл.
Выкл.
Вкл.
Вкл.
Вкл.
Выкл.
Вкл.
Вкл.
Вкл.
Вкл.
Вкл.
Вкл.
Тормоз B
A
A
A
.
A
.
A
.
A
A
.
A
Тормоз C
.
.
.
.
.
Н
.
.
.
.
.
.
Тормоз D
.
Н
.
.
.
.
.
.
.
.
.
.
Муфта E
.
.
.
A
A
A
.
A
A
.
A
.
Тормоз F
.
.
Н
Н
.
.
Н
Н
.
Н
Н
Н
Блокировочная муфта
.
.
.
.
.
A
.
.
.
.
.
.
А = включено
Н = выключено
Вкл. = электромагнитный клапан под напряжением.
Выкл. = электромагнитный клапан обесточен.
** = Ручное переключение со второй передачи на третью возможно только на скорости более примерно 100 км/ч (62 миль/ч).
*** = Ручное переключение с первой передачи на вторую возможно только на скорости более примерно 60 км/ч (37 миль/ч).

Примечание: Для безопасности также возможно переключение с первой передачи на третью на высокой скорости.

Код P1885

Неисправность переключения передач 3-1

Описание схемы

Особенностью автоматической коробки передач 4НР 16 является то, что в ее конструкции не предусмотрена муфта свободного хода. Переключение передач происходит посредством частичного перекрытия моментов включения и выключения фрикционных муфт.
Преимущество такого переключения заключается в следующем:
- КПП более компактна и легче из-за отсутствия муфт свободного хода и меньшего количества элементов, участвующих в процессе переключения передач.
- Ниже потери на трение, т.е. более высокий КПД.
- Снижены пиковые нагрузки на элементы КПП и привода колес.
Однако переключение передач с частичным перекрытием моментов включения и выключения муфт требует высокопроизводительного аппаратного и программного обеспечения, а также точных сигналов от двигателя.

Условия занесения кода неисправности

Действия при занесении кода неисправности

Условия очистки кода неисправности/выключения индикатора неисправности

Диагностическая информация

Код P1885 - Неисправность переключения передач 3-1

ШагОперацияЗначенияДаНет
1
Выполнить проверку системы бортовой диагностики.
Проверка завершена?
-
Перейти к Шагу 2
Перейти к пункту "Проверка системы бортовой диагностики"
2
  1. Подключить диагностический прибор.
  2. Включить зажигание при выключенном двигателе. Затем запустить двигатель и разогреть его на холостом ходу.
  3. Проверить обороты холостого хода ("idle prm") и положение дроссельной заслонки ("TPS") по диагностическому прибору.
Неисправность обнаружена?
-
Перейти к "Информация о диагностике двигателя"
Перейти к Шагу 3
3
Проверить "Контроллер ЭСУД". См. Раздел 1F, Диагностика системы, Проверка системы бортовой диагностики.
Неисправность обнаружена?
-
Перейти к "Информация о диагностике двигателя"
Перейти к Шагу 4
4
  1. Выключить зажигание.
  2. Отсоединить электрический разъем контроллера КПП.
  3. Измерить напряжение между контактами B3 и B13 электрического разъема жгута КПП.
  4. Включить зажигание.
  5. Измерить напряжение между контактами C15 и B13 электрического разъема жгута КПП.
  6. Измерить напряжение между контактами C16 и B13 электрического разъема жгута КПП.
Напряжение находится в указанном диапазоне?
11-14В
Перейти к Шагу 5
Перейти к пункту "Высокое или низкое напряжение бортовой цепи"
5
Заменить контроллер КПП.
Действие завершено?
-
Перейти к Шагу 6
-
6
  1. После окончания ремонта выбрать команду "clear info" ("очистить данные") на диагностическом приборе и провести дорожное испытание автомобиля.
  2. Просмотреть информацию о кодах ("DTC info").
Последнее испытание прошло неудачно или отображается текущий код?
-
Заменить коробку передач в сборе
Неисправность устранена. Закончить проверку по таблице.
Диапазон
Парковка/
Нейтраль
Задняя
D
3
2
1
Передача
N
R
1-я
2-я
3-я
4-я
1-я
2-я
3-я
1-я
2-я
1-я
Электромагнитный клапан 1
Вкл.
Вкл./
Выкл.
Вкл./
Выкл.
Вкл./
Выкл.
Вкл./
Выкл.
Вкл./
Выкл.
Вкл./
Выкл.
Вкл./
Выкл.
Вкл./
Выкл.
Вкл./
Выкл.
Вкл./
Выкл.
Вкл./
Выкл.
Электромагнитный клапан 2
Вкл.
Вкл.
Вкл.
Выкл.
Выкл.
Выкл.
Вкл.
Выкл.
Выкл.
Вкл.
Выкл.
Вкл.
Электромагнитный клапан-регулятор давления 3 (EDS 3)
Выкл.
Выкл.
Выкл.
Вкл.
Вкл./
Выкл.
Вкл./
Выкл.
Выкл.
Вкл.
Вкл./
Выкл.
Выкл.
Вкл.
Выкл.
Электромагнитный клапан-регулятор давления 4 (EDS 4)
Вкл.
Выкл.
Вкл.
Вкл.
Вкл.
Выкл.
Вкл.
Вкл.
Вкл.
Вкл.
Вкл.
Вкл.
Электромагнитный клапан-регулятор давления 5 (EDS 5)
Выкл.
Выкл.
Вкл.
Вкл.
Выкл.
Выкл.
Вкл.
Вкл.
Выкл.
Вкл.
Вкл.
Вкл.
Электромагнитный клапан-регулятор давления 6 (EDS 6)
Вкл.
Выкл.
Вкл.
Вкл.
Вкл.
Выкл.
Вкл.
Вкл.
Вкл.
Вкл.
Вкл.
Вкл.
Тормоз B
A
A
A
.
A
.
A
.
A
A
.
A
Тормоз C
.
.
.
.
.
Н
.
.
.
.
.
.
Тормоз D
.
Н
.
.
.
.
.
.
.
.
.
.
Муфта E
.
.
.
A
A
A
.
A
A
.
A
.
Тормоз F
.
.
Н
Н
.
.
Н
Н
.
Н
Н
Н
Блокировочная муфта
.
.
.
.
.
A
.
.
.
.
.
.
А = включено
Н = выключено
Вкл. = электромагнитный клапан под напряжением.
Выкл. = электромагнитный клапан обесточен.
** = Ручное переключение со второй передачи на третью возможно только на скорости более примерно 100 км/ч (62 миль/ч).
*** = Ручное переключение с первой передачи на вторую возможно только на скорости более примерно 60 км/ч (37 миль/ч).

Примечание: Для безопасности также возможно переключение с первой передачи на третью на высокой скорости.

Код P1886

Неисправность переключения передач 4-2

Описание схемы

Особенностью автоматической коробки передач 4НР 16 является то, что в ее конструкции не предусмотрена муфта свободного хода. Переключение передач происходит посредством частичного перекрытия моментов включения и выключения фрикционных муфт.
Преимущество такого переключения заключается в следующем:
- КПП более компактна и легче из-за отсутствия муфт свободного хода и меньшего количества элементов, участвующих в процессе переключения передач.
- Ниже потери на трение, т.е. более высокий КПД.
- Снижены пиковые нагрузки на элементы КПП и привода колес.
Однако переключение передач с частичным перекрытием моментов включения и выключения муфт требует высокопроизводительного аппаратного и программного обеспечения, а также точных сигналов от двигателя.

Условия занесения кода неисправности

Действия при занесении кода неисправности

Условия очистки кода неисправности/выключения индикатора неисправности

Диагностическая информация

Код P1886 - Неисправность переключения передач 4-2

ШагОперацияЗначенияДаНет
1
Выполнить проверку системы бортовой диагностики.
Проверка завершена?
-
Перейти к Шагу 2
Перейти к пункту "Проверка системы бортовой диагностики"
2
  1. Подключить диагностический прибор.
  2. Включить зажигание при выключенном двигателе. Затем запустить двигатель и разогреть его на холостом ходу.
  3. Проверить обороты холостого хода ("idle prm") и положение дроссельной заслонки ("TPS") по диагностическому прибору.
Неисправность обнаружена?
-
Перейти к "Информация о диагностике двигателя"
Перейти к Шагу 3
3
Проверить "Контроллер ЭСУД". См. Раздел 1F, Диагностика системы, Проверка системы бортовой диагностики.
Неисправность обнаружена?
-
Перейти к "Информация о диагностике двигателя"
Перейти к Шагу 4
4
  1. Выключить зажигание.
  2. Отсоединить электрический разъем контроллера КПП.
  3. Измерить напряжение между контактами B3 и B13 электрического разъема жгута КПП.
  4. Включить зажигание.
  5. Измерить напряжение между контактами C15 и B13 электрического разъема жгута КПП.
  6. Измерить напряжение между контактами C16 и B13 электрического разъема жгута КПП.
Напряжение находится в указанном диапазоне?
11-14В
Перейти к Шагу 5
Перейти к пункту "Высокое или низкое напряжение бортовой цепи"
5
Заменить контроллер КПП.
Действие завершено?
-
Перейти к Шагу 6
-
6
  1. После окончания ремонта выбрать команду "clear info" ("очистить данные") на диагностическом приборе и провести дорожное испытание автомобиля.
  2. Просмотреть информацию о кодах ("DTC info").
Последнее испытание прошло неудачно или отображается текущий код?
-
Заменить коробку передач в сборе
Неисправность устранена. Закончить проверку по таблице.


На предыдущую страницуНа следующую страницу
Главная страница сайта