Диагностический код неисправности (DTC) B1367
Слишком низкое сопротивление натяжителя ремня безопасности пассажира
Описание схемы
При установке ключа зажигания в положение ON модуль датчиков и диагностики (SDM) выполняет начальную проверку для выявления существенных неполадок внутри самого SDM.
После этих проверок модуль измеряет напряжения в цепях зажигания и срабатывания подушек безопасности, проверяя, что они находятся в номинальных диапазонах. SDM контролирует напряжения на проводах нижнего уровня подушек водителя и пассажира, выявляя замыкание цепей срабатывания на массу или напряжение питания.
Модуль датчиков и диагностики (SDM) проверяет проводку к преднатяжителю ремня безопасности пассажира, пропуская ничтожно малый ток через внутреннюю цепь и проверяя сопротивление.
Диагностический код неисправности DTC B1367 записывается, когда
- Сопротивление цепи срабатывания натяжителя ремня безопасности пассажира превышает 3,54 Ом.
DTC B1367 - Слишком низкое сопротивление натяжителя ремня безопасности пассажира
Внимание! Модуль датчиков и диагностики (SDM) может сохранять достаточное напряжение для приведения в действие подушек безопасности и натяжителей в течение 1 минуты после выключения зажигания и удаления предохранителя. Если подушки безопасности и натяжители не отсоединены, не начинайте обслуживание, пока не пройдет одна минута после отключения питания от SDM. Несоблюдение этого требования может привести к травмам.
Внимание! В процессе обслуживания обращайтесь с модулем датчиков и диагностики (SDM) очень осторожно. Не ударяйте и не встряхивайте SDM. Никогда не подключайте питание к системе надувных подушек безопасности (SIR), если SDM не соединен жестко с автомобилем. Чтобы система надувных подушек безопасности (SIR) работала правильно, все болты крепления модуля датчиков и диагностики SDM должны быть тщательно затянуты, а стрелка на SDM должна быть направлена к передней части автомобиля. При недостаточно жестком креплении модуля SDM к автомобилю включенный модуль может сработать, что приведет к неожиданному выпуску подушек безопасности и может повлечь травму.
| Шаг | Операция | Значения | Да | Нет |
| 1 | - Удостоверьтесь, что ключ зажигания находится в положении OFF.
- Подождите минуту, чтобы разрядить заряд блока питания модуля датчиков и диагностики.
| - | Перейдите на Шаг 2 | - |
| 2 | Осмотрите разъем и проводку натяжителя ремня безопасности пассажира. Разъем отключен? | - | Подключите разъем и Перейдите на Шаг 1 | Перейдите на Шаг 3 |
| 3 | - Удостоверьтесь, что ключ зажигания находится в положении OFF.
- Отключите разъем натяжителя ремня безопасности пассажира.
- Отключите разъем проводки модуля датчиков и диагностики (SDM).
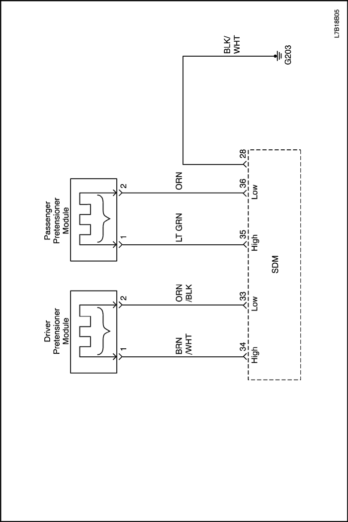
- Проверьте сопротивление между выводами 35, 36 модуля SDM и выводами 1, 2 натяжителя ремня безопасности пассажира.
Сопротивление близко к 0 (нулю)? | ≈ 0 Ом | Перейдите на Шаг 4 | Замените проводку надувной подушки безопасности. |
| 4 | - Замените модуль датчиков и диагностики.
- Удостоверьтесь, что ключ зажигания находится в положении ON.
- Сотрите диагностический код неисправности с помощью диагностического прибора.
- Выполните проверку диагностической системы системы надувных подушек безопасности (SIR).
Диагностический код неисправности удален? | - | Система в норме. | Замените натяжитель ремня безопасности пассажира. |
Диагностический код неисправности (DTC) B1368
Слишком низкое сопротивление натяжителя ремня безопасности пассажира
Описание схемы
При установке ключа зажигания в положение ON модуль датчиков и диагностики (SDM) выполняет начальную проверку для выявления существенных неполадок внутри самого SDM.
После этих проверок модуль измеряет напряжения в цепях зажигания и срабатывания подушек безопасности, проверяя, что они находятся в номинальных диапазонах. SDM контролирует напряжения на проводах нижнего уровня подушек водителя и пассажира, выявляя замыкание цепей срабатывания на массу или напряжение питания.
Модуль датчиков и диагностики (SDM) проверяет проводку к преднатяжителю ремня безопасности пассажира, пропуская ничтожно малый ток через внутреннюю цепь и проверяя сопротивление.
Диагностический код неисправности DTC B1368 записывается, когда
- Сопротивление цепи срабатывания натяжителя ремня безопасности пассажира менее 1,77 Ом.
- Повреждена закорачивающая перемычка, модуль датчиков и диагностики (SDM) необходимо заменить.
DTC B1368 - Слишком низкое сопротивление натяжителя ремня безопасности пассажира
Внимание! Модуль датчиков и диагностики (SDM) может сохранять достаточное напряжение для приведения в действие подушек безопасности и натяжителей в течение 1 минуты после выключения зажигания и удаления предохранителя. Если подушки безопасности и натяжители не отсоединены, не начинайте обслуживание, пока не пройдет одна минута после отключения питания от SDM. Несоблюдение этого требования может привести к травмам.
Внимание! В процессе обслуживания обращайтесь с модулем датчиков и диагностики (SDM) очень осторожно. Не ударяйте и не встряхивайте SDM. Никогда не подключайте питание к системе надувных подушек безопасности (SIR), если SDM не соединен жестко с автомобилем. Чтобы система надувных подушек безопасности (SIR) работала правильно, все болты крепления модуля датчиков и диагностики SDM должны быть тщательно затянуты, а стрелка на SDM должна быть направлена к передней части автомобиля. При недостаточно жестком креплении модуля SDM к автомобилю включенный модуль может сработать, что приведет к неожиданному выпуску подушек безопасности и может повлечь травму.
| Шаг | Операция | Значения | Да | Нет |
| 1 | - Удостоверьтесь, что ключ зажигания находится в положении OFF.
- Подождите минуту, чтобы разрядить заряд блока питания модуля датчиков и диагностики.
| - | Перейдите на Шаг 1 | - |
| 2 | Осмотрите разъем и проводку натяжителя ремня безопасности пассажира. Проводка повреждена? | - | Замените проводку надувной подушки безопасности. | Перейдите на Шаг 3 |
| 3 | - Удостоверьтесь, что ключ зажигания находится в положении OFF.
- Отключите разъем натяжителя ремня безопасности пассажира.
- Отключите разъем проводки модуля датчиков и диагностики (SDM).
- Проверьте сопротивление между выводами 1 и 2 натяжителя ремня безопасности пассажира.
Сопротивление равно ∞? | ∞ | Перейдите на Шаг 4 | Замените проводку надувной подушки безопасности. |
| 4 | - Замените модуль датчиков и диагностики.
- Удостоверьтесь, что ключ зажигания находится в положении ON.
- Сотрите диагностический код неисправности с помощью диагностического прибора.
- Выполните проверку диагностической системы системы надувных подушек безопасности (SIR).
Диагностический код неисправности удален? | - | Система в норме. | Замените натяжитель ремня безопасности пассажира. |
Диагностический код неисправности (DTC) B1369
Замыкание натяжителя ремня безопасности пассажира на массу
Описание схемы
При установке ключа зажигания в положение ON модуль датчиков и диагностики (SDM) выполняет начальную проверку для выявления существенных неполадок внутри самого SDM.
После этих проверок модуль измеряет напряжения в цепях зажигания и срабатывания подушек безопасности, проверяя, что они находятся в номинальных диапазонах. SDM контролирует напряжения на проводах нижнего уровня подушек водителя и пассажира, выявляя замыкание цепей срабатывания на массу или напряжение питания.
Модуль датчиков и диагностики (SDM) проверяет проводку к преднатяжителю ремня безопасности пассажира, пропуская ничтожно малый ток через внутреннюю цепь и проверяя сопротивление.
Диагностический код неисправности DTC B1369 записывается, когда
- Провод верхнего уровня проводки натяжителя ремня безопасности пассажира закорочен на массу.
- Провод нижнего уровня проводки натяжителя ремня безопасности пассажира закорочен на массу.
DTC B1369 - Замыкание натяжителя ремня безопасности пассажира на массу
Внимание! Модуль датчиков и диагностики (SDM) может сохранять достаточное напряжение для приведения в действие подушек безопасности и натяжителей в течение 1 минуты после выключения зажигания и удаления предохранителя. Если подушки безопасности и натяжители не отсоединены, не начинайте обслуживание, пока не пройдет одна минута после отключения питания от SDM. Несоблюдение этого требования может привести к травмам.
Внимание! В процессе обслуживания обращайтесь с модулем датчиков и диагностики (SDM) очень осторожно. Не ударяйте и не встряхивайте SDM. Никогда не подключайте питание к системе надувных подушек безопасности (SIR), если SDM не соединен жестко с автомобилем. Чтобы система надувных подушек безопасности (SIR) работала правильно, все болты крепления модуля датчиков и диагностики SDM должны быть тщательно затянуты, а стрелка на SDM должна быть направлена к передней части автомобиля. При недостаточно жестком креплении модуля SDM к автомобилю включенный модуль может сработать, что приведет к неожиданному выпуску подушек безопасности и может повлечь травму.
| Шаг | Операция | Значения | Да | Нет |
| 1 | - Удостоверьтесь, что ключ зажигания находится в положении OFF.
- Подождите минуту, чтобы разрядить заряд блока питания модуля датчиков и диагностики.
| - | Перейдите на Шаг 2 | - |
| 2 | Осмотрите разъем и проводку натяжителя ремня безопасности пассажира. Проводка повреждена? | - | Замените проводку надувной подушки безопасности. | Перейдите на Шаг 3 |
| 3 | - Удостоверьтесь, что ключ зажигания находится в положении OFF.
- Отключите разъем натяжителя ремня безопасности пассажира.
- Отключите разъем проводки модуля датчиков и диагностики (SDM).
- Проверьте сопротивление между проводами верхнего и нижнего уровня преднатяжителя ремня безопасности пассажира и массой.
Сопротивление выше 10 кОм? | 10K Ом | Перейдите на Шаг 4 | Замените проводку надувной подушки безопасности. |
| 4 | - Замените модуль датчиков и диагностики.
- Удостоверьтесь, что ключ зажигания находится в положении ON.
- Сотрите диагностический код неисправности с помощью диагностического прибора.
- Выполните проверку диагностической системы системы надувных подушек безопасности (SIR).
Диагностический код неисправности удален? | - | Система в норме. | Замените натяжитель ремня безопасности пассажира. |
Диагностический код неисправности (DTC) B1370
Замыкание натяжителя ремня безопасности пассажира на напряжение аккумулятора
Описание схемы
При установке ключа зажигания в положение ON модуль датчиков и диагностики (SDM) выполняет начальную проверку для выявления существенных неполадок внутри самого SDM.
После этих проверок модуль измеряет напряжения в цепях зажигания и срабатывания подушек безопасности, проверяя, что они находятся в номинальных диапазонах. SDM контролирует напряжения на проводах нижнего уровня подушек водителя и пассажира, выявляя замыкание цепей срабатывания на массу или напряжение питания.
Модуль датчиков и диагностики (SDM) проверяет проводку к преднатяжителю ремня безопасности пассажира, пропуская ничтожно малый ток через внутреннюю цепь и проверяя сопротивление.
Диагностический код неисправности DTC B1370 записывается, когда
- Провод верхнего уровня проводки натяжителя ремня безопасности пассажира закорочен на провод аккумулятора.
- Провод нижнего уровня проводки натяжителя ремня безопасности пассажира закорочен на провод аккумулятора.
DTC B1370 - Замыкание натяжителя ремня безопасности пассажира на напряжение аккумулятора
Внимание! Модуль датчиков и диагностики (SDM) может сохранять достаточное напряжение для приведения в действие подушек безопасности и натяжителей в течение 1 минуты после выключения зажигания и удаления предохранителя. Если подушки безопасности и натяжители не отсоединены, не начинайте обслуживание, пока не пройдет одна минута после отключения питания от SDM. Несоблюдение этого требования может привести к травмам.
Внимание! В процессе обслуживания обращайтесь с модулем датчиков и диагностики (SDM) очень осторожно. Не ударяйте и не встряхивайте SDM. Никогда не подключайте питание к системе надувных подушек безопасности (SIR), если SDM не соединен жестко с автомобилем. Чтобы система надувных подушек безопасности (SIR) работала правильно, все болты крепления модуля датчиков и диагностики SDM должны быть тщательно затянуты, а стрелка на SDM должна быть направлена к передней части автомобиля. При недостаточно жестком креплении модуля SDM к автомобилю включенный модуль может сработать, что приведет к неожиданному выпуску подушек безопасности и может повлечь травму.
| Шаг | Операция | Значения | Да | Нет |
| 1 | - Удостоверьтесь, что ключ зажигания находится в положении OFF.
- Подождите минуту, чтобы разрядить заряд блока питания модуля датчиков и диагностики.
| - | Перейдите на Шаг 2 | - |
| 2 | Осмотрите разъем и проводку натяжителя ремня безопасности пассажира. Проводка повреждена? | - | Замените проводку надувной подушки безопасности. | Перейдите на Шаг 3 |
| 3 | - Удостоверьтесь, что ключ зажигания находится в положении OFF.
- Отключите разъем натяжителя ремня безопасности пассажира.
- Отключите разъем проводки модуля датчиков и диагностики (SDM).
- Проверьте сопротивление между проводами верхнего и нижнего уровня преднатяжителя ремня безопасности пассажира и аккумулятором.
Сопротивление выше 10 кОм? | 10K Ом | Перейдите на Шаг 4 | Замените проводку надувной подушки безопасности. |
| 4 | - Замените модуль датчиков и диагностики.
- Удостоверьтесь, что ключ зажигания находится в положении ON.
- Сотрите диагностический код неисправности с помощью диагностического прибора.
- Выполните проверку диагностической системы системы надувных подушек безопасности (SIR).
Диагностический код неисправности удален? | - | Система в норме. | Замените натяжитель ремня безопасности пассажира. |
Диагностический код неисправности (DTC) B1378
Слишком высокое сопротивление боковой подушки безопасности водителя
Описание схемы
При установке ключа зажигания в положение ON модуль датчиков и диагностики (SDM) выполняет начальную проверку для выявления существенных неполадок внутри самого SDM.
После этих проверок модуль измеряет напряжения в цепях зажигания и срабатывания подушек безопасности, проверяя, что они находятся в номинальных диапазонах. SDM контролирует напряжения на проводах нижнего уровня подушек водителя и пассажира, выявляя замыкание цепей срабатывания на массу или напряжение питания.
Модуль датчиков и диагностики (SDM) проверяет проводку к модулю боковой подушки безопасности водителя, пропуская ничтожно малый ток через внутреннюю цепь и проверяя ее сопротивление.
Диагностический код неисправности DTC B1378 записывается, когда
- Сопротивление цепи срабатывания боковой подушки безопасности водителя превышает 3,54 Ом.
DTC B1378 Слишком высокое сопротивление боковой подушки безопасности водителя
Внимание! Модуль датчиков и диагностики (SDM) может сохранять достаточное напряжение для приведения в действие подушек безопасности и натяжителей в течение 1 минуты после выключения зажигания и удаления предохранителя. Если подушки безопасности и натяжители не отсоединены, не начинайте обслуживание, пока не пройдет одна минута после отключения питания от SDM. Несоблюдение этого требования может привести к травмам.
Внимание! В процессе обслуживания обращайтесь с модулем датчиков и диагностики (SDM) очень осторожно. Не ударяйте и не встряхивайте SDM. Никогда не подключайте питание к системе надувных подушек безопасности (SIR), если SDM не соединен жестко с автомобилем. Чтобы система надувных подушек безопасности (SIR) работала правильно, все болты крепления модуля датчиков и диагностики SDM должны быть тщательно затянуты, а стрелка на SDM должна быть направлена к передней части автомобиля. При недостаточно жестком креплении модуля SDM к автомобилю включенный модуль может сработать, что приведет к неожиданному выпуску подушек безопасности и может повлечь травму.
| Шаг | Операция | Значения | Да | Нет |
| 1 | - Удостоверьтесь, что ключ зажигания находится в положении OFF.
Подождите минуту, чтобы разрядить заряд блока питания модуля датчиков и диагностики. | - | Перейдите на Шаг 2 | - |
| 2 | Осмотрите разъем и проводку боковой подушки безопасности водителя. Разъем отключен? | - | Подключите разъем и Перейдите на Шаг 1 | Перейдите на Шаг 3 |
| 3 | - Удостоверьтесь, что ключ зажигания находится в положении OFF.
- Отключите разъем модуля боковой подушки безопасности водителя.
- Отключите разъем проводки модуля датчиков и диагностики (SDM).
- Проверьте сопротивление между выводами 38, 37 модуля датчиков и диагностики (SDM) и выводами 1, 2 модуля боковой подушки безопасности водителя.
Сопротивление близко к 0 (нулю)? | ≈ 0 Ом | Перейдите на Шаг 4 | Замените проводку надувной подушки безопасности. |
| 4 | - Замените модуль датчиков и диагностики.
- Удостоверьтесь, что ключ зажигания находится в положении ON.
- Сотрите диагностический код неисправности с помощью диагностического прибора.
- Выполните проверку диагностической системы системы надувных подушек безопасности (SIR).
Диагностический код неисправности удален? | - | Система в норме. | Замените модуль боковой подушки безопасности водителя. |
Диагностический код неисправности (DTC) B1379
Слишком низкое сопротивление боковой подушки безопасности водителя
Описание схемы
При установке ключа зажигания в положение ON модуль датчиков и диагностики (SDM) выполняет начальную проверку для выявления существенных неполадок внутри самого SDM.
После этих проверок модуль измеряет напряжения в цепях зажигания и срабатывания подушек безопасности, проверяя, что они находятся в номинальных диапазонах. SDM контролирует напряжения на проводах нижнего уровня подушек водителя и пассажира, выявляя замыкание цепей срабатывания на массу или напряжение питания.
Модуль датчиков и диагностики (SDM) проверяет проводку к модулю боковой подушки безопасности водителя, пропуская ничтожно малый ток через внутреннюю цепь и проверяя ее сопротивление.
Диагностический код неисправности DTC B1379 записывается, когда
- Сопротивление цепи срабатывания боковой подушки безопасности водителя ниже 1,77 Ом.
- Повреждена закорачивающая перемычка, модуль датчиков и диагностики (SDM) необходимо заменить.
DTC B1379 - Слишком низкое сопротивление боковой подушки безопасности водителя
Внимание! Модуль датчиков и диагностики (SDM) может сохранять достаточное напряжение для приведения в действие подушек безопасности и натяжителей в течение 1 минуты после выключения зажигания и удаления предохранителя. Если подушки безопасности и натяжители не отсоединены, не начинайте обслуживание, пока не пройдет одна минута после отключения питания от SDM. Несоблюдение этого требования может привести к травмам.
Внимание! В процессе обслуживания обращайтесь с модулем датчиков и диагностики (SDM) очень осторожно. Не ударяйте и не встряхивайте SDM. Никогда не подключайте питание к системе надувных подушек безопасности (SIR), если SDM не соединен жестко с автомобилем. Чтобы система надувных подушек безопасности (SIR) работала правильно, все болты крепления модуля датчиков и диагностики SDM должны быть тщательно затянуты, а стрелка на SDM должна быть направлена к передней части автомобиля. При недостаточно жестком креплении модуля SDM к автомобилю включенный модуль может сработать, что приведет к неожиданному выпуску подушек безопасности и может повлечь травму.
| Шаг | Операция | Значения | Да | Нет |
| 1 | - Удостоверьтесь, что ключ зажигания находится в положении OFF.
- Подождите минуту, чтобы разрядить заряд блока питания модуля датчиков и диагностики.
| - | Перейдите на Шаг 2 | - |
| 2 | Осмотрите разъем и проводку боковой подушки безопасности водителя. Проводка надувной подушки безопасности повреждена? | - | Замените проводку надувной подушки безопасности. | Перейдите на Шаг 3 |
| 3 | - Удостоверьтесь, что ключ зажигания находится в положении OFF.
- Отключите разъем модуля боковой подушки безопасности водителя.
- Отключите разъем проводки модуля датчиков и диагностики (SDM).
- Проверьте сопротивление между выводами 2 и 1 модуля боковой подушки безопасности водителя.
Сопротивление равно ∞? | ∞ | Перейдите на Шаг 4 | Замените проводку надувной подушки безопасности. |
| 4 | - Замените модуль датчиков и диагностики.
- Удостоверьтесь, что ключ зажигания находится в положении ON.
- Сотрите диагностический код неисправности с помощью диагностического прибора.
- Выполните проверку диагностической системы системы надувных подушек безопасности (SIR).
Диагностический код неисправности удален? | - | Система в норме. | Замените модуль боковой подушки безопасности водителя. |
Диагностический код неисправности (DTC) B1380
Замыкание боковой подушки безопасности водителя на массу
Описание схемы
При установке ключа зажигания в положение ON модуль датчиков и диагностики (SDM) выполняет начальную проверку для выявления существенных неполадок внутри самого SDM.
После этих проверок модуль измеряет напряжения в цепях зажигания и срабатывания подушек безопасности, проверяя, что они находятся в номинальных диапазонах. SDM контролирует напряжения на проводах нижнего уровня подушек водителя и пассажира, выявляя замыкание цепей срабатывания на массу или напряжение питания.
Модуль датчиков и диагностики (SDM) проверяет проводку к модулю боковой подушки безопасности водителя, пропуская ничтожно малый ток через внутреннюю цепь и проверяя ее сопротивление.
Диагностический код неисправности DTC B1380 записывается, когда
- Провод верхнего уровня проводки боковой подушки безопасности водителя закорочен на массу.
- Провод нижнего уровня проводки боковой подушки безопасности водителя закорочен на массу.
DTC B1380 Замыкание боковой подушки безопасности водителя на массу
Внимание! Модуль датчиков и диагностики (SDM) может сохранять достаточное напряжение для приведения в действие подушек безопасности и натяжителей в течение 1 минуты после выключения зажигания и удаления предохранителя. Если подушки безопасности и натяжители не отсоединены, не начинайте обслуживание, пока не пройдет одна минута после отключения питания от SDM. Несоблюдение этого требования может привести к травмам.
Внимание! В процессе обслуживания обращайтесь с модулем датчиков и диагностики (SDM) очень осторожно. Не ударяйте и не встряхивайте SDM. Никогда не подключайте питание к системе надувных подушек безопасности (SIR), если SDM не соединен жестко с автомобилем. Чтобы система надувных подушек безопасности (SIR) работала правильно, все болты крепления модуля датчиков и диагностики SDM должны быть тщательно затянуты, а стрелка на SDM должна быть направлена к передней части автомобиля. При недостаточно жестком креплении модуля SDM к автомобилю включенный модуль может сработать, что приведет к неожиданному выпуску подушек безопасности и может повлечь травму.
| Шаг | Операция | Значения | Да | Нет |
| 1 | - Удостоверьтесь, что ключ зажигания находится в положении OFF.
- Подождите минуту, чтобы разрядить заряд блока питания модуля датчиков и диагностики (SDM).
| - | Перейдите на Шаг 2 | - |
| 2 | Осмотрите разъем и проводку боковой подушки безопасности водителя. Проводка повреждена? | - | Замените проводку надувной подушки безопасности. | Перейдите на Шаг 3 |
| 3 | - Удостоверьтесь, что ключ зажигания находится в положении OFF.
- Отключите разъем модуля боковой подушки безопасности водителя.
- Отключите разъем проводки модуля датчиков и диагностики (SDM).
- Проверьте сопротивление между выводами верхнего и нижнего уровня модуля боковой подушки безопасности водителя и массой.
Сопротивление выше 10 кОм? | 10K Ом | Перейдите на Шаг 4 | Замените проводку надувной подушки безопасности. |
| 4 | - Замените модуль датчиков и диагностики.
- Удостоверьтесь, что ключ зажигания находится в положении ON.
- Сотрите диагностический код неисправности с помощью диагностического прибора.
- Выполните проверку диагностической системы системы надувных подушек безопасности (SIR).
Диагностический код неисправности удален? | - | Система в норме. | Замените модуль боковой подушки безопасности водителя. |
Диагностический код неисправности (DTC) B1381
Замыкание боковой подушки безопасности водителя на напряжение аккумулятора
Описание схемы
При установке ключа зажигания в положение ON модуль датчиков и диагностики (SDM) выполняет начальную проверку для выявления существенных неполадок внутри самого SDM.
После этих проверок модуль измеряет напряжения в цепях зажигания и срабатывания подушек безопасности, проверяя, что они находятся в номинальных диапазонах. SDM контролирует напряжения на проводах нижнего уровня подушек водителя и пассажира, выявляя замыкание цепей срабатывания на массу или напряжение питания.
Модуль датчиков и диагностики (SDM) проверяет проводку к модулю боковой подушки безопасности водителя, пропуская ничтожно малый ток через внутреннюю цепь и проверяя ее сопротивление.
Диагностический код неисправности DTC B1381 записывается, когда
- Провод верхнего уровня проводки боковой подушки безопасности водителя закорочен на провод аккумулятора.
- Провод нижнего уровня проводки боковой подушки безопасности водителя закорочен на провод аккумулятора.
DTC B1381 - Замыкание боковой подушки безопасности водителя на напряжение аккумулятора
Внимание! Модуль датчиков и диагностики (SDM) может сохранять достаточное напряжение для приведения в действие подушек безопасности и натяжителей в течение 1 минуты после выключения зажигания и удаления предохранителя. Если подушки безопасности и натяжители не отсоединены, не начинайте обслуживание, пока не пройдет одна минута после отключения питания от SDM. Несоблюдение этого требования может привести к травмам.
Внимание! В процессе обслуживания обращайтесь с модулем датчиков и диагностики (SDM) очень осторожно. Не ударяйте и не встряхивайте SDM. Никогда не подключайте питание к системе надувных подушек безопасности (SIR), если SDM не соединен жестко с автомобилем. Чтобы система надувных подушек безопасности (SIR) работала правильно, все болты крепления модуля датчиков и диагностики SDM должны быть тщательно затянуты, а стрелка на SDM должна быть направлена к передней части автомобиля. При недостаточно жестком креплении модуля SDM к автомобилю включенный модуль может сработать, что приведет к неожиданному выпуску подушек безопасности и может повлечь травму.
| Шаг | Операция | Значения | Да | Нет |
| 1 | - Удостоверьтесь, что ключ зажигания находится в положении OFF.
- Подождите минуту, чтобы разрядить заряд блока питания модуля датчиков и диагностики (SDM).
| - | Перейдите на Шаг 2 | - |
| 2 | Осмотрите разъем и проводку боковой подушки безопасности водителя. Проводка повреждена? | - | Замените проводку надувной подушки безопасности. | Перейдите на Шаг 3 |
| 3 | - Удостоверьтесь, что ключ зажигания находится в положении OFF.
- Отключите разъем модуля боковой подушки безопасности водителя.
- Отключите разъем проводки модуля датчиков и диагностики (SDM).
- Проверьте сопротивление между модулем SDM и выводами верхнего и нижнего уровня модуля боковой подушки безопасности водителя и аккумулятором.
Сопротивление выше 10 кОм? | 10K Ом | Перейдите на Шаг 4 | Замените проводку надувной подушки безопасности. |
| 4 | - Замените модуль датчиков и диагностики.
- Удостоверьтесь, что ключ зажигания находится в положении ON.
- Сотрите диагностический код неисправности с помощью диагностического прибора.
- Выполните проверку диагностической системы системы надувных подушек безопасности (SIR).
Диагностический код неисправности удален? | - | Система в норме. | Замените модуль боковой подушки безопасности водителя. |
Диагностический код неисправности (DTC) B1382
Слишком высокое сопротивление боковой подушки безопасности пассажира
Описание схемы
При установке ключа зажигания в положение ON модуль датчиков и диагностики (SDM) выполняет начальную проверку для выявления существенных неполадок внутри самого SDM.
После этих проверок модуль измеряет напряжения в цепях зажигания и срабатывания подушек безопасности, проверяя, что они находятся в номинальных диапазонах. SDM контролирует напряжения на проводах нижнего уровня подушек водителя и пассажира, выявляя замыкание цепей срабатывания на массу или напряжение питания. Модуль датчиков и диагностики (SDM) проверяет проводку к модулю боковой подушки безопасности пассажира, пропуская ничтожно малый ток через внутреннюю цепь и проверяя ее сопротивление.
Диагностический код неисправности DTC B1382 записывается, когда
- Сопротивление цепи срабатывания боковой подушки безопасности пассажира превышает 3,54 Ом.
DTC B1382 - Слишком высокое сопротивление боковой подушки безопасности пассажира
Внимание! Модуль датчиков и диагностики (SDM) может сохранять достаточное напряжение для приведения в действие подушек безопасности и натяжителей в течение 1 минуты после выключения зажигания и удаления предохранителя. Если подушки безопасности и натяжители не отсоединены, не начинайте обслуживание, пока не пройдет одна минута после отключения питания от SDM. Несоблюдение этого требования может привести к травмам.
Внимание! В процессе обслуживания обращайтесь с модулем датчиков и диагностики (SDM) очень осторожно. Не ударяйте и не встряхивайте SDM. Никогда не подключайте питание к системе надувных подушек безопасности (SIR), если SDM не соединен жестко с автомобилем. Чтобы система надувных подушек безопасности (SIR) работала правильно, все болты крепления модуля датчиков и диагностики SDM должны быть тщательно затянуты, а стрелка на SDM должна быть направлена к передней части автомобиля. При недостаточно жестком креплении модуля SDM к автомобилю включенный модуль может сработать, что приведет к неожиданному выпуску подушек безопасности и может повлечь травму.
| Шаг | Операция | Значения | Да | Нет |
| 1 | - Удостоверьтесь, что ключ зажигания находится в положении OFF.
- Подождите минуту, чтобы разрядить заряд блока питания модуля датчиков и диагностики.
| - | Перейдите на Шаг 2 | - |
| 2 | Осмотреть разъем и проводку боковой подушки безопасности пассажира. Разъем отключен? | - | Подключите разъем и Перейдите на Шаг 1 | Перейдите на Шаг 3 |
| 3 | - Удостоверьтесь, что ключ зажигания находится в положении OFF.
- Отключите разъем модуля боковой подушки безопасности пассажира.
- Отключите разъем проводки модуля датчиков и диагностики (SDM).
- Проверьте сопротивление между выводами 2, 1 модуля боковой подушки безопасности пассажира и выводами 39, 40 модуля датчиков и диагностики (SDM).
Сопротивление близко к 0 (нулю)? | ≈ 0 Ом | Перейдите на Шаг 4 | Замените проводку надувной подушки безопасности. |
| 4 | - Замените модуль датчиков и диагностики.
- Удостоверьтесь, что ключ зажигания находится в положении ON.
- Стереть диагностический код неисправности с помощью диагностического прибора
- Выполните проверку диагностической системы системы надувных подушек безопасности (SIR).
Диагностический код неисправности удален? | - | Система в норме. | Замените модуль боковой подушки безопасности пассажира. |
Диагностический код неисправности (DTC) B1383
Слишком низкое сопротивление боковой подушки безопасности пассажира
Описание схемы
При установке ключа зажигания в положение ON модуль датчиков и диагностики (SDM) выполняет начальную проверку для выявления существенных неполадок внутри самого SDM.
После этих проверок модуль измеряет напряжения в цепях зажигания и срабатывания подушек безопасности, проверяя, что они находятся в номинальных диапазонах. SDM контролирует напряжения на проводах нижнего уровня подушек водителя и пассажира, выявляя замыкание цепей срабатывания на массу или напряжение питания.
Модуль датчиков и диагностики (SDM) проверяет проводку к модулю боковой подушки безопасности пассажира, пропуская ничтожно малый ток через внутреннюю цепь и проверяя ее сопротивление.
Диагностический код неисправности DTC B1383 записывается, когда
- Сопротивление цепи срабатывания боковой подушки безопасности пассажира ниже 1,77 Ом.
- Повреждена закорачивающая перемычка, модуль датчиков и диагностики (SDM) необходимо заменить.
DTC B1383 - Слишком низкое сопротивление боковой подушки безопасности пассажира
Внимание! Модуль датчиков и диагностики (SDM) может сохранять достаточное напряжение для приведения в действие подушек безопасности и натяжителей в течение 1 минуты после выключения зажигания и удаления предохранителя. Если подушки безопасности и натяжители не отсоединены, не начинайте обслуживание, пока не пройдет одна минута после отключения питания от SDM. Несоблюдение этого требования может привести к травмам.
Внимание! В процессе обслуживания обращайтесь с модулем датчиков и диагностики (SDM) очень осторожно. Не ударяйте и не встряхивайте SDM. Никогда не подключайте питание к системе надувных подушек безопасности (SIR), если SDM не соединен жестко с автомобилем. Чтобы система надувных подушек безопасности (SIR) работала правильно, все болты крепления модуля датчиков и диагностики SDM должны быть тщательно затянуты, а стрелка на SDM должна быть направлена к передней части автомобиля. При недостаточно жестком креплении модуля SDM к автомобилю включенный модуль может сработать, что приведет к неожиданному выпуску подушек безопасности и может повлечь травму.
| Шаг | Операция | Значения | Да | Нет |
| 1 | - Удостоверьтесь, что ключ зажигания находится в положении OFF.
- Подождите минуту, чтобы разрядить заряд блока питания модуля датчиков и диагностики.
| - | Перейдите на Шаг 2 | - |
| 2 | Осмотреть разъем и проводку боковой подушки безопасности пассажира. Проводка повреждена? | - | Замените проводку надувной подушки безопасности. | Перейдите на Шаг 3 |
| 3 | - Удостоверьтесь, что ключ зажигания находится в положении OFF.
- Отключите разъем модуля боковой подушки безопасности пассажира.
- Отсоединить разъем модуля датчиков и диагностики (SDM).
- Проверьте сопротивление между выводами 1 и 2 модуля боковой подушки безопасности пассажира.
Сопротивление равно ∞? | ∞ | Перейдите на Шаг 4 | Замените проводку надувной подушки безопасности. |
| 4 | - Замените модуль датчиков и диагностики.
- Удостоверьтесь, что ключ зажигания находится в положении ON.
- Сотрите диагностический код неисправности с помощью диагностического прибора.
- Выполните проверку диагностической системы системы надувных подушек безопасности (SIR).
Диагностический код неисправности удален? | - | Перейдите на Шаг 4 | Замените модуль боковой подушки безопасности пассажира. |
Диагностический код неисправности (DTC) B1384
Замыкание боковой подушки безопасности пассажира на массу
Описание схемы
При установке ключа зажигания в положение ON модуль датчиков и диагностики (SDM) выполняет начальную проверку для выявления существенных неполадок внутри самого SDM.
После этих проверок модуль измеряет напряжения в цепях зажигания и срабатывания подушек безопасности, проверяя, что они находятся в номинальных диапазонах. SDM контролирует напряжения на проводах нижнего уровня подушек водителя и пассажира, выявляя замыкание цепей срабатывания на массу или напряжение питания.
Модуль датчиков и диагностики (SDM) проверяет проводку к модулю боковой подушки безопасности пассажира, пропуская ничтожно малый ток через внутреннюю цепь и проверяя ее сопротивление.
Диагностический код неисправности DTC B1384 записывается, когда
- Провод верхнего уровня проводки боковой подушки безопасности пассажира закорочен на массу.
- Провод нижнего уровня проводки боковой подушки безопасности пассажира закорочен на массу.
DTC B1384 - Замыкание боковой подушки безопасности пассажира на массу
Внимание! Модуль датчиков и диагностики (SDM) может сохранять достаточное напряжение для приведения в действие подушек безопасности и натяжителей в течение 1 минуты после выключения зажигания и удаления предохранителя. Если подушки безопасности и натяжители не отсоединены, не начинайте обслуживание, пока не пройдет одна минута после отключения питания от SDM. Несоблюдение этого требования может привести к травмам.
Внимание! В процессе обслуживания обращайтесь с модулем датчиков и диагностики (SDM) очень осторожно. Не ударяйте и не встряхивайте SDM. Никогда не подключайте питание к системе надувных подушек безопасности (SIR), если SDM не соединен жестко с автомобилем. Чтобы система надувных подушек безопасности (SIR) работала правильно, все болты крепления модуля датчиков и диагностики SDM должны быть тщательно затянуты, а стрелка на SDM должна быть направлена к передней части автомобиля. При недостаточно жестком креплении модуля SDM к автомобилю включенный модуль может сработать, что приведет к неожиданному выпуску подушек безопасности и может повлечь травму.
| Шаг | Операция | Значения | Да | Нет |
| 1 | - Удостоверьтесь, что ключ зажигания находится в положении OFF.
- Подождите минуту, чтобы разрядить заряд блока питания модуля датчиков и диагностики (SDM).
| - | Перейдите на Шаг 2 | - |
| 2 | Осмотреть разъем и проводку боковой подушки безопасности пассажира. Проводка повреждена? | - | Замените проводку надувной подушки безопасности. | Перейдите на Шаг 3 |
| 3 | - Удостоверьтесь, что ключ зажигания находится в положении OFF.
- Отключите разъем модуля боковой подушки безопасности пассажира.
- Отсоединить разъем модуля датчиков и диагностики (SDM).
- Проверьте сопротивление между выводами верхнего и нижнего уровня модуля боковой подушки безопасности пассажира и массой.
Сопротивление выше 10 кОм? | 10K Ом | Перейдите на Шаг 4 | Замените проводку надувной подушки безопасности. |
| 4 | - Замените модуль датчиков и диагностики.
- Удостоверьтесь, что ключ зажигания находится в положении ON.
- Сотрите диагностический код неисправности с помощью диагностического прибора.
- Выполните проверку диагностической системы системы надувных подушек безопасности (SIR).
Диагностический код неисправности удален? | - | Система в норме. | Замените модуль боковой подушки безопасности пассажира. |
Диагностический код неисправности (DTC) B1385
Замыкание боковой подушки безопасности пассажира на напряжение аккумулятора
Описание схемы
При установке ключа зажигания в положение ON модуль датчиков и диагностики (SDM) выполняет начальную проверку для выявления существенных неполадок внутри самого SDM.
После этих проверок модуль измеряет напряжения в цепях зажигания и срабатывания подушек безопасности, проверяя, что они находятся в номинальных диапазонах. SDM контролирует напряжения на проводах нижнего уровня подушек водителя и пассажира, выявляя замыкание цепей срабатывания на массу или напряжение питания.
Модуль датчиков и диагностики (SDM) проверяет проводку к модулю боковой подушки безопасности пассажира, пропуская ничтожно малый ток через внутреннюю цепь и проверяя ее сопротивление.
Диагностический код неисправности DTC B1385 записывается, когда
- Провод верхнего уровня проводки боковой подушки безопасности пассажира закорочен на провод аккумулятора.
- Провод нижнего уровня проводки боковой подушки безопасности пассажира закорочен на провод аккумулятора.
DTC B1385 - Замыкание боковой подушки безопасности пассажира на напряжение аккумулятора
Внимание! Модуль датчиков и диагностики (SDM) может сохранять достаточное напряжение для приведения в действие подушек безопасности и натяжителей в течение 1 минуты после выключения зажигания и удаления предохранителя. Если подушки безопасности и натяжители не отсоединены, не начинайте обслуживание, пока не пройдет одна минута после отключения питания от SDM. Несоблюдение этого требования может привести к травмам.
Внимание! В процессе обслуживания обращайтесь с модулем датчиков и диагностики (SDM) очень осторожно. Не ударяйте и не встряхивайте SDM. Никогда не подключайте питание к системе надувных подушек безопасности (SIR), если SDM не соединен жестко с автомобилем. Чтобы система надувных подушек безопасности (SIR) работала правильно, все болты крепления модуля датчиков и диагностики SDM должны быть тщательно затянуты, а стрелка на SDM должна быть направлена к передней части автомобиля. При недостаточно жестком креплении модуля SDM к автомобилю включенный модуль может сработать, что приведет к неожиданному выпуску подушек безопасности и может повлечь травму.
| Шаг | Операция | Значения | Да | Нет |
| 1 | - Удостоверьтесь, что ключ зажигания находится в положении OFF.
- Подождите минуту, чтобы разрядить заряд блока питания модуля датчиков и диагностики (SDM).
| - | Перейти на Шаг 2 | - |
| 2 | Осмотреть разъем и проводку боковой подушки безопасности пассажира. Проводка повреждена? | - | Замените проводку надувной подушки безопасности. | Перейдите на Шаг 3 |
| 3 | - Удостоверьтесь, что ключ зажигания находится в положении OFF.
- Отключите разъем модуля боковой подушки безопасности пассажира.
- Отсоединить разъем модуля датчиков и диагностики (SDM).
- Проверьте сопротивление между выводами верхнего и нижнего уровня модуля боковой подушки безопасности пассажира и аккумулятором.
Сопротивление выше 10 кОм? | 10K Ом | Перейдите на Шаг 4 | Замените проводку надувной подушки безопасности. |
| 4 | - Замените модуль датчиков и диагностики.
- Удостоверьтесь, что ключ зажигания находится в положении ON.
- Сотрите диагностический код неисправности с помощью диагностического прибора.
- Выполните проверку диагностической системы системы надувных подушек безопасности (SIR).
Диагностический код неисправности удален? | - | Система в норме. | Замените модуль боковой подушки безопасности пассажира. |
Диагностический код неисправности (DTC) B1395
Нарушение соединений в цепи пусковых контуров
Описание схемы
При установке ключа зажигания в положение ON модуль датчиков и диагностики (SDM) выполняет начальную проверку для выявления существенных неполадок внутри самого SDM.
После этих проверок модуль измеряет напряжения в цепях зажигания и срабатывания подушек безопасности, проверяя, что они находятся в номинальных диапазонах. SDM контролирует напряжения на проводах низкого уровня подушек водителя и пассажира, выявляя замыкание цепей срабатывания на массу или напряжение питания.
Модуль SDM проверяет проводку подушки безопасности, пропуская очень малый ток по внутренней цепи и проверяя ее сопротивление.
В случае выдачи кода неисправности DTS B1395 правильно подключите ошибочно соединенный провод высокого или низкого уровня или замените проводку подушки безопасности.
Диагностический код неисправности DTC B1395 записывается, когда
- Какой-либо из проводов высокого или низкого уровня подушки безопасности подключен неправильно.
DTC B1395 Нарушение соединений в цепи пусковых контуров
Внимание! Модуль датчиков и диагностики (SDM) может сохранять достаточное напряжение для приведения в действие подушек безопасности и натяжителей в течение 1 минуты после выключения зажигания и удаления предохранителя. Если подушки безопасности и натяжители не отсоединены, не начинайте обслуживание, пока не пройдет одна минута после отключения питания от SDM. Несоблюдение этого требования может привести к травмам.
Внимание! В процессе обслуживания обращайтесь с модулем датчиков и диагностики (SDM) очень осторожно. Не ударяйте и не встряхивайте SDM. Никогда не подключайте питание к системе надувных подушек безопасности (SIR), если SDM не соединен жестко с автомобилем. Чтобы система надувных подушек безопасности (SIR) работала правильно, все болты крепления модуля датчиков и диагностики SDM должны быть тщательно затянуты, а стрелка на SDM должна быть направлена к передней части автомобиля. При недостаточно жестком креплении модуля SDM к автомобилю включенный модуль может сработать, что приведет к неожиданному выпуску подушек безопасности и может повлечь травму.
Диагностический код неисправности (DTC) B1400
Неисправность датчика боковой подушки безопасности водителя
Описание схемы
При установке ключа зажигания в положение ON модуль датчиков и диагностики (SDM) выполняет начальную проверку для выявления существенных неполадок внутри самого SDM.
После этих проверок модуль измеряет напряжения в цепях зажигания и срабатывания подушек безопасности, проверяя, что они находятся в номинальных диапазонах. SDM контролирует напряжения на проводах нижнего уровня подушек водителя и пассажира, выявляя замыкание цепей срабатывания на массу или напряжение питания.
Диагностический код неисправности DTC B1400 записывается, когда
- Датчик боковой подушки безопасности водителя неисправен.
DTC B1400 - Неисправность датчика боковой подушки безопасности водителя
Внимание! Модуль датчиков и диагностики (SDM) может сохранять достаточное напряжение для приведения в действие подушек безопасности и натяжителей в течение 1 минуты после выключения зажигания и удаления предохранителя. Если подушки безопасности и натяжители не отсоединены, не начинайте обслуживание, пока не пройдет одна минута после отключения питания от SDM. Несоблюдение этого требования может привести к травмам.
Внимание! В процессе обслуживания обращайтесь с модулем датчиков и диагностики (SDM) очень осторожно. Не ударяйте и не встряхивайте SDM. Никогда не подключайте питание к системе надувных подушек безопасности (SIR), если SDM не соединен жестко с автомобилем. Чтобы система надувных подушек безопасности (SIR) работала правильно, все болты крепления модуля датчиков и диагностики SDM должны быть тщательно затянуты, а стрелка на SDM должна быть направлена к передней части автомобиля. При недостаточно жестком креплении модуля SDM к автомобилю включенный модуль может сработать, что приведет к неожиданному выпуску подушек безопасности и может повлечь травму.
| Шаг | Операция | Значения | Да | Нет |
| 1 | - Удостоверьтесь, что ключ зажигания находится в положении OFF.
- Подождите минуту, чтобы разрядить заряд блока питания модуля датчиков и диагностики (SDM).
- Осмотрите проводку и разъем датчика боковой подушки безопасности пассажира на предмет повреждений.
Проводка или разъем подушки безопасности поврежден? | - | Перейдите на Шаг 2 | Перейдите на Шаг 3 |
| 2 | Замените проводку надувной подушки безопасности. | - | - | - |
| 3 | Замените датчик боковой подушки безопасности водителя. | - | - | - |
Диагностический код неисправности (DTC) B1401
Замыкание датчика боковой подушки безопасности водителя на массу или утечка
Описание схемы
При установке ключа зажигания в положение ON модуль датчиков и диагностики (SDM) выполняет начальную проверку для выявления существенных неполадок внутри самого SDM.
После этих проверок модуль измеряет напряжения в цепях зажигания и срабатывания подушек безопасности, проверяя, что они находятся в номинальных диапазонах. SDM контролирует напряжения на проводах нижнего уровня подушек водителя и пассажира, выявляя замыкание цепей срабатывания на массу или напряжение питания.
Диагностический код неисправности DTC B1401 записывается, когда
- Обрыв или короткое замыкание на массу провода верхнего уровня проводки датчика боковой подушки безопасности водителя.
- Обрыв или короткое замыкание на массу провода нижнего уровня проводки датчика боковой подушки безопасности водителя.
DTC B1401 - Замыкание датчика боковой подушки безопасности водителя на массу или утечка
Внимание! Модуль датчиков и диагностики (SDM) может сохранять достаточное напряжение для приведения в действие подушек безопасности и натяжителей в течение 1 минуты после выключения зажигания и удаления предохранителя. Если подушки безопасности и натяжители не отсоединены, не начинайте обслуживание, пока не пройдет одна минута после отключения питания от SDM. Несоблюдение этого требования может привести к травмам.
Внимание! В процессе обслуживания обращайтесь с модулем датчиков и диагностики (SDM) очень осторожно. Не ударяйте и не встряхивайте SDM. Никогда не подключайте питание к системе надувных подушек безопасности (SIR), если SDM не соединен жестко с автомобилем. Чтобы система надувных подушек безопасности (SIR) работала правильно, все болты крепления модуля датчиков и диагностики SDM должны быть тщательно затянуты, а стрелка на SDM должна быть направлена к передней части автомобиля. При недостаточно жестком креплении модуля SDM к автомобилю включенный модуль может сработать, что приведет к неожиданному выпуску подушек безопасности и может повлечь травму.
| Шаг | Операция | Значения | Да | Нет |
| 1 | - Удостоверьтесь, что ключ зажигания находится в положении OFF.
- Подождите минуту, чтобы разрядить заряд блока питания модуля датчиков и диагностики (SDM).
| - | Перейдите на Шаг 2 | - |
| 2 | Осмотреть разъем и проводку датчика боковой подушки безопасности водителя. Проводка или разъем повреждены? | - | Замените проводку надувной подушки безопасности. | Перейдите на Шаг 3 |
| 3 | - Удостоверьтесь, что ключ зажигания находится в положении OFF.
- Отсоединить разъем датчика боковой подушки безопасности водителя.
- Отключите разъем проводки модуля датчиков и диагностики (SDM).
- Проверьте сопротивление между выводами 1, 2 датчика боковой подушки безопасности водителя.
Сопротивление равно ∞? | ∞ | Перейдите на Шаг 4 | Замените проводку надувной подушки безопасности. |
| 4 | Проверьте сопротивление между выводами верхнего и нижнего уровня датчика боковой подушки безопасности водителя и массой. Сопротивление выше 4,5 кОм? | 4,5 кОм | Перейдите на Шаг 5 | Замените проводку надувной подушки безопасности. |
| 5 | - Замените датчик боковой подушки безопасности водителя.
- Удостоверьтесь, что ключ зажигания находится в положении ON.
- Сотрите диагностический код неисправности с помощью диагностического прибора.
- Выполните проверку диагностической системы системы надувных подушек безопасности (SIR).
Диагностический код неисправности удален? | - | Система в норме. | Замените модуль датчиков и диагностики. |
 | |  | |