ТЕХНИЧЕСКОЕ ОБСЛУЖИВАНИЕ И РЕМОНТ
ТЕХНИЧЕСКОЕ ОБСЛУЖИВАНИЕ БЕЗ ДЕМОНТАЖА С АВТОМОБИЛЯ
Прокачка топлива
Важно: Для того чтобы дизельная топливная система VM2.0S правильно работала, топливопроводы должны быть заполнены топливом и не содержать воздуха. Если в топливопроводы попал воздух, необходимо перед эксплуатацией автомобиля прокачать топливную систему, чтобы удалить воздух. Воздух может проникнуть в систему одним из следующих путей:
- Автомобиль растратил топливо.
- Для техобслуживания или замены снимался фильтр.
- Для техобслуживания снимались или отсоединялись топливопроводы.
- Для техобслуживания снимался топливный насос.
- Во время работы двигателя открывался краник для слива воды из топливного фильтра.
Если произошло одно или несколько из указанных выше событий, в топливную систему проник воздух и перед эксплуатацией автомобиля необходимо прокачать систему.
- Поверните ключ зажигания в положение ON (ВКЛ) с 5-секундным интервалом.
Внимание! Не поворачивайте ключ зажигания в положение START (Запуск). Это может повредить насос впрыска.
- Поверните ключ зажигания в положение OFF (ВЫКЛ) и подождите 3 секунды.
- Повторить процедуры № 1 ~ 2 раз 6 или 7.
Примечание: Прокачку топлива можно выполнять, используя диагностический прибор.



Топливный бак
Процедура снятия
Внимание! Не допускается курение или использование открытого огня в местах выполнения работ на топливной системе. При выполнении работ на топливной системе следует отсоединить отрицательный кабель аккумуляторной батареи, за исключением тех проверок, когда требуется напряжение батареи.
- Отсоедините отрицательный кабель аккумулятора.
- Отсоедините отрицательный кабель аккумулятора.
- Снять заднее сиденье. См. раздел 9Н, "Сиденья".
- Слить топливо из бака.
- Снять заднюю выпускную трубу. См. раздел 1G2, "Система выпуска отработавших газов - дизель 2.0".
- Снять гайки с щитком топливного бака.



- Снять хомут наливного патрубка с топливного бака.
- Отсоединить наливной патрубок топливного бака.
- Отсоединить трубопровод для паров топлива рядом с наливным патрубком топливного бака.
- Отсоединить разъем жгута проводов топливного насоса.



- Отсоединить впускной топливопровод рядом с правой передней стороной топливного бака.



- Подпереть топливный бак.
- Снять крепежные винты хомутов топливного бака.
- Снять хомут топливного бака.
- Осторожно опустить топливный бак.
- Снять топливный бак.
- Убрать детали при необходимости.



Процедура установки
- Поднять топливный бак до нужного положения.
- Установить хомуты топливного бака.
- Установить крепежные винты хомутов топливного бака.
Затянуть
Затянуть крепежные винты хомутов топливного бака до 20 Н•м (15 lb-ft).



- Присоединить подающий топливопровод.



- Присоединить разъем жгута проводов топливного насоса.
- Установить хомут наливного патрубка на топливный бак.



- Установить гайки с щитком топливного бака.
Затянуть
Затянуть крепежные винты оболочки топливного бака до 2~3 Н•м (1,5~2,2 lb-ft).
- Установить заднюю выпускную трубу. См. раздел 1G2, "Система выпуска отработавших газов - дизель 2.0".
- Установить заднее сиденье. См. раздел 9Н, "Сиденья".
- Присоедините отрицательный кабель аккумулятора.
- Заправить топливный бак.
- Проверить утечки на соединениях топливного бака и топливопроводов.
- Выполнить прокачку топлива. См. "Прокачка топлива" в этом разделе.



Топливный насос в сборе
Процедура снятия
- Отсоедините отрицательный кабель аккумулятора.
- Сложить заднее сиденье.
- Снять технологические крышки топливного насоса.



- Отсоединить электрический разъем с топливного насоса.
- Отсоединить подающий топливопровод.
- Повернуть замковое кольцо против часовой стрелки, освободив петли топливного бака.
- Снять узел топливного насоса с бака.



Процедура установки
- Почистить сопряженные поверхности прокладки на топливном баке.
- Установить на место новую прокладку.
- Установить топливный насос в топливный бак на то же место для облегчения установки топливопровода и разъема.
- Установить замковое кольцо и повернуть его по часовой стрелке до упора в баке.
- Присоединить разъем топливного насоса.
- Установить подающий топливопровод топливного насоса.
- Установить технологическую крышку топливного насоса.
- Присоедините отрицательный кабель аккумулятора.
- Проверить работоспособность топливного насоса.
- Установить заднее сиденье. См. раздел 9Н, "Сиденья".
- Выполнить прокачку топлива. См. "Прокачка топлива" в этом разделе.



Датчик уровня топлива
Процедура замены
Примечание: При демонтаже топливного насоса из топливного бака и установке топливного насоса в топливный бак соблюдать осторожность, чтобы не повредить топливный всасывающий шланг (a). При повреждении топливного всасывающего шланга возможно неверное определение уровня топлива.
- Снять узел топливного насоса. См. "Топливный насос" в этом разделе.



Внимание! Оттянуть разъемы, одновременно прижимая язычок фиксатора подходящим инструментом, например, отверткой с плоским лезвием.
- Отсоединить разъем датчика уровня топлива от узла топливного насоса.



Важно: Оттянуть скобу, одновременно прижимая правый язычок фиксатора подходящим инструментом, например, отверткой с плоским лезвием.
- Снять скобу датчика уровня топлива с узла топливного насоса.



Важно: Оттянуть корпус датчика уровня топлива, одновременно прижимая язычок фиксатора подходящим инструментом, например, отверткой с плоским лезвием.
- Выдвинуть и снять датчик уровня топлива.
- Установить датчик уровня топлива в обратной последовательности.
- Установить узел топливного насоса на топливный бак. См. "Топливный насос" в этом разделе.



Топливный фильтр/Датчик воды в топливе/Датчик подогревателя и температуры топлива
Необходимое оборудование
EN-48303 Держатель корпуса топливного фильтра
EN-48304 Приспособление для демонтажа/монтажа фиксатора топливного фильтра
Процедура снятия
Внимание! Не допускается курение или использование открытого огня в местах выполнения работ на топливной системе. При выполнении работ на топливной системе следует отсоединить отрицательный кабель аккумуляторной батареи, за исключением тех проверок, когда требуется напряжение батареи.
- Отсоедините отрицательный кабель аккумулятора.
- Снять декоративную крышку. См. Раздел 1B, "Механическая система двигателя - 2.0 Дизель".



- Отсоединить подводящий/отводящий топливопровод от топливного фильтра.
- Отсоединить разъем топливного нагревателя и датчика температуры (a).
- Отсоединить разъем датчика воды в топливе (b).
- Снять топливный фильтр в сборе с кронштейном.



- Снять топливный фильтр с кронштейна.
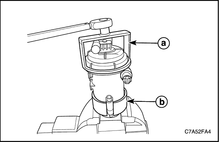
- Установить держатель корпуса фильтра EN-48303 (a) и приспособление для демонтажа/монтажа запирателя топливного фильтра EN-48304 (b) на топливный фильтр в сборе.
- Повернуть приспособление для демонтажа/монтажа запирателя топливного фильтра EN-48304 (b) против часовой стрелки.



- Снять фиксатор топливного фильтра (a).
- Снять крышку топливного фильтра (b) с уплотнительным кольцом (c).
- Вынуть топливный фильтр (d) из корпуса топливного фильтра (e).
Примечание: Крышка топливного фильтра выполнена с датчиком подогревателя и температуры топлива как одно целое. Таким же образом, корпус топливного фильтра выполнен с датчиком воды в топливе как одно целое.



Порядок спуска воды
- Повернуть винт спуска воды в топливе против часовой стрелки.
- После завершения повернуть винт спуска в обратном направлении.
- Выполнить прокачку топлива. См. "Прокачка топлива" в этом разделе.



Процедура установки
- Установить топливный фильтр (d) в корпус топливного фильтра (е).
- Установить крышку топливного фильтра (b) с новым уплотнительным кольцом (c).
- Установить фиксатор топливного фильтра (a) с помощью держателя корпуса фильтра EN-48303 и приспособления для демонтажа/монтажа фиксатора топливного фильтра EN-48304.
Затянуть
Затянуть фиксатор топливного фильтра с моментом 30 Н•м (22 фунт-фута).



- Установить топливный фильтр на кронштейн.
- Установить топливный фильтр в сборе с кронштейном на кузов.
Затянуть
Затянуть крепежную гайку кронштейна топливного фильтра с моментом 10 Н•м (88,5 фунт-дюйма).



Подающие топливопроводы высокого давления
Процедура снятия
Внимание! Не допускается курение или использование открытого огня в местах выполнения работ на топливной системе. При выполнении работ на топливной системе следует отсоединить отрицательный кабель аккумуляторной батареи, за исключением тех проверок, когда требуется напряжение батареи.
- Снять декоративную крышку. См. Раздел 1B, "Механическая система двигателя - 2.0 Дизель".
- Снять систему нагнетаемого воздуха. См. Раздел 1B, "Механическая система двигателя - 2.0 Дизель".



- Удерживая соединитель форсунки (a), открутить гайку (M14) крепления топливопровода к форсунке.
- Во избежание разлива топлива или повреждения от соединителя форсунки, удерживать соединитель форсунки инструментами и открутить гайку трубки. И затем, сразу же после снятия топливопроводов, надеть колпачок на разъем форсунки во избежание загрязнения пылью. Даже небольшое количество пыли может забить форсунки.



- Удерживая сгонную муфту насоса впрыска (a), открутить гайку (M14) крепления топливопровода к общей топливной рампе.
Внимание! Во избежание пролива топлива или повреждения от сгонной муфты насоса впрыска, удерживать сгонную муфту насоса впрыска инструментами и открутить гайку (M14) крепления топливопровода к общей топливной рампе. И затем, сразу же после снятия топливопроводов, надеть колпачок на разъем трубки впрыска во избежание загрязнения пылью. Даже небольшое количество пыли может забить форсунки.



- Открутить гайку крепления топливопровода к общей топливной рампе (M17).
- Выкрутить из корпуса термостата болт крепления топливопровода к общей топливной рампе.
- Снять трубку от топливопровода к общей топливной рампе и трубки от топливопровода к форсункам.
Внимание! Сразу же после извлечения резьбовых соединений надеть колпачки на резьбовые соединения трубок общей топливной рампы во избежание загрязнения пылью. Даже небольшое количество пыли может забить форсунки.



Процедура установки
Важно: Топливопроводы нельзя использовать повторно. При повторном использовании загрязненные трубки могут привести к повреждению форсунок или течи трубок.
Внимание!
- Не продувать воздухом из пульверизатора внутри сгонных муфт форсунок, насоса впрыска и резьбовых соединений трубок общей топливной рампы. При загрязнении протереть пыльный участок промасленной бумагой.
- Не протирать салфетками внутри сгонных муфт форсунок, насоса впрыска и резьбовых соединений трубок общей топливной рампы. При загрязнении протереть пыльный участок промасленной бумагой.
- При загрязнении резьбового соединения трубки общей топливной рампы очистить промасленной бумагой.
- Ослабить болты кронштейна форсунки. См. "Форсунка" в этом разделе.
- Установить топливопроводы между форсунками и общей топливной рампой и вручную затянуть гайки.
Внимание! Не затягивать гайки топливопроводов инструментом.
- Затянуть болты кронштейна форсунки.
Затянуть
Затянуть болт кронштейна форсунки до 28 Н•м (20,7 фунт-фута).



- Удерживая сгонную муфту форсунки (a), затянуть гайку (M14) крепления топливопровода к форсунке.
Затянуть
Затянуть гайку (M14) крепления топливопровода к форсунке до 27 Н•м (19,9 фунт-фута).
- Затянуть гайку (M17) крепления топливопровода к форсунке.
Затянуть
Затянуть гайку (M17) крепления топливопровода к форсунке до 20 Н•м (14,8 фунт-фута).



- Установить топливопровод между общей топливной рампой и насосом впрыска и вручную затянуть гайки.
Внимание! Не затягивать гайки топливопроводов инструментом.
- Удерживая сгонную муфту насоса впрыска (a), затянуть гайку (M14) крепления топливопровода к общей топливной рампе.
Затянуть
Затянуть гайку (M14) крепления топливопровода к общей топливной рампе до 20 Н•м (14,8 фунт-фута).
- Затянуть гайку (M17) крепления топливопровода к общей топливной рампе.
Затянуть
Затянуть гайку (M17) крепления топливопровода к общей топливной рампе до 20 Н•м (14,8 фунт-фута).



Насос для впрыска топлива
Процедура снятия
Внимание! Не допускается курение или использование открытого огня в местах выполнения работ на топливной системе. При выполнении работ на топливной системе следует отсоединить отрицательный кабель аккумуляторной батареи, за исключением тех проверок, когда требуется напряжение батареи.
- Снять топливопроводы высокого давления. См. "Подающие топливопроводы высокого давления" в этом разделе.



- Снимите впускной коллектор. См. Раздел 1B, "Механическая система двигателя - 2.0 Дизель".
- Снимите приводной ремень газораспределительного механизма. См. Раздел 1B, "Механическая система двигателя - 2.0 Дизель".
- Демонтировать насос рулевого управления с гидроусилителем. Следуйте разделу 6В, Насос рулевого управления с усилителем.



Внимание! Сразу же после снятия топливопроводов надеть колпачок на сгонную муфту насоса впрыска во избежание загрязнения пылью. Даже небольшое количество пыли может забить форсунки.
- Снять звездочку насоса впрыска вместе с сегментной шпонкой.



- Снять насос впрыска в сборе.



Процедура установки
Важно: Топливопроводы нельзя использовать повторно. При повторном использовании загрязненные трубки могут привести к повреждению форсунок или течи трубок.
Внимание!
- Не продувать воздухом из пульверизатора внутри сгонных муфт форсунок, насоса впрыска и резьбовых соединений трубок общей топливной рампы. При загрязнении протереть пыльный участок промасленной бумагой.
- Не протирать салфетками внутри сгонных муфт форсунок, насоса впрыска и резьбовых соединений трубок общей топливной рампы. При загрязнении протереть пыльный участок промасленной бумагой.
- Установить насос впрыска в сборе.
Затянуть
Затянуть болты насоса впрыска до 30 Н•м (22,1 фунт-фута).
- Вставить сегментную шпонку в паз ведущего вала насоса впрыска.
- Установить звездочку насоса впрыска.
- Завернуть гайку звездочки насоса впрыска вручную.



- Совместить метку на звездочке и метку на задней крышке приводного ремня ГРМ.
- Установить и выровнять приводной ремень ГРМ. См. раздел 1B, "Механическая часть двигателя - дизель 2.0".
- Завернуть гайку звездочки насоса впрыска.
Затянуть
Затяните гайку звездочки насоса для впрыска топлива до 70 Н•м (51,6 фунт-фута).



- Выполнить прокачку топлива. См. "Прокачка топлива" в этом разделе.



Общая топливная рампа
Внимание! Не допускается курение или использование открытого огня в местах выполнения работ на топливной системе. При выполнении работ на топливной системе следует отсоединить отрицательный кабель аккумуляторной батареи, за исключением тех проверок, когда требуется напряжение батареи.
Процедура снятия
- Отсоедините отрицательный кабель аккумулятора.
- Отсоединить разъем датчика давления в общей топливной рампе.
- Отсоединить разъем регулятора общей топливной рампы.
- Отсоединить возвратный шланг общей топливной рампы.
- Снять направляющую проводов двигателя с впускного коллектора.
- Снять топливопроводы высокого давления. См. "Подающие топливопроводы высокого давления" в этом разделе.



- Снять узел общей топливной рампы.
Внимание! Сразу же после снятия топливопроводов надеть колпачок на резьбовые соединения трубок общей топливной рампы во избежание загрязнения пылью. Даже небольшое количество пыли может забить форсунки.



Процедура установки
Важно: Топливопроводы нельзя использовать повторно. При повторном использовании загрязненные трубки могут привести к повреждению форсунок или течи трубок.
Внимание!
- Не продувать воздухом из пульверизатора внутри сгонных муфт форсунок, насоса впрыска и резьбовых соединений трубок общей топливной рампы. При загрязнении протереть пыльный участок промасленной бумагой.
- Не протирать салфетками внутри сгонных муфт форсунок, насоса впрыска и резьбовых соединений трубок общей топливной рампы. При загрязнении протереть пыльный участок промасленной бумагой.
- Установить узел общей топливной рампы.
Затянуть
Затянуть крепежные болты общей топливной рампы до 25 Н•м (18,4 фунт-фута).



- Установить топливопроводы на общую топливную рампу. См. "Подающие топливопроводы высокого давления" в этом разделе.
- Подсоединить разъем датчика давления в общей топливной рампе.
- Подсоединить разъем регулятора общей топливной рампы.
- Выполнить прокачку топлива. См. "Прокачка топлива" в этом разделе.



Датчик давления в общей топливной рампе
Внимание! Не допускается курение или использование открытого огня в местах выполнения работ на топливной системе. При выполнении работ на топливной системе следует отсоединить отрицательный кабель аккумуляторной батареи, за исключением тех проверок, когда требуется напряжение батареи.
Процедура снятия
- Снять узел общей топливной рампы. См. "Общая топливная рампа" в этом разделе.
- Очистить участок сопряжения датчика давления в рампе с использованием соответствующих обезжиривающих средств и просушить сжатым воздухом.
Примечание: Чистящие средства не должны попасть в электрический разъем.
- Снять датчик давления в рампе вместе с прокладкой, если имеется.
Внимание! Сразу же после снятия топливопроводов надеть колпачок на датчик давления в общей топливной рампе во избежание загрязнения пылью. Даже небольшое количество пыли может забить форсунки.



Процедура установки
Внимание!
- Не продувать воздухом из пульверизатора внутри сгонных муфт форсунок, общей топливной рампы и насоса впрыска. При загрязнении протереть пыльный участок промасленной бумагой.
- Не протирать салфетками внутри сгонных муфт форсунок, общей топливной рампы и насоса впрыска. При загрязнении протереть пыльный участок промасленной бумагой.
- Осмотреть и очистить резьбу и уплотняемую поверхность рампы.
- Осмотреть и очистить резьбу и уплотняемую поверхность датчика давления в рампе.
- Нанести на резьбу (a) и врезную кромку (b) датчика давления в рампе смазку Ft1v27 (только тонкую пленку смазки).



- Установить датчик давления в рампе на общую топливную рампу.
Затянуть
Затянуть датчик давления в рампе до 70 Н•м (51,6 фунт-фута).
- Выполнить прокачку топлива. См. "Прокачка топлива" в этом разделе.
- При замене сбросить значения ЭСППЗУ для ZFC (нулевая корректировка топлива), используя диагностический прибор.



Регулятор общей топливной рампы
Внимание! Не допускается курение или использование открытого огня в местах выполнения работ на топливной системе. При выполнении работ на топливной системе следует отсоединить отрицательный кабель аккумуляторной батареи, за исключением тех проверок, когда требуется напряжение батареи.
Процедура снятия
- Снять узел общей топливной рампы. См. "Общая топливная рампа" в этом разделе.
- Очистить участок сопряжения регулятора рампы с использованием соответствующих обезжиривающих средств и просушить сжатым воздухом.
Примечание: Чистящие средства не должны попасть в электрический разъем.
- Ослабить крепление компонента при помощи промышленного гаечного ключа WAF30, захватить его рукой и вытянуть, одновременно поворачивая его против часовой стрелки.



Процедура установки
Важно: Этот регулятор общей топливной рампы и уплотнительное кольцо нельзя использовать повторно.
Внимание!
- Не продувать воздухом из пульверизатора внутри сгонных муфт форсунок, насоса впрыска и резьбовых соединений трубок общей топливной рампы. При загрязнении протереть пыльный участок промасленной бумагой.
- Не протирать салфетками внутри сгонных муфт форсунок, насоса впрыска и резьбовых соединений трубок общей топливной рампы. При загрязнении протереть пыльный участок промасленной бумагой.
- Осмотреть и очистить резьбу и уплотняемую поверхность рампы.
- Осмотреть и очистить резьбу (a) и врезную кромку (b) регулятора общей топливной рампы.
Примечание: Осмотреть уплотняемые поверхности DRV и рампы или насоса высокого давления. Допустимы только концентрические канавки. Любые порезы в радиальном направлении недопустимы. Осмотреть винты Torx или с буртиком на наличие любых повреждений.



- Смазать уплотнительные кольца топливом.
- Установить регулятор общей топливной рампы при помощи промышленного гаечного ключа WAF30, удерживая от обратного проворачивания гаечным ключом WAF35 шестиугольную часть корпуса.
Затянуть
Затянуть регулятор общей топливной рампы до 60 Н•м (44,3 фунт-фута), повернуть регулятор на 90 градусов в обратную сторону и затянуть до 85 Н•м (62,7 фунт-фута).
- Выполнить прокачку топлива. См. "Прокачка топлива" в этом разделе.



Возвратный топливопровод в сборе
Внимание! Не допускается курение или использование открытого огня в местах выполнения работ на топливной системе. При выполнении работ на топливной системе следует отсоединить отрицательный кабель аккумуляторной батареи, за исключением тех проверок, когда требуется напряжение батареи.
Процедура снятия
- Снять возвратный шланг форсунки.
Важно: Не стягивать зажим, а только прижать его и одновременно отсоединить обратный шланг форсунки. Если снять зажим с форсунки, то его повторное использование будет невозможным.



- Отсоединить возвратный шланг насоса впрыска.
- Отсоединить возвратный шланг общей топливной рампы.
- Снять стопорные болты соединительного блока.
- Снять возвратный топливопровод в сборе.



Процедура установки
- Установить возвратный топливопровод в сборе.
- Подсоединить возвратный шланг общей топливной рампы.
- Подсоединить возвратный шланг насоса впрыска.
Важно: Нельзя принудительно подсоединять к форсункам обратные шланги форсунок. Прижать зажим и одновременно подсоединить обратный шланг форсунки.



- Установить соединительный блок.
Затянуть
Затянуть болты крепления соединительного блока до 11 Н•м (97,4 фунт-дюйма).



форсунка
Необходимое оборудование
EN-48357 Съемник форсунок
Внимание! Не допускается курение или использование открытого огня в местах выполнения работ на топливной системе. При выполнении работ на топливной системе следует отсоединить отрицательный кабель аккумуляторной батареи, за исключением тех проверок, когда требуется напряжение батареи.
Процедура снятия
- Отсоединить отрицательный провод аккумулятора.
- Снять топливопроводы высокого давления. См. "Подающие топливопроводы высокого давления" в этом разделе.



- Снять возвратные шланги форсунок. См. "Возвратный топливопровод в сборе" в этом разделе.



- Отсоединить разъем форсунки.
- Снять пробку кронштейна форсунки.



- Открутить болт кронштейна форсунки.
- Стянуть кронштейн форсунки вручную за болт.
- Извлечь форсунки шайбами вверх.
Внимание!
- Последовательно пронумеровать форсунки карандашом. Если перепутать порядковый номер форсунки, то это отразится на рабочих характеристиках двигателя.
- Защищать наконечник сопла форсунки от пола и жестких участков. Если можно, надеть колпачок на наконечник сопла форсунки.



- Если форсунка пристала к головке цилиндров, воспользоваться съемником форсунок EN-48357.



Процедура установки
Внимание! Шайбу форсунки нельзя использовать повторно.
- Осмотреть и очистить форсунку и наконечник сопла.
Внимание! Не протирать участок наконечника сопла форсунки. Это может повредить отверстие сопла.
- Установить форсунку с новой шайбой.
- Вставить кронштейн форсунки в паз форсунки.
- Затянуть болт кронштейна форсунки.
Затянуть
Затянуть болт кронштейна форсунки до 28 Н•м (20,7 фунт-фута).



- Установить пробку кронштейна форсунки.
Затянуть
Затянуть болт пробки кронштейна форсунки до 7 Н•м (62,0 фунт-дюйма).
Важно: Топливопроводы нельзя использовать повторно. При повторном использовании загрязненные трубки могут привести к повреждению форсунок или течи трубок.
- Выполнить прокачку топлива. См. "Прокачка топлива" в этом разделе.
Важно: При замене форсунки или изменении порядка последовательности форсунок перепрограммировать форсунки, используя диагностический прибор.



Педаль акселератора (APM)
Процедура снятия
- Выключить зажигание.
- Отсоединить отрицательный провод аккумулятора.
- Отсоединить разъем модуля педали акселератора (APM) от APM.



- Удалить болты (в трех местах), которыми модуль APM крепится к опорному кронштейну APM.



Процедура установки
- Установку производить в порядке, обратном порядку снятия деталей.
- Затянуть болты крепления APM к опорному кронштейну APM.
Затянуть
Затянуть верхние крепежные болты APM (a) до 9 Н•м (79,7 фунт-дюйма), а нижний крепежный винт (b) – до 23 Н•м (17 фунт-футов).



Датчик массового расхода воздуха (MAF)
Порядок снятия/установки
- Отсоедините отрицательный кабель аккумулятора.
- Отсоединить разъем датчика MAF.
- Снять датчик MAF с верхней части корпуса воздушного фильтра.
Затянуть
Затянуть болты крепления датчика MAF до 4 Н•м (35,4 фунт-дюйма).



Электронное управление дроссельной заслонкой (ETC)
Порядок снятия/установки
- Отсоедините отрицательный кабель аккумулятора.
- Снять декоративную крышку. См. Раздел 1B, "Механическая система двигателя - 2.0 Дизель".
- Снять выпускной шланг охладителя нагнетаемого воздуха. См. Раздел 1B, "Механическая система двигателя - 2.0 Дизель".
- Отсоединить разъем ETC.
- Снять ETC.
Затянуть
Затянуть болты и гайки крепления ETC до 9 Н•м (79,7 фунт-фута).



Датчик положения распределительного вала (CMP)
Порядок снятия/установки
- Снять отрицательный кабель аккумулятора.
- Снять декоративную крышку. См. Раздел 1B, "Механическая система двигателя - 2.0 Дизель".
- Отвернуть болт соединительного блока. См. "Возвратный топливопровод в сборе" в этом разделе.
- Отсоединить разъем датчика CMK.
- Снять датчик CMK.
Затянуть
Затянуть болт крепления датчика CMK до 7 Н•м (62 фунт-дюймов).



Вакуумный насос
Процедура снятия
- Снять отрицательный кабель аккумулятора.
- Снять декоративную крышку. См. Раздел 1B, "Механическая система двигателя - 2.0 Дизель".
- Снять воздушный фильтр в сборе. См. Раздел 1B, "Механическая система двигателя - 2.0 Дизель".



- Отсоединить жгут проводов двигателя от кронштейна.
- Снять кронштейн жгута проводов двигателя.
- Отсоединить вакуумные шланги рециркуляции отработавших газов и усилителя тормозов.



- Снять вакуумный насос.



Процедура установки
- Установить вакуумный насос.
Затянуть
Затянуть стяжные болты вакуумного насоса до 12 Н•м (8,9 фунт-фута).



- Установить кронштейн жгута проводов двигателя.
- Подсоединить вакуумные шланги рециркуляции отработавших газов и усилителя тормозов.
Затянуть
Затянуть гайки кронштейна жгута проводов двигателя до 20 Н•м (14,8 фунт-фута).



Датчик давления наддува (датчик T-MAP)
Порядок снятия/установки
- Отсоедините отрицательный кабель аккумулятора.
- Снять декоративную крышку. См. Раздел 1B, "Механическая система двигателя - 2.0 Дизель".



- Отсоединить разъем датчика давления наддува.
- Снять вверх крышку жгута проводов двигателя.
- Снять датчик давления наддува.
Затянуть
Затянуть болт датчика давления наддува до 8 Н•м (70,8 фунт-дюйма).



Датчик температуры охлаждающей жидкости (ЕТС)
Порядок снятия/установки
- Отсоедините отрицательный кабель аккумулятора.
- Снять декоративную крышку. См. Раздел 1B, "Механическая система двигателя - 2.0 Дизель".



- Отсоединить разъем датчика ECT.
- Снять датчик температуры охлаждающей жидкости.
Затянуть
Затянуть датчик ECT до 35 Н•м (25,8 фунт-фута).



Датчик положения коленчатого вала (CKP)
Порядок снятия/установки
- Отсоедините отрицательный кабель аккумулятора.
- Отсоединить разъем датчика положения коленчатого вала.
- Снимите датчик СКР.
Затянуть
Затянуть крепежный винт датчика положения коленчатого вала до 7 Н•м (62 фунт-дюймов).



Датчик давления масла
Порядок снятия/установки
- Отсоедините отрицательный кабель аккумулятора.
- Слейте моторное масло.
- Отсоедините разъем датчика давления масла.
- Снять датчик давления масла.
Затянуть
Затяните датчик давления масла до 30 Н•м (22,1 фунт-фута).



Электромагнитный клапан вакуума рециркуляции отработавших газов
Порядок снятия/установки
- Отсоедините отрицательный кабель аккумулятора.
- Снять декоративную крышку. См. Раздел 1B, "Механическая система двигателя - 2.0 Дизель".
- Отсоединить впускной/выпускной шланги электромагнитного клапана вакуума рециркуляции отработавших газов.
- Отсоединить разъем электромагнитного клапана вакуума рециркуляции отработавших газов.
- Снять электромагнитный клапан вакуума рециркуляции отработавших газов.
Затянуть
Затянуть болты крепления электромагнитного клапана вакуума рециркуляции отработавших газов до 7 Н•м (62 фунт-дюймов).



Вакуумная коробка системы рециркуляции отработавших газов
Порядок снятия/установки
- Отсоедините отрицательный кабель аккумулятора.
- Снять декоративную крышку. См. Раздел 1B, "Механическая система двигателя - 2.0 Дизель".
- Отсоединить вакуумные впускной и выпускной шланги от вакуумной коробки.
- Снять вакуумную коробку системы рециркуляции выхлопных газов с кронштейна генератора.
Затянуть
Затянуть гайки крепления вакуумной коробки системы рециркуляции отработавших газов до 10 Н•м (88,5 фунт-дюйма).



Охладитель и клапан системы рециркуляции отработавших газов
Порядок снятия/установки
Внимание! Необходимо убедиться в том, что все компоненты остыли. Затем выполнить работу.
- Отсоедините отрицательный кабель аккумулятора.
- Снять декоративную крышку. См. Раздел 1B, "Механическая система двигателя - 2.0 Дизель".
- Снять воздушный фильтр в сборе. См. Раздел 1B, "Механическая система двигателя - 2.0 Дизель".



- Слейте охлаждающую жидкость двигателя. См. раздел 1D2, "Охлаждение двигателя - дизель 2.0".
- Отсоединить жгут проводов двигателя от кронштейна.
- Снять кронштейн жгута проводов двигателя.



- Отсоединить впускной и выпускной шланги охлаждения от охладителя системы рециркуляции отработавших газов.
- Снять охладитель рециркуляции отработавших газов.
- Снимите клапан рециркуляции отработавших газов.



Процедура установки
- Установите электрический клапан рециркуляции отработавших газов.
Затянуть
Затянуть болты клапана системы рециркуляции отработавших газов до 20 Н•м (14,8 фунт-фута).
- Установить охладитель рециркуляции отработавших газов.
Затянуть
- Затянуть болт крепления охладителя рециркуляции отработавших газов до 20 Н•м (14,8 фунт-фута).
- Затянуть болты охладителя системы рециркуляции отработавших газов до 20 Н•м (14,8 фунт-фута).



- Установить кронштейн жгута проводов двигателя.
Затянуть
Затянуть крепежные гайки кронштейна жгута проводов двигателя до 20 Н•м (14,8 фунт-фута).



Турбонагнетатель
Порядок снятия/установки
Внимание! Необходимо убедиться в том, что все компоненты остыли. Затем выполнить работу.
- Отсоедините отрицательный кабель аккумулятора.
- Снять декоративную крышку. См. Раздел 1B, "Механическая система двигателя - 2.0 Дизель".
- Снять шланги и воздуховоды системы нагнетаемого воздуха. См. Раздел 1B, "Механическая система двигателя - 2.0 Дизель".



- Снять клапан принудительной вентиляции картера (PCV) и переходник. См. Раздел 1B, "Механическая система двигателя - 2.0 Дизель".
- Снять предварительный каталитический нейтрализатор См. раздел 1G2, "Система выпуска отработавших газов - дизель 2.0".



- Отсоединить разъем привода турбокомпрессора.
- Снять трубку подачи масла в подшипник крыльчатки турбонагнетателя.
- Отсоединить шланг выпуска масла из подшипника крыльчатки турбонагнетателя.
- Снять турбонагнетатель.



Процедура установки
- Установить турбонагнетатель на выпускной коллектор.
- Установить трубку подачи масла в подшипник крыльчатки турбонагнетателя.
- Подсоединить шланг выпуска масла из подшипника крыльчатки турбонагнетателя.
Затянуть
- Затянуть стяжные гайки турбонагнетателя до 34 Н•м (25,1 фунт-фута).
- Затянуть болты трубки подачи масла в подшипник крыльчатки турбонагнетателя до 23 Н•м (17 фунт-футов).



Свеча накаливания
Процедура снятия
Внимание! Необходимо убедиться в том, что все компоненты остыли. Затем выполнить работу.
- Отсоедините отрицательный кабель аккумулятора.
- Снять декоративную крышку. См. Раздел 1B, "Механическая система двигателя - 2.0 Дизель".
- Снять шланги и воздуховоды системы нагнетаемого воздуха. См. Раздел 1B, "Механическая система двигателя - 2.0 Дизель".



- Снять клапан принудительной вентиляции картера (PCV) и переходник. См. Раздел 1B, "Механическая система двигателя - 2.0 Дизель".
- Снять теплозащитный экран свечи накаливания.



- Отсоединить жгут проводов свечей накаливания.



- Извлечь свечу накаливания.
Примечание: Если необходимо извлечь свечи накаливания № 3 и № 4, сначала надо снять турбонагнетатель.



Процедура установки
- Установить свечу накаливания.
Затянуть
Затянуть свечу накаливания до 9 Н•м (79,7 фунт-дюйма).



- Установить теплозащитный экран свечи накаливания.
Затянуть
- Затянуть болт теплозащитного экрана свечи накаливания до 20 Н•м (14,8 фунт-фута).
- Затянуть гайку теплозащитного экрана свечи накаливания (крепежную гайку кронштейна подъема двигателя) до 28 Н•м (20,6 фунт-фута).



Датчик температуры отработавшего газа (EGT) 1
Порядок снятия/установки
Внимание! Необходимо убедиться в том, что все компоненты остыли. Затем выполнить работу.
- Отсоедините отрицательный кабель аккумулятора.
- Отсоединить разъем датчика температуры отработавшего газа (EGT) 1.
- Снять датчик температуры отработавшего газа (EGT) 1 с приемной трубы глушителя.
Затянуть
Затянуть датчик температуры отработавшего газа (EGT) 1 до 45 Н•м (33,2 фунт-фута).



Датчик температуры отработавшего газа (EGT) 2
Порядок снятия/установки
Внимание! Необходимо убедиться в том, что все компоненты остыли. Затем выполнить работу.
- Отсоедините отрицательный кабель аккумулятора.
- Отсоединить разъем датчика температуры отработавшего газа (EGT) 2.
- Снять датчик температуры отработавшего газа (EGT) 2 с сажевого фильтра дизельного двигателя (DPF).
Затянуть
Затянуть датчик температуры отработавшего газа (EGT) 2 до 45 Н•м (33,2 фунт-фута).



Датчик давления сажевого фильтра дизельного двигателя (DPF)
Порядок снятия/установки
- Отсоедините отрицательный кабель аккумулятора.
- Отсоединить разъем датчика давления сажевого фильтра дизельного двигателя (DPF).
- Отвернуть болт кронштейна датчика давления сажевого фильтра дизельного двигателя (DPF).
Затянуть
Затянуть болт кронштейна датчика давления сажевого фильтра дизельного двигателя (DPF) до 10 Н•м (88,5 фунт-дюйма).



Сажевый фильтр дизельного двигателя (DPF)
Порядок снятия/установки
Внимание! Необходимо убедиться в том, что все компоненты остыли. Затем выполнить работу.
- Отсоедините отрицательный кабель аккумулятора.
- Отсоединить разъем датчика температуры отработавшего газа (EGT) 2.
- Отсоединить шланги высокого давления сажевого фильтра дизельного двигателя (DPF).
- Снять сажевый фильтр дизельного двигателя (DPF) в сборе.
Затянуть
Затянуть крепежные гайки сажевого фильтра дизельного двигателя (DPF) до 30 Н•м (22,1 фунт-фута).
- При замене сажевого фильтра дизельного двигателя (DPF) сбросить значения ЭСППЗУ сажевого фильтра дизельного двигателя (DPF), используя диагностический прибор.
Порядок восстановления
Внимание! Во время восстановления сажевого фильтра дизельного двигателя (DPF) система выпуска отработавшего газа очень сильно нагревается. Во избежание пожара или повреждения поднять автомобиль на подъемнике и создать вокруг системы выпуска отработавшего газа зону недоступности.
- Прогреть двигатель.
- Выполнить регенерацию сажевого фильтра дизельного двигателя (DPF), используя диагностический прибор. См. Сервисная регенерация сажевого фильтра дизельного двигателя (DPF)" в этом разделе.



Контроллер ЭСУД
Порядок снятия/установки
- Снимите аккумуляторную батарею. См. раздел 1E2, "Электрическая часть двигателя - дизель 2.0".
- Отсоединить разъемы контроллера ЭСУД.
- Снять контроллер ЭСУД с аккумуляторной полки.
Затянуть
Затянуть крепежные болты кронштейна контроллера ЭСУД с моментом 12 Н•м (106,2 фунт-дюйма).