Код P1715
Неправильное передаточное число 1-й передачи (Клапан переключения SS5: ВЫКЛ, электромагнитный клапан-регулятор давления блокировки муфты гидротрансформатора (SLU): ВЫКЛ)
Условия действия DTC
- Избиратель режима в режиме повышения и понижения.
- Скорость вторичного вала составляет 500-1260 об/мин.
- Истекшее время после перехода к положению переключения передач (диапазон 2) составляет 2 секунды.
- После управления переключением передач прошло 0,5 секунды.
- Дроссельная заслонка открыта на 0 %.
- Температура рабочей жидкости КПП 20°C (68°Ф) или выше.
- Частота вращения коленчатого вала составляет более 400 об/мин.
- Напряжение в бортовой сети 10,5 вольт или выше.
- Отсутствует переключение передач
- Отсутствует переключение N-D
- Не обнаружено неисправностей датчика скорости вторичного вала, датчика скорости первичного вала, положения избирателя, электромагнитного клапана переключения передач, проскальзывания блокировки, линейного электромагнитного клапана, частоты вращения коленчатого вала, крутящего момента двигателя, дроссельной заслонки, датчика температуры рабочей жидкости КПП
Условия занесения кода неисправности
- Текущей передачей является 1-я передача.
- | 1 - текущее передаточное число 1-й передачи / ожидаемое передаточное число 1-й передачи | больше 20 % от ожидаемого передаточного числа 1-й передачи в течение 12 секунд.
Действия при занесении кода неисправности
- Контроллер КПП отдает команду на включение сигнализатора неисправностей (MIL).
- Контроллер КПП регистрирует рабочее состояние, когда удовлетворяются "Условия занесения кода неисправности". Контроллер КПП сохраняет эту информацию как запись о неисправности.
- Контроллер КПП сохраняет диагностический код неисправности в памяти контроллера КПП.
- Контроллер КПП посылает контроллеру ЭСУД запрос на ограничение крутящего момента двигателя до 150 Н•м (111 фунт-футов).
- Контроллер КПП включает аварийный режим.
Когда включен аварийный режим, имеют место следующие условия: КПП будет работать на 4-й передаче при переключении КПП в диапазон D, M+ или 4-й передачи.
КПП будет работать на 2-й передаче при переключении КПП в диапазон 2-й или M- передачи.
Управление обучением отключено.
Управление блокировкой отключено.
Адаптивное управление отключено.
Переключение N-D отключено.
Условия очистки кода неисправности/выключения индикатора неисправности
- Сигнализатор неисправностей (MIL) отключается, если неисправность не обнаруживается в течение трех последовательных драйв-циклов.
- Очистить код из памяти контроллера можно с помощью диагностического прибора.
- Контроллер КПП стирает диагностический код неисправности из памяти контроллера КПП после сорока последующих нагревательных циклов без неисправностей.
Причина неисправности
- Электромагнитный клапан переключения передач 1, блокировка в выключенном состоянии
- Электромагнитный клапан переключения передач SS2, блокировка во включенном состоянии
- Электромагнитный клапан регулировки давления в линиях гидропривода, блокировка в выключенном состоянии
- Внутренние элементы клапана
- контроллер КПП
Код P1715 - Неправильное передаточное число 1-й передачи (Клапан переключения SS5 : ВЫКЛ, электромагнитный клапан-регулятор давления блокировки муфты гидротрансформатора (SLU): ВЫКЛ)
| Шаг | Операция | Значения | Да | Нет |
| 1 | - Выключить зажигание.
- Подключить диагностический прибор.
- Двигатель остановлен. Перевести замок зажигания в положение ON.
- В меню "Diagnostic Trouble Codes Information" ("Информация о кодах") диагностического прибора выбрать команду "Store Freeze Frame/Failure Records" ("Стоп-кадр/Записи о неисправности").
- Сохранить данные стоп-кадра/записи о неисправности.
- В меню "Diagnostic Trouble Codes Information" ("Информация о кодах") выбрать команду "Clear DTC Information" ("Очистить информацию о кодах").
- Очистить информацию о кодах.
- Выполнить один драйв-цикл.
Сигнализатор неисправности горит? | - | Перейти к Шагу 2 | |
| 2 | - В меню "Diagnostic Trouble Codes Information" ("Информация о кодах") выбрать команду "Request DTC by Status" ("Запрос кодов по состоянию").
- Выполнить запрос кодов по состоянию.
Отображается ли код P1715? | - | Перейти к Шагу 3 | |
| 3 | - Выключить зажигание.
- Заменить основной контроллер КПП и снова провести испытание с воспроизведением условий возникновения неисправности.
Код P1715 снова отображается? | - | Перейти к Шагу 4 | Заменить контроллер КПП. |
| 4 | - Проверить наличие неисправности электромагнитного клапана переключения передач SS1, электромагнитного клапана переключения передач SS2, электромагнитного клапана регулировки давления в линиях гидропривода или внутренних элементов блока клапанов.
- Проверить исправность клапанов переключения передач SS1 или SS2. См. "Проверка состояния агрегата" в этом разделе.
Клапаны переключения передач SS1 и SS2 исправны? | - | Заменить клапан в сборе. | Заменить электромагнитный клапан переключения передач SS1 или электромагнитный клапан переключения передач SS2. |
Код P1719
Обнаружено неправильное переключение
Условия действия DTC
- Аварийный режим отключен.
- Не обнаружено неисправностей датчика скорости вторичного вала, частоты вращения коленчатого вала, крутящего момента двигателя, датчика температуры рабочей жидкости КПП.
Условия занесения кода неисправности
- Положение переключения передач - D, M, 2.
- Температура рабочей жидкости КПП 60°C (140°Ф) или выше.
- Контроллер КПП отдает команду на одно переключение передач, и 5 раз имеет место следующее:
Задержка движения
Краткий заброс оборотов
Длительное переключение
Быстрое переключение
Действия при занесении кода неисправности
- Контроллер КПП отдает команду на включение сигнализатора неисправностей (MIL).
- Контроллер КПП регистрирует рабочее состояние, когда удовлетворяются "Условия занесения кода неисправности". Контроллер КПП сохраняет эту информацию как запись о неисправности.
- Контроллер КПП сохраняет диагностический код неисправности в памяти контроллера КПП.
- Контроллер КПП посылает контроллеру ЭСУД запрос на ограничение крутящего момента двигателя до 150 Н•м (111 фунт-футов).
- Контроллер КПП включает аварийный режим.
Когда включен аварийный режим, имеют место следующие условия: КПП будет работать на 4-й передаче при переключении КПП в диапазон D, M+ или 4-й передачи.
КПП будет работать на 2-й передаче при переключении КПП в диапазон 2-й или M- передачи.
Управление обучением отключено.
Управление блокировкой отключено.
Адаптивное управление отключено.
Переключение N-D отключено.
Условия очистки кода неисправности/выключения индикатора неисправности
- Сигнализатор неисправностей (MIL) отключается, если неисправность не обнаруживается в течение трех последовательных драйв-циклов.
- Очистить код из памяти контроллера можно с помощью диагностического прибора.
- Контроллер КПП стирает диагностический код неисправности из памяти контроллера КПП после сорока последующих нагревательных циклов без неисправностей.
Причина неисправности
- Электромагнитный клапан переключения передач SS4, неисправность выключения
- Электромагнитный клапан переключения передач SS5, неисправность выключения
- Электромагнитный клапан регулировки давления в линиях гидропривода, неисправность включения/выключения
- Электромагнитный клапан регулировки давления переключения передач, неисправность включения/выключения
- Электромагнитный клапан-регулятор давления блокировки муфты гидротрансформатора, неисправность включения/выключения
- Внутренние элементы клапана
- контроллер КПП
Код P1719 - Обнаружено неправильное переключение
| Шаг | Операция | Значения | Да | Нет |
| 1 | - Выключить зажигание.
- Подключить диагностический прибор.
- Двигатель остановлен. Перевести замок зажигания в положение ON.
- В меню "Diagnostic Trouble Codes Information" ("Информация о кодах") диагностического прибора выбрать команду "Store Freeze Frame/Failure Records" ("Стоп-кадр/Записи о неисправности").
- Сохранить данные стоп-кадра/записи о неисправности.
- В меню "Diagnostic Trouble Codes Information" ("Информация о кодах") выбрать команду "Clear DTC Information" ("Очистить информацию о кодах").
- Очистить информацию о кодах.
- Выполнить один драйв-цикл.
Сигнализатор неисправности горит? | - | Перейти к Шагу 2 | |
| 2 | - В меню "Diagnostic Trouble Codes Information" ("Информация о кодах") выбрать команду "Request DTC by Status" ("Запрос кодов по состоянию").
- Выполнить запрос кодов по состоянию.
Отображается ли код P1719? | - | Перейти к Шагу 3 | |
| 3 | - Выключить зажигание.
- Заменить основной контроллер КПП и снова провести испытание с воспроизведением условий возникновения неисправности.
Код P1719 снова отображается? | - | Перейти к Шагу 4 | Заменить контроллер КПП. |
| 4 | - Проверить наличие неисправности электромагнитного клапана переключения передач SS4, электромагнитного клапана переключения передач SS5, электромагнитного клапана регулировки давления в линиях гидропривода, электромагнитного клапана регулировки давления переключения передач, электромагнитного клапана-регулятора давления блокировки муфты гидротрансформатора или внутренних элементов блока клапанов.
- Проверить исправность клапанов переключения передач SS4 или SS5. См. "Проверка состояния агрегата" в этом разделе.
Электромагнитные клапаны исправны? | - | Заменить клапан в сборе. | Заменить клапан переключения передач SS4 или SS5. |



Код P2757
Блокировка в выключенном состоянии электромагнитного клапана-регулятора давления блокировки муфты гидротрансформатора
Условия действия DTC
- Дроссельная заслонка открыта на 10 % или больше.
- Положение переключения передач - диапазон D, M, 2.
- После управления переключением передач прошло 0,5 секунды.
- Частота оборотов коленчатого вала составляет 4000 об/мин или ниже.
- Отсутствует переключение передач.
- Напряжение бортовой сети боле 10,5 В.
- Опорный ток электромагнитного клапана регулировки давления муфты гидротрансформатора составляет 1 A или выше.
- Блокировка включена.
- Аварийный режим отключен.
- Не обнаружено неисправностей датчика скорости вторичного вала, датчика скорости первичного вала, положения избирателя, электромагнитного клапана переключения передач, линейного электромагнитного клапана, выключения шины CAN, частоты вращения коленчатого вала, крутящего момента двигателя, дроссельной заслонки, датчика температуры рабочей жидкости КПП
Условия занесения кода неисправности
- (Частота вращения коленчатого вала - скорость первичного вала) превышает 100 об/мин в течение 12 секунд.
Действия при занесении кода неисправности
- Контроллер КПП отдает команду на включение сигнализатора неисправностей (MIL).
- Контроллер КПП регистрирует рабочее состояние, когда удовлетворяются "Условия занесения кода неисправности". Контроллер КПП сохраняет эту информацию как запись о неисправности.
- Контроллер КПП сохраняет диагностический код неисправности в памяти контроллера КПП.
- Контроллер КПП включает аварийный режим.
Когда включен аварийный режим, имеют место следующие условия: КПП будет работать на 4-й передаче при переключении КПП в диапазон D или M+.
КПП будет работать на 2-й передаче при переключении КПП в диапазон 2-й или M- передачи.
Управление обучением отключено.
Управление блокировкой отключено.
Адаптивное управление отключено.
Переключение N-D отключено.
Условия очистки кода неисправности/выключения индикатора неисправности
- Сигнализатор неисправностей (MIL) отключается, если неисправность не обнаруживается в течение трех последовательных драйв-циклов.
- Очистить код из памяти контроллера можно с помощью диагностического прибора.
- Контроллер КПП стирает диагностический код неисправности из памяти контроллера КПП после сорока последующих нагревательных циклов без неисправностей.
Причина неисправности
- Электромагнитный клапан переключения передач SS4, блокировка в выключенном состоянии
- Электромагнитный клапан-регулятор давления блокировки муфты гидротрансформатора, блокировка во включенном/выключенном состоянии
- Неисправность блокировочной муфты
- Внутренние элементы клапана
- контроллер КПП
Код P2757 - Блокировка в выключенном состоянии электромагнитного клапана-регулятора давления блокировки муфты гидротрансформатора
| Шаг | Операция | Значения | Да | Нет |
| 1 | - Выключить зажигание.
- Подключить диагностический прибор.
- Двигатель остановлен. Перевести замок зажигания в положение ON.
- В меню "Diagnostic Trouble Codes Information" ("Информация о кодах") диагностического прибора выбрать команду "Store Freeze Frame/Failure Records" ("Стоп-кадр/Записи о неисправности").
- Сохранить данные стоп-кадра/записи о неисправности.
- В меню "Diagnostic Trouble Codes Information" ("Информация о кодах") выбрать команду "Clear DTC Information" ("Очистить информацию о кодах").
- Очистить информацию о кодах.
- Выполнить один драйв-цикл.
Сигнализатор неисправности горит? | - | Перейти к Шагу 2 | |
| 2 | - В меню "Diagnostic Trouble Codes Information" ("Информация о кодах") выбрать команду "Request DTC by Status" ("Запрос кодов по состоянию").
- Выполнить запрос кодов по состоянию.
Отображается ли код P2757? | - | Перейти к Шагу 3 | |
| 3 | - Выключить зажигание.
- Заменить основной контроллер КПП и снова провести испытание с воспроизведением условий возникновения неисправности.
Код P2757 снова отображается? | - | Перейти к Шагу 4 | Заменить контроллер КПП. |
| 4 | - Проверить наличие неисправности электромагнитного клапана переключения передач SS4, электромагнитного клапана-регулятора давления блокировки муфты гидротрансформатора, блокировочной муфты или электромагнитного клапана переключения передач SS4.
- Проверить исправность клапана переключения передач SS4. См. "Проверка состояния агрегата" в этом разделе.
Электромагнитный клапан исправен? | - | Перейти к Шагу 5 | Заменить клапан переключения передач SS4. |
| 5 | - Проверить наличие неисправности электромагнитного клапана-регулятора давления блокировки муфты гидротрансформатора или внутренних элементов блока клапанов.
Неисправность обнаружена? | - | Заменить клапан в сборе. | Устранить неисправность или заменить коробку передач с главной передачей в сборе. |



Код P2758
Блокировка во включенном состоянии электромагнитного клапана-регулятора давления блокировки муфты гидротрансформатора
Условия действия DTC
- Крутящий момент двигателя 44 -240 Н•м.
- Скорость первичного вала составляет 3000 об/мин или ниже
- После перехода к положению переключения передач (D, M, 2) прошло 8,0 секунд.
- Прошло 3 минуты после включения зажигания или сброса контроллера КПП.
- После управления переключением передач прошло 0,5 секунды.
- Температура рабочей жидкости КПП 20°C (68°Ф).
- Положение переключения передач - диапазон D, M, 2.
- Частота оборотов коленчатого вала составляет 400 об/мин или выше.
- Напряжение в бортовой сети 10,5 вольт или выше.
- Отсутствует переключение передач.
- Аварийный режим отключен.
- Не обнаружено неисправностей датчика скорости вторичного вала, датчика скорости первичного вала, положения избирателя, электромагнитного клапана переключения передач, линейного электромагнитного клапана, выключения шины CAN, частоты вращения коленчатого вала, крутящего момента двигателя, дроссельной заслонки, датчика температуры рабочей жидкости КПП
Условия занесения кода неисправности
- (Частота вращения коленчатого вала - скорость первичного вала) составляет от -50 до 50 об/мин в течение 12 секунд.
Действия при занесении кода неисправности
- Контроллер КПП отдает команду на включение сигнализатора неисправностей (MIL).
- Контроллер КПП регистрирует рабочее состояние, когда удовлетворяются "Условия занесения кода неисправности". Контроллер КПП сохраняет эту информацию как запись о неисправности.
- Контроллер КПП сохраняет диагностический код неисправности в памяти контроллера КПП.
- Контроллер КПП включает аварийный режим.
Когда включен аварийный режим, имеют место следующие условия: КПП будет работать на 4-й передаче при переключении КПП в диапазон D или M+.
КПП будет работать на 2-й передаче при переключении КПП в диапазон 2-й или M- передачи.
Управление обучением отключено.
Управление блокировкой отключено.
Адаптивное управление отключено.
Переключение N-D отключено.
Условия очистки кода неисправности/выключения индикатора неисправности
- Сигнализатор неисправностей (MIL) отключается, если неисправность не обнаруживается в течение трех последовательных драйв-циклов.
- Очистить код из памяти контроллера можно с помощью диагностического прибора.
- Контроллер КПП стирает диагностический код неисправности из памяти контроллера КПП после сорока последующих нагревательных циклов без неисправностей.
Причина неисправности
- Электромагнитный клапан переключения передач SS4, блокировка во включенном состоянии
- Электромагнитный клапан-регулятор давления блокировки муфты гидротрансформатора, блокировка во включенном состоянии
- Неисправность блокировочной муфты
- Внутренние элементы клапана
- контроллер КПП
Код P2758 - Блокировка во включенном состоянии электромагнитного клапана-регулятора давления блокировки муфты гидротрансформатора
| Шаг | Операция | Значения | Да | Нет |
| 1 | - Выключить зажигание.
- Подключить диагностический прибор.
- Двигатель остановлен. Перевести замок зажигания в положение ON.
- В меню "Diagnostic Trouble Codes Information" ("Информация о кодах") диагностического прибора выбрать команду "Store Freeze Frame/Failure Records" ("Стоп-кадр/Записи о неисправности").
- Сохранить данные стоп-кадра/записи о неисправности.
- В меню "Diagnostic Trouble Codes Information" ("Информация о кодах") выбрать команду "Clear DTC Information" ("Очистить информацию о кодах").
- Очистить информацию о кодах.
- Выполнить один драйв-цикл.
Сигнализатор неисправности горит? | - | Перейти к Шагу 2 | |
| 2 | - В меню "Diagnostic Trouble Codes Information" ("Информация о кодах") выбрать команду "Request DTC by Status" ("Запрос кодов по состоянию").
- Выполнить запрос кодов по состоянию.
Отображается ли код P2758? | - | Перейти к Шагу 3 | |
| 3 | - Выключить зажигание.
- Заменить основной контроллер КПП и снова провести испытание с воспроизведением условий возникновения неисправности.
Код P2758 снова отображается? | - | Перейти к Шагу 4 | Заменить контроллер КПП. |
| 4 | - Проверить наличие неисправности электромагнитного клапана переключения передач SS4, электромагнитного клапана-регулятора давления блокировки муфты гидротрансформатора, блокировочной муфты или электромагнитного клапана переключения передач SS4.
- Проверить исправность клапана переключения передач SS4. См. "Проверка состояния агрегата" в этом разделе.
Электромагнитный клапан исправен? | - | Перейти к Шагу 5 | Заменить клапан переключения передач SS4. |
| 5 | - Проверить наличие неисправности электромагнитного клапана-регулятора давления блокировки муфты гидротрансформатора или внутренних элементов блока клапанов.
Неисправность обнаружена? | - | Заменить клапан в сборе. | Устранить неисправность или заменить коробку передач с главной передачей в сборе. |



Код P2763
Высокое напряжение цепи управления электромагнитным клапаном-регулятором давления блокировки муфты гидротрансформатора
Условия действия DTC
- Аварийный режим отключен.
- Напряжение в бортовой сети 10,2 - 15,5 вольт.
Условия занесения кода неисправности
- Ток в цепи обратной связи электромагнитного клапана-регулятора давления блокировки муфты гидротрансформатора больше 1,356 А в течение 2 секунд.
- Цепь обратной связи электромагнитного клапана-регулятора давления блокировки муфты гидротрансформатора сигнализирует о постоянном замыкании на напряжение в течение 2 секунд.
Действия при занесении кода неисправности
- Контроллер КПП отдает команду на включение сигнализатора неисправностей (MIL).
- Контроллер КПП регистрирует рабочее состояние, когда удовлетворяются "Условия занесения кода неисправности". Контроллер КПП сохраняет эту информацию как запись о неисправности.
- Контроллер КПП сохраняет диагностический код неисправности в памяти контроллера КПП.
- Контроллер КПП включает аварийный режим.
Когда включен аварийный режим, имеют место следующие условия: КПП будет работать на 4-й передаче при переключении КПП в диапазон D или M+.
КПП будет работать на 2-й передаче при переключении КПП в диапазон 2-й или M- передачи.
Управление обучением отключено.
Управление блокировкой отключено.
Адаптивное управление отключено.
Переключение N-D отключено.
Условия очистки кода неисправности/выключения индикатора неисправности
- Сигнализатор неисправностей (MIL) отключается, если неисправность не обнаруживается в течение трех последовательных драйв-циклов.
- Очистить код из памяти контроллера можно с помощью диагностического прибора.
- Контроллер КПП стирает диагностический код неисправности из памяти контроллера КПП после сорока последующих нагревательных циклов без неисправностей.
Причина неисправности
- Электрический разъем или жгут между электромагнитным клапаном-регулятором давления блокировки муфты гидротрансформатора и контроллером КПП
- Электромагнитный клапан-регулятор давления блокировки муфты гидротрансформатора
- контроллер КПП
Код P2763 - Высокое напряжение цепи управления электромагнитным клапаном-регулятором давления блокировки муфты гидротрансформатора
| Шаг | Операция | Значения | Да | Нет |
| 1 | - Выключить зажигание.
- Подключить диагностический прибор.
- Двигатель остановлен. Перевести замок зажигания в положение ON.
- В меню "Diagnostic Trouble Codes Information" ("Информация о кодах") диагностического прибора выбрать команду "Store Freeze Frame/Failure Records" ("Стоп-кадр/Записи о неисправности").
- Сохранить данные стоп-кадра/записи о неисправности.
- В меню "Diagnostic Trouble Codes Information" ("Информация о кодах") выбрать команду "Clear DTC Information" ("Очистить информацию о кодах").
- Очистить информацию о кодах.
- Выполнить один драйв-цикл.
Сигнализатор неисправности горит? | - | Перейти к Шагу 2 | |
| 2 | - В меню "Diagnostic Trouble Codes Information" ("Информация о кодах") выбрать команду "Request DTC by Status" ("Запрос кодов по состоянию").
- Выполнить запрос кодов по состоянию.
Отображается ли код P2763? | - | Перейти к Шагу 3 | |
| 3 | - Выключить зажигание.
- Проверить сопротивление между жгутом автомобиля и электромагнитным клапаном-регулятором давления блокировки муфты гидротрансформатора. См. "Проверка состояния агрегата" в этом разделе.
- Отсоединить разъем контроллера КПП (X-1) и проверить сопротивление между контактами A5 и A3.
Результат измерения находится в указанном диапазоне? | 20°С (68°Ф): 5,0-5,6 кОм | Перейти к Шагу 4 | Перейти к Шагу 5 |
| 4 | - Проверить наличие неисправности между колодкой жгута автомобиля и контроллером КПП.
- Проверить колодки разъема. См. "Проверка жгутов и электрических разъемов" в этом разделе.
- Проверить надежность соединения колодок разъема (C-1).
Соединение исправно? | - | Перейти к Шагу 6 | Устранить неисправность колодок жгута. |
| 5 | - Проверить наличие неисправности между жгутом автомобиля и электромагнитным клапаном-регулятором давления блокировки муфты гидротрансформатора.
- Отсоединить разъем провода КПП (X-3) и проверить сопротивление между контактами 10 и 3 разъема электромагнитного клапана-регулятора давления блокировки муфты гидротрансформатора.
Результат измерения находится в указанном диапазоне? | 20°С (68°Ф): 5,0-5,6 кОм | Перейти к Шагу 7 | Перейти к Шагу 8 |
| 6 | - Заменить основной контроллер КПП.
- После устранения кодов провести испытание с воспроизведением условий возникновения неисправности.
Отображается ли код неисправности? | - | | Заменить контроллер КПП. |
| 7 | - Проверить наличие неисправности жгута автомобиля или разъемов.
- Проверить жгуты проводов автомобиля на наличие разрывов или замыканий. Проверить соединение между разъемами (C-3). См. "Проверка жгутов проводов и разъемов" в этом разделе.
Все исправно? | - | | Заменить жгут или отрегулировать разъемы. |
| 8 | - Проверить наличие неисправности провода КПП или между разъемами электромагнитного клапана-регулятора давления блокировки муфты гидротрансформатора.
- Проверить исправность электромагнитного клапана-регулятора давления блокировки муфты гидротрансформатора. См. "Проверка состояния агрегата" в этом разделе.
Неисправность обнаружена? | - | Заменить блок клапанов в сборе. (Отдельная замена электромагнитного клапана-регулятора давления блокировки муфты гидротрансформатора не допускается) | Перейти к Шагу 9 |
| 9 | - Проверить наличие неисправности жгута КПП.
- Проверить провод КПП на наличие разрывов или замыканий. Проверить соединение между разъемами (C-5). См. "Проверка жгутов и разъемов" в этом разделе.
Все исправно? | - | | Заменить провод КПП или отрегулировать разъемы. |



Код P2764
Низкое напряжение цепи управления электромагнитным клапаном-регулятором давления блокировки муфты гидротрансформатора
Условия действия DTC
- Аварийный режим отключен.
- Напряжение в бортовой сети 10,2 - 15,5 вольт.
Условия занесения кода неисправности
- Ток в цепи обратной связи электромагнитного клапана-регулятора давления блокировки муфты гидротрансформатора меньше 0,092 А в течение 12,5 секунд.
- Ток в цепи обратной связи электромагнитного клапана-регулятора давления блокировки муфты гидротрансформатора сигнализирует о постоянном обрыве или замыкании на землю в течение 12,5 секунд.
Действия при занесении кода неисправности
- Контроллер КПП отдает команду на включение сигнализатора неисправностей (MIL).
- Контроллер КПП регистрирует рабочее состояние, когда удовлетворяются "Условия занесения кода неисправности". Контроллер КПП сохраняет эту информацию как запись о неисправности.
- Контроллер КПП сохраняет диагностический код неисправности в памяти контроллера КПП.
- Контроллер КПП включает аварийный режим.
Когда включен аварийный режим, имеют место следующие условия: КПП будет работать на 4-й передаче при переключении КПП в диапазон D или M+.
КПП будет работать на 2-й передаче при переключении КПП в диапазон 2-й или M- передачи.
Управление обучением отключено.
Управление блокировкой отключено.
Адаптивное управление отключено.
Переключение N-D отключено.
Условия очистки кода неисправности/выключения индикатора неисправности
- Сигнализатор неисправностей (MIL) отключается, если неисправность не обнаруживается в течение трех последовательных драйв-циклов.
- Очистить код из памяти контроллера можно с помощью диагностического прибора.
- Контроллер КПП стирает диагностический код неисправности из памяти контроллера КПП после сорока последующих нагревательных циклов без неисправностей.
Причина неисправности
- Электрический разъем или жгут между электромагнитным клапаном-регулятором давления блокировки муфты гидротрансформатора и контроллером КПП
- Электромагнитный клапан-регулятор давления блокировки муфты гидротрансформатора
- контроллер КПП
Код P2764 - Низкое напряжение цепи управления электромагнитным клапаном-регулятором давления блокировки муфты гидротрансформатора
| Шаг | Операция | Значения | Да | Нет |
| 1 | - Выключить зажигание.
- Подключить диагностический прибор.
- Двигатель остановлен. Перевести замок зажигания в положение ON.
- В меню "Diagnostic Trouble Codes Information" ("Информация о кодах") диагностического прибора выбрать команду "Store Freeze Frame/Failure Records" ("Стоп-кадр/Записи о неисправности").
- Сохранить данные стоп-кадра/записи о неисправности.
- В меню "Diagnostic Trouble Codes Information" ("Информация о кодах") выбрать команду "Clear DTC Information" ("Очистить информацию о кодах").
- Очистить информацию о кодах.
- Выполнить один драйв-цикл.
Сигнализатор неисправности горит? | - | Перейти к Шагу 2 | |
| 2 | - В меню "Diagnostic Trouble Codes Information" ("Информация о кодах") выбрать команду "Request DTC by Status" ("Запрос кодов по состоянию").
- Выполнить запрос кодов по состоянию.
Отображается ли код P2764? | - | Перейти к Шагу 3 | |
| 3 | - Выключить зажигание.
- Проверить сопротивление между жгутом автомобиля и электромагнитным клапаном-регулятором давления блокировки муфты гидротрансформатора. См. "Проверка состояния агрегата" в этом разделе.
- Отсоединить разъем контроллера КПП (X-1) и проверить сопротивление между контактами A5 и A3.
Результат измерения находится в указанном диапазоне? | 20°С (68°Ф): 5,0-5,6 кОм | Перейти к Шагу 4 | Перейти к Шагу 5 |
| 4 | - Проверить наличие неисправности между колодкой жгута автомобиля и контроллером КПП.
- Проверить колодки разъема. См. "Проверка жгутов и электрических разъемов" в этом разделе.
- Проверить надежность соединения колодок разъема (C-1).
Соединение исправно? | - | Перейти к Шагу 6 | Устранить неисправность колодок жгута. |
| 5 | - Проверить наличие неисправности между жгутом автомобиля и электромагнитным клапаном-регулятором давления блокировки муфты гидротрансформатора.
- Отсоединить разъем провода КПП (X-3) и проверить сопротивление между контактами 10 и 3 разъема электромагнитного клапана-регулятора давления блокировки муфты гидротрансформатора.
Результат измерения находится в указанном диапазоне? | 20°С (68°Ф): 5,0-5,6 кОм | Перейти к Шагу 7 | Перейти к Шагу 8 |
| 6 | - Заменить основной контроллер КПП.
- После устранения кодов провести испытание с воспроизведением условий возникновения неисправности.
Отображается ли код неисправности? | - | | Заменить контроллер КПП. |
| 7 | - Проверить наличие неисправности жгута автомобиля или разъемов.
- Проверить жгуты проводов автомобиля на наличие разрывов или замыканий. Проверить соединение между разъемами (C-3). См. "Проверка жгутов проводов и разъемов" в этом разделе.
Все исправно? | - | | Заменить жгут или отрегулировать разъемы. |
| 8 | - Проверить наличие неисправности провода КПП или между разъемами электромагнитного клапана-регулятора давления блокировки муфты гидротрансформатора.
- Проверить исправность электромагнитного клапана-регулятора давления блокировки муфты гидротрансформатора. См. "Проверка состояния агрегата" в этом разделе.
Неисправность обнаружена? | - | Заменить блок клапанов в сборе. (Отдельная замена электромагнитного клапана-регулятора давления блокировки муфты гидротрансформатора не допускается) | Перейти к Шагу 9 |
| 9 | - Проверить наличие неисправности жгута КПП.
- Проверить провод КПП на наличие разрывов или замыканий. Проверить соединение между разъемами (C-5). См. "Проверка жгутов и разъемов" в этом разделе.
Все исправно? | - | | Заменить провод КПП или отрегулировать разъемы. |



Диагностический код неисправности (DTC) U0001
Переполнение счетчика отключений шины CAN
Условия действия DTC
- Напряжение в бортовой сети 10,2 - 15,5 вольт.
- Прошло 3 минуты после включения зажигания или сброса контроллера КПП.
Условия занесения кода неисправности
- Прием контроллером КПП из контроллера ЭСУД в течение 28 секунд сигнала о состоянии "ОТКЛЮЧЕНИЕ ШИНЫ".
Действия при занесении кода неисправности
- Контроллер КПП отдает команду на включение сигнализатора неисправностей (MIL).
- Контроллер КПП регистрирует рабочее состояние, когда удовлетворяются "Условия занесения кода неисправности". Контроллер КПП сохраняет эту информацию как запись о неисправности.
- Контроллер КПП сохраняет диагностический код неисправности в памяти контроллера КПП.
- Контроллер КПП посылает контроллеру ЭСУД запрос на ограничение крутящего момента двигателя до 270 Н•м (199 фунт-футов).
- Контроллер КПП включает аварийный режим.
Когда включен аварийный режим, имеют место следующие условия: КПП будет работать на 4-й передаче при переключении КПП в диапазон D или M+.
КПП будет работать на 2-й передаче при переключении КПП в диапазон 2-й или M- передачи.
Управление обучением отключено.
Управление блокировкой отключено.
Адаптивное управление отключено.
Переключение N-D отключено.
Условия очистки кода неисправности/выключения индикатора неисправности
- Сигнализатор неисправностей (MIL) отключается, если неисправность не обнаруживается в течение трех последовательных драйв-циклов.
- Очистить код из памяти контроллера можно с помощью диагностического прибора.
- Контроллер КПП стирает диагностический код неисправности из памяти контроллера КПП после сорока последующих нагревательных циклов без неисправностей.
Причина неисправности
- Электрический разъем или жгут между контроллером КПП и контроллером ЭСУД
- Контроллер ЭСУД
- контроллер КПП
Код U0001 - Переполнение счетчика отключений шины CAN
| Шаг | Операция | Значения | Да | Нет |
| 1 | - Выключить зажигание.
- Подключить диагностический прибор.
- Двигатель остановлен. Перевести замок зажигания в положение ON.
- В меню "Diagnostic Trouble Codes Information" ("Информация о кодах") диагностического прибора выбрать команду "Store Freeze Frame/Failure Records" ("Стоп-кадр/Записи о неисправности").
- Сохранить данные стоп-кадра/записи о неисправности.
- В меню "Diagnostic Trouble Codes Information" ("Информация о кодах") выбрать команду "Clear DTC Information" ("Очистить информацию о кодах").
- Очистить информацию о кодах.
- Выполнить один драйв-цикл.
Сигнализатор неисправности горит? | - | Перейти к Шагу 2 | |
| 2 | - В меню "Diagnostic Trouble Codes Information" ("Информация о кодах") выбрать команду "Request DTC by Status" ("Запрос кодов по состоянию").
- Выполнить запрос кодов по состоянию.
Отображается ли код U0001? | - | Перейти к Шагу 3 | |
| 3 | - Выключить зажигание.
- Отсоединить контроллер ЭСУД (ECM) и контроллер КПП (TCM).
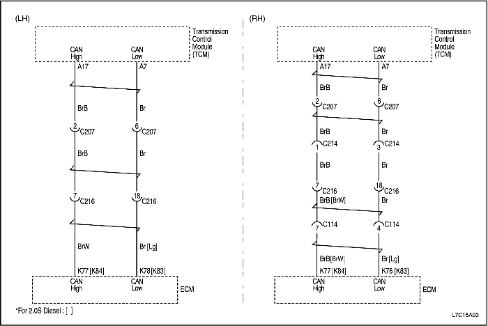
- Проверить наличие обрыва или замыкания на массу в проводе между контактом A17 разъема контроллера TCM и контактом K77[K84] разъема на контроллере ЭСУД.
Неисправность обнаружена? | - | Перейти к Шагу 5 | Перейти к Шагу 4 |
| 4 | Проверить наличие обрыва или замыкания на массу в проводе между контактом A7 разъема контроллера TCM и контактом K78[K83] разъема на контроллере ЭСУД. Неисправность обнаружена? | - | Перейти к Шагу 5 | Перейти к Шагу 6 |
| 5 | - Заменить неэкранированную витую пару между контроллером КПП и контроллером ЭСУД или при необходимости устранить неисправность контакта разъема.
- С помощью диагностического прибора очистить коды неисправностей.
- Запустить двигатель и дать поработать на холостом ходу при нормальной рабочей температуре.
- Дать автомобилю поработать.
Появляется ли на дисплее диагностического прибора сообщение о том, что проверка была выполнена успешно? | - | Перейти к Шагу 8 | Перейти к Шагу 1 |
| 6 | - Заменить контроллер КПП.
- С помощью диагностического прибора очистить коды неисправностей.
- Запустить двигатель и дать поработать на холостом ходу при нормальной рабочей температуре.
- Дать автомобилю поработать.
- После устранения кодов провести испытание с воспроизведением условий возникновения неисправности.
Появляется ли на дисплее диагностического прибора сообщение о том, что проверка была выполнена успешно? | - | Перейти к Шагу 8 | Перейти к Шагу 7 |
| 7 | - Заменить контроллер ЭСУД.
- С помощью диагностического прибора очистить коды неисправностей.
- Запустить двигатель и дать поработать на холостом ходу при нормальной рабочей температуре.
- Дать автомобилю поработать.
- После устранения кодов провести испытание с воспроизведением условий возникновения неисправности.
Появляется ли на дисплее диагностического прибора сообщение о том, что проверка была выполнена успешно? | - | Перейти к Шагу 8 | - |
| 8 | Проверить наличие дополнительных кодов неисправности. Выявлены ли коды неисправностей, которые еще не диагностировались? | - | Перейти к таблице соответствующего кода | Система исправна |



Диагностический код неисправности (DTC) U0100
Нарушение связи с ECM
Условия действия DTC
- Прошло 3 секунды после включения зажигания.
- Аварийный режим отключен.
- Не обнаружена неисправность отключения шины CAN.
Условия занесения кода неисправности
- Контроллер КПП не может обнаружить данные из контроллера ЭСУД в течение 4 секунд.
Действия при занесении кода неисправности
- Контроллер КПП отдает команду на включение сигнализатора неисправностей (MIL).
- Контроллер КПП регистрирует рабочее состояние, когда удовлетворяются "Условия занесения кода неисправности". Контроллер КПП сохраняет эту информацию как запись о неисправности.
- Контроллер КПП сохраняет диагностический код неисправности в памяти контроллера КПП.
- Контроллер КПП посылает контроллеру ЭСУД запрос на ограничение крутящего момента двигателя до 270 Н•м (199 фунт-футов).
- Контроллер КПП включает аварийный режим.
Когда включен аварийный режим, имеют место следующие условия: КПП будет работать на 4-й передаче при переключении КПП в диапазон D или M+.
КПП будет работать на 2-й передаче при переключении КПП в диапазон 2-й или M- передачи.
Управление обучением отключено.
Управление блокировкой отключено.
Адаптивное управление отключено.
Переключение N-D отключено.
Условия очистки кода неисправности/выключения индикатора неисправности
- Сигнализатор неисправностей (MIL) отключается, если неисправность не обнаруживается в течение трех последовательных драйв-циклов.
- Очистить код из памяти контроллера можно с помощью диагностического прибора.
- Контроллер КПП стирает диагностический код неисправности из памяти контроллера КПП после сорока последующих нагревательных циклов без неисправностей.
Причина неисправности
- Электрический разъем или жгут между контроллером КПП и контроллером ЭСУД
- Контроллер ЭСУД
- контроллер КПП
Код U0100 - Нарушение связи с ECM
| Шаг | Операция | Значения | Да | Нет |
| 1 | - Выключить зажигание.
- Подключить диагностический прибор.
- Двигатель остановлен. Перевести замок зажигания в положение ON.
- В меню "Diagnostic Trouble Codes Information" ("Информация о кодах") диагностического прибора выбрать команду "Store Freeze Frame/Failure Records" ("Стоп-кадр/Записи о неисправности").
- Сохранить данные стоп-кадра/записи о неисправности.
- В меню "Diagnostic Trouble Codes Information" ("Информация о кодах") выбрать команду "Clear DTC Information" ("Очистить информацию о кодах").
- Очистить информацию о кодах.
- Выполнить один драйв-цикл.
Сигнализатор неисправности горит? | - | Перейти к Шагу 2 | |
| 2 | - В меню "Diagnostic Trouble Codes Information" ("Информация о кодах") выбрать команду "Request DTC by Status" ("Запрос кодов по состоянию").
- Выполнить запрос кодов по состоянию.
Отображается ли код U0100? | - | Перейти к Шагу 3 | |
| 3 | - Выключить зажигание.
- Отсоединить контроллер ЭСУД (ECM) и контроллер КПП (TCM).
- Проверить наличие обрыва или замыкания на массу в проводе между контактом A17 разъема контроллера TCM и контактом K77[K84] разъема на контроллере ЭСУД.
Неисправность обнаружена? | - | Перейти к Шагу 5 | Перейти к Шагу 4 |
| 4 | Проверить наличие обрыва или замыкания на массу в проводе между контактом A7 разъема контроллера TCM и контактом K78[K83] разъема на контроллере ЭСУД. Неисправность обнаружена? | - | Перейти к Шагу 5 | Перейти к Шагу 6 |
| 5 | - Заменить неэкранированную витую пару между контроллером КПП и контроллером ЭСУД или при необходимости устранить неисправность контакта разъема.
- С помощью диагностического прибора очистить коды неисправностей.
- Запустить двигатель и дать поработать на холостом ходу при нормальной рабочей температуре.
- Дать автомобилю поработать.
Появляется ли на дисплее диагностического прибора сообщение о том, что проверка была выполнена успешно? | - | Перейти к Шагу 8 | Перейти к Шагу 1 |
| 6 | - Заменить контроллер КПП.
- С помощью диагностического прибора очистить коды неисправностей.
- Запустить двигатель и дать поработать на холостом ходу при нормальной рабочей температуре.
- Дать автомобилю поработать.
- После устранения кодов провести испытание с воспроизведением условий возникновения неисправности.
Появляется ли на дисплее диагностического прибора сообщение о том, что проверка была выполнена успешно? | - | Перейти к Шагу 8 | Перейти к Шагу 7 |
| 7 | - Заменить контроллер ЭСУД.
- С помощью диагностического прибора очистить коды неисправностей.
- Запустить двигатель и дать поработать на холостом ходу при нормальной рабочей температуре.
- Дать автомобилю поработать.
- После устранения кодов провести испытание с воспроизведением условий возникновения неисправности.
Появляется ли на дисплее диагностического прибора сообщение о том, что проверка была выполнена успешно? | - | Перейти к Шагу 8 | - |
| 8 | Проверить наличие дополнительных кодов неисправности. Выявлены ли коды неисправностей, которые еще не диагностировались? | - | Перейти к таблице соответствующего кода | Система исправна |



Диагностический код неисправности (DTC) U0401
Прием неправильных данных из ECM
Условия действия DTC
- Прошло 3 секунды после включения зажигания.
- Аварийный режим отключен.
- Отсутствуют коды U0001, U0100.
Условия занесения кода неисправности
- Прием контроллером КПП из контроллера ЭСУД в течение 4 секунд недействительного сигнала о данных контроллера ЭСУД.
Действия при занесении кода неисправности
- Контроллер КПП отдает команду на мигание лампы зимнего режима.
- Контроллер КПП регистрирует рабочее состояние, когда удовлетворяются "Условия занесения кода неисправности". Контроллер КПП сохраняет эту информацию как запись о неисправности.
- Контроллер КПП сохраняет диагностический код неисправности в памяти контроллера КПП.
Условия выключения лампы зимнего режима / стирания кода неисправности
- Контроллер КПП отключает лампу зимнего режима, если неисправность не обнаруживается в течение трех последовательных драйв-циклов.
- Очистить код из памяти контроллера можно с помощью диагностического прибора.
- Контроллер КПП стирает диагностический код неисправности из памяти контроллера КПП после сорока последующих нагревательных циклов без неисправностей.
Причина неисправности
- Электрический разъем или жгут между контроллером КПП и контроллером ЭСУД
- Контроллер ЭСУД
- контроллер КПП
Код U0401 - Прием неправильных данных из ECM
| Шаг | Операция | Значения | Да | Нет |
| 1 | - Выключить зажигание.
- Подключить диагностический прибор.
- Двигатель остановлен. Перевести замок зажигания в положение ON.
- В меню "Diagnostic Trouble Codes Information" ("Информация о кодах") диагностического прибора выбрать команду "Store Freeze Frame/Failure Records" ("Стоп-кадр/Записи о неисправности").
- Сохранить данные стоп-кадра/записи о неисправности.
- В меню "Diagnostic Trouble Codes Information" ("Информация о кодах") выбрать команду "Clear DTC Information" ("Очистить информацию о кодах").
- Очистить информацию о кодах.
- Выполнить один драйв-цикл.
Лампа зимнего режима мигает? | - | Перейти к Шагу 2 | |
| 2 | - В меню "Diagnostic Trouble Codes Information" ("Информация о кодах") выбрать команду "Request DTC by Status" ("Запрос кодов по состоянию").
- Выполнить запрос кодов по состоянию.
Отображается ли код U0401? | - | Перейти к Шагу 3 | |
| 3 | - Выключить зажигание.
- Отсоединить контроллер ЭСУД (ECM) и контроллер КПП (TCM).
- Проверить наличие обрыва или замыкания на массу в проводе между контактом A17 разъема контроллера TCM и контактом K77[K84] разъема на контроллере ЭСУД.
Неисправность обнаружена? | - | Перейти к Шагу 5 | Перейти к Шагу 4 |
| 4 | Проверить наличие обрыва или замыкания на массу в проводе между контактом A7 разъема контроллера TCM и контактом K78[K83] разъема на контроллере ЭСУД. Неисправность обнаружена? | - | Перейти к Шагу 5 | Перейти к Шагу 6 |
| 5 | - Заменить неэкранированную витую пару между контроллером КПП и контроллером ЭСУД или при необходимости устранить неисправность контакта разъема.
- С помощью диагностического прибора очистить коды неисправностей.
- Запустить двигатель и дать поработать на холостом ходу при нормальной рабочей температуре.
- Дать автомобилю поработать.
Появляется ли на дисплее диагностического прибора сообщение о том, что проверка была выполнена успешно? | - | Перейти к Шагу 8 | Перейти к Шагу 1 |
| 6 | - Заменить контроллер КПП.
- С помощью диагностического прибора очистить коды неисправностей.
- Запустить двигатель и дать поработать на холостом ходу при нормальной рабочей температуре.
- Дать автомобилю поработать.
- После устранения кодов провести испытание с воспроизведением условий возникновения неисправности.
Появляется ли на дисплее диагностического прибора сообщение о том, что проверка была выполнена успешно? | - | Перейти к Шагу 8 | Перейти к Шагу 7 |
| 7 | - Заменить контроллер ЭСУД.
- С помощью диагностического прибора очистить коды неисправностей.
- Запустить двигатель и дать поработать на холостом ходу при нормальной рабочей температуре.
- Дать автомобилю поработать.
- После устранения кодов провести испытание с воспроизведением условий возникновения неисправности.
Появляется ли на дисплее диагностического прибора сообщение о том, что проверка была выполнена успешно? | - | Перейти к Шагу 8 | - |
| 8 | Проверить наличие дополнительных кодов неисправности. Выявлены ли коды неисправностей, которые еще не диагностировались? | - | Перейти к таблице соответствующего кода | Система исправна |
 | |  | |